Контактный телефон: +7 (981) 121-46-93, +7 (800) 200-90-76 , Email: parts-katalog@yandex.ru, где купить |
Вернуться к выбору узлов мотора Gear Case, Drive Shaft & Propeller Shaft | |||||||||||||||||||||||||||||||||||||||||||||||||||||||||||||||||||||||||||||||||||||||||||||||||||||||||||||||||||||||||||||||||||||||||||||||||||||||||||||||||||||||||||||||||||||||||||||||||||||||||||||||||||||||||||||||||||||||||||||||||||||||||||||||||||||||||||||||||||||||||||||||||||||||||||||||||||||||||||||||||||||||||||||||||||||||||||||||||||||||||||||||||||||||||||||||||||||||||||||||||||||||||||||||||||||||||||||||||||||||||||||||||||||||||||||||||||||||||||||||||||||||||||||||||||||||||||||||||||||||||||||||||||||||||||||||||||||||||||||||||||||||||||||||||||||||||||||||||||||||||||||||||||||||||||||||||||||||||||||||||||||||||||||||||||||||||||||||||||||||||||||||||||||||||||||||||||||||||||||||||||||||||||||||||||||||||||||||||||||||||||||||||||||||||||||||||||||||||||||||||||||||||||||||||||||||||||||||||||||||||||||||||||||||||||||||||||||||||||||||||||||||||||||||||||||||||||||||||||||||||||||||||||||||||||||||||||||||||||||||||||||||||||||||||||||||||||||||||||||||
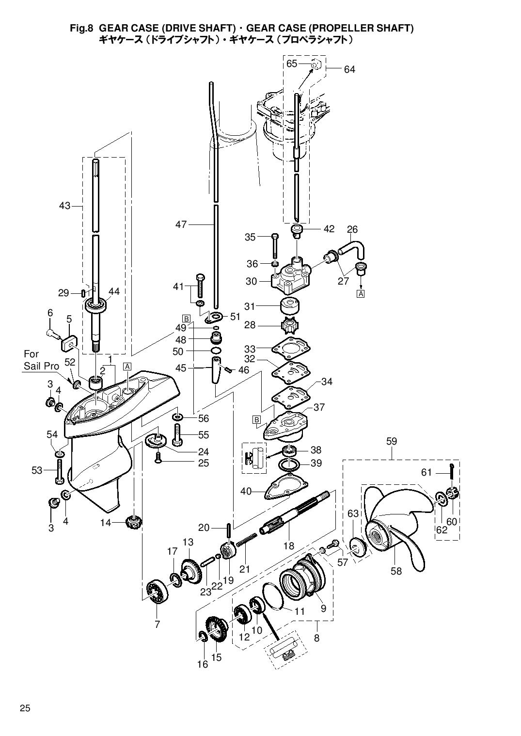
| Номер на рисунке | Артикул | Наименование | QTY | Кол-во на складе | Цена | |
| 01 | 369Q60000-3 | Картер коробки передач в сборе (369q60000-2) (Gear Case Assy (369q60000-2)) | под заказ | 19780 руб. | ||
| 01 | 399Q60000-3 | Картер коробки передач в сборе (Gear Case Assy) | под заказ | 19780 руб. | ||
| 02 | 369-60211-0 | Игольчатый подшипник (Needle Bearing) | 4 шт | 2400 руб. | ||
| 02 | SK369-60211-0 | (не оригинальный аналог) Подшипник ведущего вала редуктора Skipper для Tohatsu/Mercury 5 | 1 шт | 548 руб. | ||
| 03 | 332-60005-2 | Пробка для слива масла Water Заглушка (Oil Plug Water Plug) | 6 шт | 900 руб. | ||
| 03 | 332-60005-3 | (актуальный код замены) Пробка для слива масла - Oil Plug Water Plug | под заказ | 900 руб. | ||
| 04 | 332-60006-0 | Прокладка 8.1-15-1 (Gasket 8.1-15-1) | под заказ | 160 руб. | ||
| 04 | 332-60006-1 | (актуальный код замены) Прокладка 8.1-15-1 - Gasket 8.1-15-1 | под заказ | 240 руб. | ||
| 04 | RTT-332-60006-0 | (не оригинальный аналог) Прокладка RTT-332-60006-0 (уплотнительное кольцо) пробки редуктора | 432 шт | 70 руб. | ||
| 04 | T-332-60006-0 | (не оригинальный аналог) Прокладка (уплотнительное кольцо) пробки редуктора Tohatsu 332-60006-0 | 8 шт | 120 руб. | ||
| 04 | SC-FT658 | (не оригинальный аналог) Прокладка (уплотнительное кольцо) пробки редуктора Tohatsu SC-FT658 | 142 шт | 100 руб. | ||
| 04 | SK332-60006-0_10 | (не оригинальный аналог) Сливная пробка редуктора Skipper для Tohatsu/Mercury Модели техники: 2.5-115, 8.1х15х1.0; комплект 10 шт. | 19 шт | 422 руб. | ||
| 04 | RTT-332-60006-0 | (не оригинальный аналог) Прокладка RTT-332-60006-0 (уплотнительное кольцо) пробки редуктора | 432 шт | 70 руб. | ||
| 05 | 3H6-60218-0 | Анод (Anode) | 7 шт | 650 руб. | ||
| 06 | 910103-0616 | Болт (Bolt) | под заказ | 170 руб. | ||
| 07 | 9601-0-6004 | Шариковый подшипник (Ball Bearing) | 5 шт | 1980 руб. | ||
| 07 | SC-BR467 | (не оригинальный аналог) Подшипник гребного вала Tohatsu / Mercury SC-BR467 | под заказ | по запросу | ||
| 08 | 369Q87323-1 | Корпус вала гребного винта, в сборе (Propeller Shaft Housing Assy) | 2 шт | 6790 руб. | ||
| 09 | 369Q60101-1 | Корпус вала гребного винта (Propeller Shaft Housing) | 2 шт | 6340 руб. | ||
| 09 | RTT-369-60101-1 | (не оригинальный аналог) Обойма вала гребного винта 369-60101-1 | 1 шт | 2000 руб. | ||
| 10 | 369-60111-0 | Сальник (18x28x10) (Oil Seal (18x28x10)) | 54 шт | 990 руб. | ||
| 10 | RTT-369-60111-0 | (не оригинальный аналог) Сальник двухсторонний RTT-369-60111-0 (15X28X10) | 5 шт | 240 руб. | ||
| 10 | T-369-60111-0 | (не оригинальный аналог) Сальник редуктора Tohatsu 369-60111-0 | 2 шт | по запросу | ||
| 10 | SC-OL015 | (не оригинальный аналог) Сальник редуктора Tohatsu SC-OL015 | под заказ | 230 руб. | ||
| 10 | RTT-369-60111-0 | (не оригинальный аналог) Сальник двухсторонний RTT-369-60111-0 (15X28X10) | 5 шт | 240 руб. | ||
| 11 | 345-65015-0 | Уплотнительное кольцо 3.2-47 (O-ring 3.2-47) | под заказ | 320 руб. | ||
| 11 | PF8-04040002 | (аналог Parsun) O-RING | 1 шт | 60 руб. | ||
| 12 | 9601-0-6002 | Шариковый подшипник (Ball Bearing) | 1 шт | 1740 руб. | ||
| 12 | SC-BR467 | (не оригинальный аналог) Подшипник гребного вала Tohatsu / Mercury SC-BR467 | под заказ | по запросу | ||
| 13 | 369-64010-2 | Коническая шестерня A в сборе (with Втулка) (Bevel Gear A Assy (with Bushing)) | 1 шт | 7150 руб. | ||
| 13 | T-369-64010-2 | (не оригинальный аналог) Шестерня переднего хода Tohatsu 369-64010-2 | под заказ | 3590 руб. | ||
| 13 | SK369-64010-2 | (не оригинальный аналог) Шестерня переднего хода Skipper для Tohatsu Модели техники: M3.5B-M5B | 0 шт | 2122 руб. | ||
| 14 | 369-64020-2 | Коническая шестерня B (Bevel Gear B) | под заказ | нет сведений | ||
| 14 | T-369-64020-2 | (не оригинальный аналог) Ведущая шестерня редуктора Tohatsu 369-64020-2 | под заказ | 1820 руб. | ||
| 14 | SC-GA270 | (не оригинальный аналог) Ведущая шестерня редуктора Tohatsu SC-GA270 | под заказ | по запросу | ||
| 14 | SK369-64020-2 | (не оригинальный аналог) Шестерня ведущего вала Skipper для Tohatsu Модели техники: M3.5B-M5B | 0 шт | 1103 руб. | ||
| 15 | 369-64030-2 | Gear (Gear) | 1 шт | нет сведений | ||
| 15 | T-369-64030-2 | (не оригинальный аналог) Шестерня заднего хода Tohatsu 369-64030-2 | под заказ | 3490 руб. | ||
| 15 | SC-GA271 | (не оригинальный аналог) Шестерня заднего хода Tohatsu SC-GA271 | под заказ | по запросу | ||
| 15 | SK369-64030-2 | (не оригинальный аналог) Шестерня заднего хода Skipper для Tohatsu Модели техники: M3.5B-M5B | 0 шт | 2118 руб. | ||
| 16 | 369-64032-0 | Шайба (Washer) | 6 шт | 520 руб. | ||
| 16 | PF8-04000012 | (аналог Parsun) WASHER, REVERSE GEAR | 2 шт | 120 руб. | ||
| 17 | 369-64014-0 | Регулировочная шайба 21-28-0.1 (Shim 21-28-0.1) | 8 шт | 440 руб. | ||
| 17 | PT5-03000002-1 | (аналог Parsun) SHIM T:0.10mm | под заказ | 100 руб. | ||
| 17 | 369-64015-0 | Регулировочная шайба 21-28-0.15 (Shim 21-28-0.15) | 12 шт | 440 руб. | ||
| 18 | 369-64211-1 | Shaft, Гребной винт (Shaft, Propeller) | 4 шт | 11250 руб. | ||
| 18 | T-369-64211-1 | (не оригинальный аналог) Гребной вал Tohatsu / Mercury 369-64211-1 | под заказ | 6660 руб. | ||
| 18 | SC-PL053 | (не оригинальный аналог) Гребной вал Tohatsu / Mercury SC-PL053 | под заказ | по запросу | ||
| 18 | SK369-64211-1 | (не оригинальный аналог) Вал гребной 4-5 Skipper для Tohatsu M3.5B-M5B | 0 шт | 4756 руб. | ||
| 19 | 301-64215-1 | Сцепление (Clutch) | 2 шт | 3830 руб. | ||
| 20 | 301-64217-0 | Штифт сцепления (Pin Clutch) | 16 шт | 270 руб. | ||
| 21 | 393-64221-0 | Пружина сцепления (Spring Clutch) | 8 шт | 270 руб. | ||
| 22 | 369-64222-0 | Держатель пружины сцепления (Spring Holder Clutch) | 17 шт | 350 руб. | ||
| 23 | 369-64223-0 | Нажимная штанга сцепления (Push Rod Clutch) | 6 шт | 950 руб. | ||
| 23 | PF8-04000305 | (аналог Parsun) PIN, CLUTCH | под заказ | 240 руб. | ||
| 24 | 369-60206-0 | Фильтр грубой очистки воды (Water Strainer) | 3 шт | 490 руб. | ||
| 25 | 921803-0620 | Винт (Screw) | под заказ | 190 руб. | ||
| 26 | 369-65035-0 | Нижняя водяная трубка (Water Pipe Lower) | под заказ | 570 руб. | ||
| 27 | 369-65036-0 | Резиновый сальник нижней водяной трубки (Seal Rubber Water Pipe Lower) | 7 шт | 430 руб. | ||
| 28 | 369-65021-1 | Крыльчатка водяной помпы (Impeller Water Pump) | 22 шт | 2390 руб. | ||
| 28 | TT5-03000300 | (не оригинальный аналог) Крыльчатка T5-03000300 | 27 шт | 410 руб. | ||
| 28 | 500377 | (не оригинальный аналог) Крыльчатка помпы охлаждения двигателя Mariner / Mercury / Tohatsu 500377 | под заказ | 1170 руб. | ||
| 28 | T-369-65021-1 | (не оригинальный аналог) Крыльчатка помпы охлаждения двигателя Tohatsu 369-65021-1 | под заказ | по запросу | ||
| 28 | SC-WT138 | (не оригинальный аналог) Крыльчатка помпы охлаждения двигателя Tohatsu SC-WT138 | под заказ | 890 руб. | ||
| 28 | PT5-03000300 | (аналог Parsun) IMPELLER ASSY | 20 шт | 300 руб. | ||
| 28 | TT5-03000300 | (аналог Toyama) Крыльчатка помпы T5BMS | 27 шт | 320 руб. | ||
| 28 | SK369-65021-1 | (не оригинальный аналог) Крыльчатка Standard Skipper для Tohatsu M3.5B-M5B | 0 шт | 557 руб. | ||
| 29 | 369-65022-0 | Ключ крыльчатки водяной помпы (Key Water Pump Impeller) | 18 шт | 260 руб. | ||
| 30 | 369-65016-0 | Корпус водяного насоса (Water Pump Case) | 2 шт | 2970 руб. | ||
| 30 | 369-65016-2 | (актуальный код замены) Верхний корпус помпы - Pump Case (upper) | 6 шт | 2970 руб. | ||
| 30 | SC-WT011 | (не оригинальный аналог) Корпус помпы охлаждения Tohatsu / Mercury SC-WT011 | под заказ | 2040 руб. | ||
| 30 | PT5-03000010 | (аналог Parsun) HOUSING, WATER PUMP | 1 шт | 310 руб. | ||
| 31 | 369-65011-0 | Гильза корпуса водяного насоса (Liner Water Pump Case) | 39 шт | 790 руб. | ||
| 31 | PT5-03000011 | (аналог Parsun) INSERT COVER, WATER PUMP | 2 шт | 750 руб. | ||
| 32 | 369-65025-0 | Направляющая пластина водяного насоса (Guide Plate Water Pump) | 19 шт | 470 руб. | ||
| 32 | T-369-65025-0 | (не оригинальный аналог) Пластина помпы Tohatsu 369-65025-0 | под заказ | 470 руб. | ||
| 32 | SC-WT333 | (не оригинальный аналог) Пластина помпы Tohatsu SC-WT333 | под заказ | 500 руб. | ||
| 32 | SK369-65025-0 | (не оригинальный аналог) Пластина помпы охлаждения Skipper для Tohatsu M3.5B-M5B | 0 шт | 275 руб. | ||
| 33 | 369-65018-0 | Прокладка корпуса водяного насоса (Gasket Water Pump Case) | под заказ | 310 руб. | ||
| 33 | 369-65018-1 | (актуальный код замены) Прокладка корпуса водяного насоса - Gasket Water Pump Case | 13 шт | 420 руб. | ||
| 33 | SM-369-65018-1 | (не оригинальный аналог) Прокладка SM-369-65018-1 корпуса водяного насоса (верхняя) | под заказ | 80 руб. | ||
| 33 | SM-369-65018-1 | (не оригинальный аналог) Прокладка SM-369-65018-1 корпуса водяного насоса (верхняя) | под заказ | 80 руб. | ||
| 34 | 369-65029-0 | Прокладка направляющей пластина водяного насоса (Gasket Pump Guide Plate) | 16 шт | 420 руб. | ||
| 34 | SM-369-65029-0 | (не оригинальный аналог) Прокладка SM-369-65029-0 корпуса водяного насоса (нижняя) | 4 шт | 80 руб. | ||
| 34 | SM-369-65029-0 | (не оригинальный аналог) Прокладка SM-369-65029-0 корпуса водяного насоса (нижняя) | 4 шт | 80 руб. | ||
| 35 | 9161E3-0645 | Болт - замена 916113-0645 (Bolt - замена 916113-0645) | под заказ | 210 руб. | ||
| 35 | 916113-0645 | Болт - (Bolt - ) | под заказ | 280 руб. | ||
| 36 | 940103-0600 | Шайба - замена 940113-0600 (Washer - замена 940113-0600) | под заказ | 130 руб. | ||
| 36 | 940113-0600 | Шайба - (Washer - ) | 2 шт | 90 руб. | ||
| 37 | 369-65017-1 | Нижняя часть корпуса водяного насоса (Pump Case Lower) | 2 шт | 2720 руб. | ||
| 38 | 369-60223-0 | Сальник (10x24x8) (Oil Seal (10x24x8)) | 9 шт | 780 руб. | ||
| 38 | RTT-369-60223-0 | (не оригинальный аналог) Сальник двухсторонний RTT-369-60223-0 (10X24X8) | 7 шт | 240 руб. | ||
| 38 | SC-OL042 | (не оригинальный аналог) Сальник редуктора Tohatsu / Mercury SC-OL042 | 6 шт | 250 руб. | ||
| 38 | SK369-60223-0 | (не оригинальный аналог) Сальник ведущего вала Skipper для Tohatsu Модели техники: M3.5B-M5B | 0 шт | 146 руб. | ||
| 38 | RTT-369-60223-0 | (не оригинальный аналог) Сальник двухсторонний RTT-369-60223-0 (10X24X8) | 7 шт | 240 руб. | ||
| 39 | 369-64081-1 | Регулировочная шайба 26.5-34.8-0.1 (Shim 26.5-34.8-0.1) | 2 шт | 780 руб. | ||
| 39 | 369-64082-1 | Регулировочная шайба 26.5-34.8-0.15 (Shim 26.5-34.8-0.15) | 5 шт | 670 руб. | ||
| 40 | 369-65020-0 | Прокладка Water Нижняя часть корпуса водяного насоса (Gasket Water Pump Case Lower) | 12 шт | 500 руб. | ||
| 40 | SM-369-65020-0 | (не оригинальный аналог) Прокладка SM-369-65020-0 под основание помпы | 1 шт | 100 руб. | ||
| 40 | SM-369-65020-0 | (не оригинальный аналог) Прокладка SM-369-65020-0 под основание помпы | 1 шт | 100 руб. | ||
| 42 | 369-65014-0 | Резиновый сальник нижней водяной трубки (Seal Rubber Lower Water Pipe) | 6 шт | 480 руб. | ||
| 43 | 369-64301-0 | Корпус вала передачи (Drive Shaft) | под заказ | 13530 руб. | ||
| 43 | T-369-64301-0 | (не оригинальный аналог) Ведущий (вертикальный) вал редуктора Tohatsu 369-64301-0 | под заказ | 8600 руб. | ||
| 43 | SC-DS044 | (не оригинальный аналог) Ведущий (вертикальный) вал редуктора Tohatsu SC-DS044 | под заказ | 5850 руб. | ||
| 43 | PT5-03020000S | (аналог Parsun) DRIVE SHAFT ASSY S | под заказ | 9890 руб. | ||
| 43 | SK369-64301-0 | (не оригинальный аналог) Вал ведущий Skipper для Tohatsu S, Модели техники: M3.5B-M5B | 0 шт | 4564 руб. | ||
| 43 | 369-64302-0 | Корпус вала передачи L (Drive Shaft L) | 1 шт | 13090 руб. | ||
| 43 | 369-64303-0 | Корпус вала передачи Ul (Drive Shaft Ul) | под заказ | 14470 руб. | ||
| 44 | 9601-0-6300 | Шариковый подшипник (Ball Bearing) | 5 шт | 1960 руб. | ||
| 44 | T-9601-0-6302 | (не оригинальный аналог) Подшипник ведущего вала Tohatsu 9601-0-6302 | под заказ | 840 руб. | ||
| 44 | SC-BR181 | (не оригинальный аналог) Подшипник ведущего вала Tohatsu / Mercury SC-BR181 | под заказ | 1010 руб. | ||
| 44 | SC-BR424 | (не оригинальный аналог) Подшипник ведущего вала Tohatsu / Mercury SC-BR424 | под заказ | по запросу | ||
| 44 | SK9601-0-6300 | (не оригинальный аналог) Подшипник гребного вала Skipper для Tohatsu 3.5/5 | 0 шт | 455 руб. | ||
| 45 | 369-66011-0 | Сцепление Cam (Clutch Cam) | 4 шт | 1700 руб. | ||
| 46 | 951407-0310 | Стопор пружины (Spring Pin) | 107 шт | 140 руб. | ||
| 47 | 369-66012-1 | Кулачок штанги (s) (Cam Rod (s)) | под заказ | 2380 руб. | ||
| 47 | 369-66013-1 | Кулачок штанги (l) (Cam Rod (l)) | под заказ | 2500 руб. | ||
| 47 | 369-66014-2 | Кулачок штанги (ul) (Cam Rod (ul)) | под заказ | 2710 руб. | ||
| 48 | 369-66031-0 | Втулка кулачка штанги (Bushing Cam Rod) | 3 шт | 880 руб. | ||
| 48 | 3UA-66031-0 | (актуальный код замены) Втулка кулачка штанги - Cam Rod Bushing | 5 шт | 880 руб. | ||
| 49 | 369-66021-1 | Уплотнительное кольцо 2.5-4.9 (O-ring 2.5-4.9) | 26 шт | 300 руб. | ||
| 50 | 332-66032-0 | Уплотнительное кольцо (O-ring) | 2 шт | 260 руб. | ||
| 51 | 369-66033-0 | Стопор втулки кулачка штанги (Stopper Cam Rod Bushing) | под заказ | 240 руб. | ||
| 52 | 3DK-61016-0 | Пыльник (Grommet) | под заказ | 340 руб. | ||
| 53 | 9161E3-0645 | Болт - замена 916113-0645 (Bolt - замена 916113-0645) | под заказ | 210 руб. | ||
| 53 | 916113-0645 | Болт - (Bolt - ) | под заказ | 280 руб. | ||
| 55 | 9161E3-0835 | Болт (Bolt) | под заказ | 380 руб. | ||
| 57 | 9101E3-5616 | Болт (Bolt) | 2 шт | 210 руб. | ||
| 58 | 369B64518-1 | Гребной винт 9 (Propeller 9) | 5 шт | 16940 руб. | ||
| 58 | 369B64518-CG | (не оригинальный аналог) Гребной винт 369B64518-CG (3x7.7x9) на Tohatsu/Mercury 4-6 л.с. | 2 шт | 3300 руб. | ||
| 58 | SK369B64518-1 | (не оригинальный аналог) Винт гребной Skipper для Tohatsu 4-6HP, диаметр 7 4/5" алюминиевый, лопастей - 3, шаг 9" | 0 шт | 2629 руб. | ||
| 58 | 399B64512-1 | Гребной винт Y6 (Propeller Y6) | под заказ | 16170 руб. | ||
| 58 | 3R1B64516-1 | Гребной винт 8 (Propeller 8) | 12 шт | нет сведений | ||
| 58 | 3R1B64516-CG | (не оригинальный аналог) Гребной винт 3R1B64514-CG (3x7.7x8) на Tohatsu/Mercury 4-6 л.с. | 2 шт | 3300 руб. | ||
| 58 | 3R1B64514-0 | Гребной винт 7 (Propeller 7) | 2 шт | 13240 руб. | ||
| 58 | 3R1B64514-2 | (актуальный код замены) Гребной винт в сборе (7) - Propeller Assy (7) | 1 шт | нет сведений | ||
| 58 | 3R1B64514-CG | (не оригинальный аналог) Гребной винт 3R1B64514-CG (3x7.7x7) на Tohatsu/Mercury 4-6 л.с. | под заказ | 3300 руб. | ||
| 58 | 5011-078-08 | (Винт 5011-078-08 - не оригинальная запчасть) | 2 шт | |||
| 58 | 5011-078-09 | (Винт 5011-078-09 - не оригинальная запчасть) | 1 шт | |||
| 58 | 5011-078-07 | (Винт 5011-078-07 - не оригинальная запчасть) | 6 шт | |||
| 58 | 5011-078-06 | (Винт 5011-078-06 - не оригинальная запчасть) | под заказ | |||
| 59 | 3H6-87326-0 | Гребной винт, износостойкий комплект (Propeller Hard Wear Kit) | под заказ | 2360 руб. | ||
| 60 | 369-64121-0 | Гайка Гребной винт (Nut Propeller) | 2 шт | 820 руб. | ||
| 60 | SK369-64121-0 | (не оригинальный аналог) Гайка крепления гребного винта Skipper для Tohatsu Модели техники: 4-9.8HP | 1 шт | 271 руб. | ||
| 60 | SK369-64121-0 | (не оригинальный аналог) Гайка крепления гребного винта Skipper для Tohatsu Модели техники: 4-9.8HP | 1 шт | 271 руб. | ||
| 61 | 951503-0318 | Шплинт (Split Pin) | 54 шт | 160 руб. | ||
| 62 | 369-64124-0 | Шайба (Washer) | 1 шт | 560 руб. | ||
| 63 | 3AS-64230-0 | Упорная втулка гребного винта (Propeller Thrust Holder) | под заказ | 1350 руб. | ||
| 64 | 369-65100-0 | Водяная трубка S (Water Pipe S) | 1 шт | 3530 руб. | ||
| 64 | PT5-02000002S | (аналог Parsun) WATER TUBE S | под заказ | 770 руб. | ||
| 64 | 369-65110-0 | Водяная трубка L (Water Pipe L) | под заказ | 2870 руб. | ||
| 64 | 369-65120-0 | Водяная трубка Ul (Water Pipe Ul) | под заказ | 2000 руб. | ||
| 65 | 369-65195-0 | Пыльник верхней водяной трубки (Grommet Water Pipe Upper) | 4 шт | 120 руб. | ||
Время выполнения запроса 7.3332009315491 сек.
склад запчастей для водомоторной техники