Контактный телефон: +7 (981) 121-46-93, +7 (800) 200-90-76 , Email: parts-katalog@yandex.ru, где купить |
Вернуться к выбору узлов мотора Handle, Trottle | |||||||||||||||||||||||||||||||||||||||||||||||||||||||||||||||||||||||||||||||||||||||||||||||||||||||||||||||||||||||||||||||||||||||||||||||||||||||||||||||||||||||||||||||||||||||||||||||||||||||||||||||||||||||||||||||||||||||||||||||||||||||||||||||||||||
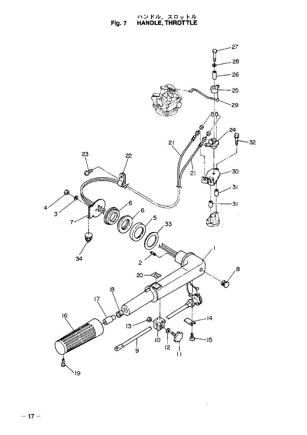
| Номер на рисунке | Артикул | Наименование | QTY | Кол-во на складе | Цена | |
| 01 | 3H6S63011-0 | Румпель (Steering Handle) | под заказ | нет сведений | ||
| 02 | 3B2-63104-1 | Стержневой болт (Stud Bolt) | под заказ | 370 руб. | ||
| 03 | 941303-0600 | Пружинная шайба (Spring Washer) | 4 шт | 150 руб. | ||
| 05 | 3H6-63026-0 | Прокладка румпеля (Spacer Handle) | под заказ | 490 руб. | ||
| 06 | 3H6-63102-0 | Втулка румпеля (Bushing Steering Handle) | 16 шт | 790 руб. | ||
| 07 | 3H6-63103-0 | Стопор ручки руля (Stopper Steering Handle) | под заказ | 880 руб. | ||
| 08 | 350-67154-0 | Штифт рычага заслонки (Pin Choke Lever) | 5 шт | 210 руб. | ||
| 09 | 3B2-63041-0 | Вал дросселя (Throttle Shaft) | под заказ | 1800 руб. | ||
| 10 | 3B2-63035-1 | Трущаяся деталька Рукоятка (Friction Piece Grip) | под заказ | 420 руб. | ||
| 11 | 3B2-63034-0 | Adjust Винт (Adjust Screw) | 2 шт | 420 руб. | ||
| 12 | 940113-0600 | Шайба (Washer) | 2 шт | 90 руб. | ||
| 14 | 3B2-63063-0 | Поддержка вала дросселя (Supporter Throttle Shaft) | под заказ | 260 руб. | ||
| 16 | 369-63012-1 | Рукоятка (Grip) | под заказ | 2870 руб. | ||
| 17 | 3H6-63048-0 | Резинка вала дросселя (Rubber Shrottle Shaft) | под заказ | 210 руб. | ||
| 18 | 3H6-63506-0 | Втулка 14-15.8-7 (Bushing 14-15.8-7) | под заказ | 210 руб. | ||
| 18 | 3H6-63510-0 | (актуальный код замены) Втулка 14-15.8-7 - Bushing 14-15.8-7 | под заказ | 210 руб. | ||
| 19 | 920803-0518 | Винт (Screw) | под заказ | 170 руб. | ||
| 20 | 369-72019-1 | Наклейка - управление дросселем (Label Throttle) | под заказ | 190 руб. | ||
| 20 | 369-72019-2 | (актуальный код замены) ** Наклейка дросселя - ** Throttle Decal | 1 шт | 320 руб. | ||
| 21 | 3H6-63600-0 | Тросик дросселя - Look Part. Repl. List (Throttle Wire - Look Part. Repl. List) | под заказ | нет сведений | ||
| 21 | 3H6-63600-1 | (актуальный код замены) Тросик дросселя - Throttle Wire | 1 шт | 2220 руб. | ||
| 22 | 345-06915-0 | Струбцина 6.5-14 (Clamp 6.5-14) | под заказ | 490 руб. | ||
| 24 | 3H6-63611-0 | Throttel Drum (Throttel Drum) | 6 шт | 760 руб. | ||
| 25 | 3H6-63612-0 | Дроссель Opener (Throttle Opener) | 2 шт | 420 руб. | ||
| 26 | 3H6-63618-0 | Воротник барабана - замена 3r3-66124-0 (Collar Drum - замена 3r3-66124-0) | под заказ | 300 руб. | ||
| 26 | 3R3-66124-0 | (актуальный код замены) Воротник - Collar | под заказ | 670 руб. | ||
| 27 | 910103-6635 | Болт (Bolt) | под заказ | 210 руб. | ||
| 28 | 3C8-66308-0 | Шайба 6-16-1.5 (Washer 6-16-1.5) | под заказ | 170 руб. | ||
| 29 | 3H6-63617-0 | Тяга дросселя (Throttle Rod) | 1 шт | 530 руб. | ||
| 30 | 3H6-63615-0 | Bracket Throttel Провод (Bracket Throttel Wire) | под заказ | нет сведений | ||
| 31 | 3H6-63619-1 | Воротник Bracket (Collar Bracket) | 1 шт | 570 руб. | ||
| 32 | 910103-6645 | Болт (Bolt) | 2 шт | 210 руб. | ||
| 33 | 3B2-63108-0 | Шайба 30-45-1 (Washer 30-45-1) | 4 шт | 230 руб. | ||
| 34 | 3H6-67154-0 | Anchor Зажим 6.5 (Anchor Clip 6.5) | под заказ | 210 руб. | ||
Время выполнения запроса 1.5459539890289 сек.
склад запчастей для водомоторной техники