вконтакте

Контактный телефон: +7 (981) 121-46-93, +7 (800) 200-90-76 , Email: parts-katalog@yandex.ru, где купить

 
 

  Логин:

Пароль:

Регистрация

www.partskatalog.ru Все каталоги Запчасти Mercury Запчасти Suzuki Запчасти Tohatsu Запчасти Honda Контакты

назад Раздел:   вперёд

Вернуться к выбору узлов мотора

   Pully & Timing Belt
Pully & Ремень распредвала      


ДЕТАЛИРОВКА ДЛЯ МОДЕЛИ: TOHATSU MFS6A3 00221051-9

Подвесной 4x-тактный лодочный мотор 
 MFS6A3 00221051-9 - Pully & Ремень распредвала - Pully & Timing Belt
Номер на
рисунке
АртикулНаименованиеQTYКол-во
на складе
Цена
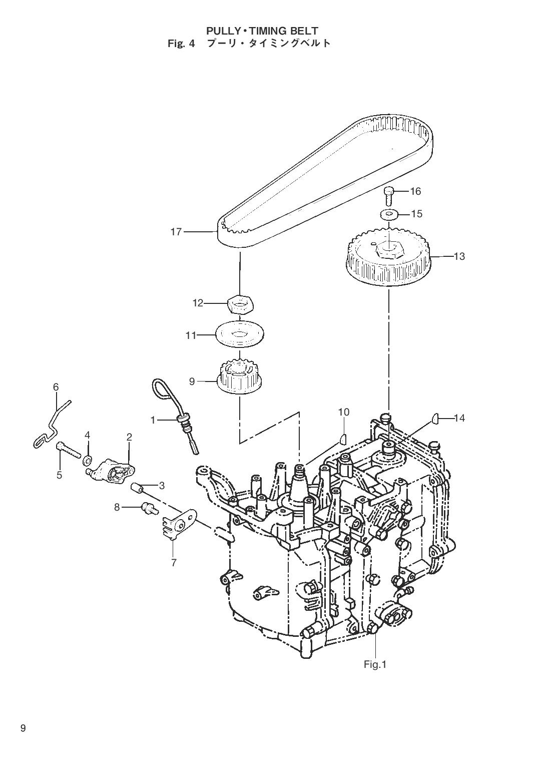
013V1-07421-0

Oil Lebel Gauge (Oil Lebel Gauge)

под заказ1820 руб.
023V1-63622-0

Барабан дросселя (Throttle Drum)

под заказ700 руб.
03346-67114-0

Прокладка 6.2-9-15.7 (Spacer 6.2-9-15.7)

под заказ210 руб.
03346-67114-1

    (актуальный код замены) Проставка - (346-67114-0) - Spacer - (346-67114-0)

3 шт170 руб.
043R0-66308-0

Шайба 6-16-1.5 (Washer 6-16-1.5)

под заказ240 руб.
059101E3-0630

Болт (Bolt)

под заказ210 руб.
063V1-63617-1

Тяга дросселя (Throttle Rod)

под заказ1010 руб.
073V1-63508-0

Тросик дросселя Bracket (Throttle Wire Bracket)

под заказ950 руб.
089101E3-5612

Болт (Bolt)

под заказ210 руб.
093V1-10060-0

Drive Шкив (Drive Pulley)

под заказ6120 руб.
103T5-10131-0

Ключ Drive Шкив (Key Drive Pulley)

6 шт420 руб.
113V1-10063-0

Belt Guide (Belt Guide)

под заказ610 руб.
123V1-10068-0

Гайка (Nut)

под заказ720 руб.
133H8-10062-2

Driven Шкив (Driven Pulley)

1 шт6680 руб.
14309-00131-0

Ключ Магнето (Key Magneto)

под заказ260 руб.
153H8-10066-0

Шайба 6.5-19-3.2 (Washer 6.5-19-3.2)

под заказ210 руб.
163AA-60108-0

Загрунтованный болт (Pre-coated Bolt)

под заказ260 руб.
173V1-10045-0

Ремень распредвала (Timing Belt)

4 шт3900 руб.

Время выполнения запроса 3.1659429073334 сек.

 
 

данный сайт носит информационный характер и не является публичной офертой

склад запчастей для водомоторной техники