Контактный телефон: +7 (981) 121-46-93, +7 (800) 200-90-76 , Email: parts-katalog@yandex.ru, где купить |
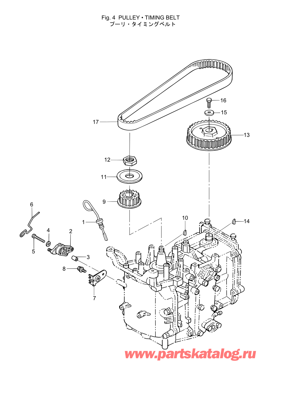
Вернуться к выбору узлов мотора Fig.04 Pulley / Timing Belt | ||||||||||||||||||||||||||||||||||||||||||||||||||||||||||||||||||||||||||||||||||||||||||||||||||||||||||||||||||||||||||||||||||||||||||||||||||||||||||||
| Номер на рисунке | Артикул | Наименование | QTY | Кол-во на складе | Цена | |
| 4-1 | 3V1-07421-0 | Измеритель уровня масла (Oil Level Gauge) | 1 | под заказ | 1820 руб. | |
| 4-2 | 3V1-63622-0 | Барабан дросселя в сборе (Throttle Drum Assy) | 1 | под заказ | 700 руб. | |
| 4-3 | 346-67114-1 | Проставка 6.2-9-15.7 (Spacer 6.2-9-15.7) | 1 | 3 шт | 170 руб. | |
| 4-4 | 3C8-66308-0 | Шайба 6-16-1.5 (Washer 6-16-1.5) | 1 | под заказ | 170 руб. | |
| 4-5 | 910103-0630 | Болт (Bolt) | 1 | под заказ | 190 руб. | |
| 4-5 | 9101E3-0630 | (актуальный код замены) Болт - Bolt | 1 | под заказ | 210 руб. | |
| 4-6 | 3V1-63617-1 | Тяга дросселя (Throttle Rod) | 1 | под заказ | 1010 руб. | |
| 4-7 | 3V1-63508-1 | Кронштейн тросика дросселя (Throttle Wire Bracket) | 1 | под заказ | 860 руб. | |
| 4-7 | 3V1-63508-0 | (актуальный код замены) Кронштейн тросика дросселя - Throttle Wire Bracket | 1 | под заказ | 950 руб. | |
| 4-8 | 910103-5612 | Болт (Bolt) | 1 | под заказ | 170 руб. | |
| 4-9 | 3V1-10060-0 | Шкив привода (Drive Pulley) Timing Pulley / Шкив ГРМ | 1 | под заказ | 6120 руб. | |
| 4-10 | 3T5-10131-0 | Ключ (Key) Crankshaft / Коленвал | 1 | 6 шт | 420 руб. | |
| 4-11 | 3V1-10063-0 | Направляющая ремня (Belt Guide) | 1 | под заказ | 610 руб. | |
| 4-12 | 3V1-10068-0 | Гайка (Nut) | 1 | под заказ | 720 руб. | |
| 4-13 | 3H8-10062-2 | Ведомый шкив (Driven Pulley) Camshaft Pulley / Шкив распредвала | 1 | 1 шт | 6680 руб. | |
| 4-14 | 309-00131-0 | Ключ 10-3.7-3 (Key 10-3.7-3) Camshaft / Распределительный вал | 1 | под заказ | 260 руб. | |
| 4-15 | 3H8-10066-0 | Шайба 6.5-19-3.2 (Washer 6.5-19-3.2) | 1 | под заказ | 210 руб. | |
| 4-16 | 3AA-60108-0 | Загрунтованный болт 6-20 (Pre-coated Bolt 6-20) | 1 | под заказ | 260 руб. | |
| 4-17 | 3V1-10045-0 | Ремень распредвала (Timing Belt) | 1 | 4 шт | 3900 руб. | |
Время выполнения запроса 1.8939199447632 сек.
склад запчастей для водомоторной техники