Контактный телефон: +7 (981) 121-46-93, +7 (800) 200-90-76 , Email: parts-katalog@yandex.ru, где купить |
Вернуться к выбору узлов мотора Pully & Timing Belt | |||||||||||||||||||||||||||||||||||||||||||||||||||||||||||||||||||||||||||||||||||||||||||||||||||||||||||||||||||||||||||||||||||||||||||||||||||||
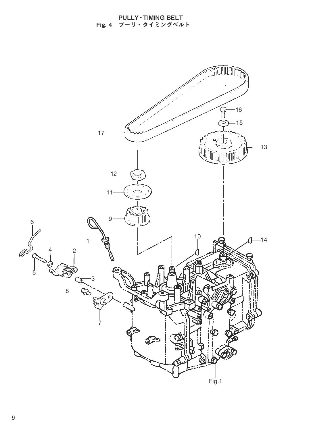
| Номер на рисунке | Артикул | Наименование | QTY | Кол-во на складе | Цена | |
| 01 | 3V1-07421-0 | Oil Lebel Gauge (Oil Lebel Gauge) | под заказ | 1820 руб. | ||
| 02 | 3V1-63622-0 | Барабан дросселя (Throttle Drum) | под заказ | 700 руб. | ||
| 03 | 346-67114-0 | Прокладка 6.2-9-15.7 (Spacer 6.2-9-15.7) | под заказ | 210 руб. | ||
| 03 | 346-67114-1 | (актуальный код замены) Проставка - (346-67114-0) - Spacer - (346-67114-0) | 3 шт | 170 руб. | ||
| 04 | 3R0-66308-0 | Шайба 6-16-1.5 (Washer 6-16-1.5) | под заказ | 240 руб. | ||
| 05 | 9101E3-0630 | Болт (Bolt) | под заказ | 210 руб. | ||
| 06 | 3V1-63617-1 | Тяга дросселя (Throttle Rod) | под заказ | 1010 руб. | ||
| 07 | 3V1-63508-0 | Тросик дросселя Bracket (Throttle Wire Bracket) | под заказ | 950 руб. | ||
| 08 | 9101E3-5612 | Болт (Bolt) | под заказ | 210 руб. | ||
| 09 | 3V1-10060-0 | Drive Шкив (Drive Pulley) | под заказ | 6120 руб. | ||
| 10 | 3T5-10131-0 | Ключ Drive Шкив (Key Drive Pulley) | 6 шт | 420 руб. | ||
| 11 | 3V1-10063-0 | Belt Guide (Belt Guide) | под заказ | 610 руб. | ||
| 12 | 3V1-10068-0 | Гайка (Nut) | под заказ | 720 руб. | ||
| 13 | 3H8-10062-2 | Driven Шкив (Driven Pulley) | 1 шт | 6680 руб. | ||
| 14 | 309-00131-0 | Ключ Магнето (Key Magneto) | под заказ | 260 руб. | ||
| 15 | 3H8-10066-0 | Шайба 6.5-19-3.2 (Washer 6.5-19-3.2) | под заказ | 210 руб. | ||
| 16 | 3AA-60108-0 | Загрунтованный болт (Pre-coated Bolt) | под заказ | 260 руб. | ||
| 17 | 3V1-10045-0 | Ремень распредвала (Timing Belt) | 4 шт | 3900 руб. | ||
Время выполнения запроса 1.3864829540253 сек.
склад запчастей для водомоторной техники