Контактный телефон: +7 (981) 121-46-93, +7 (800) 200-90-76 , Email: parts-katalog@yandex.ru, где купить |
Вернуться к выбору узлов мотора Carubretor | |||||||||||||||||||||||||||||||||||||||||||||||||||||||||||||||||||||||||||||||||||||||||||||||||||||||||||||||||||||||||||||||||||||||||||||||||||||||||||||||||||||||||||||||||||||||||||||||||||||||||||||||||||||||||||||||||||||||||||||||||||||||
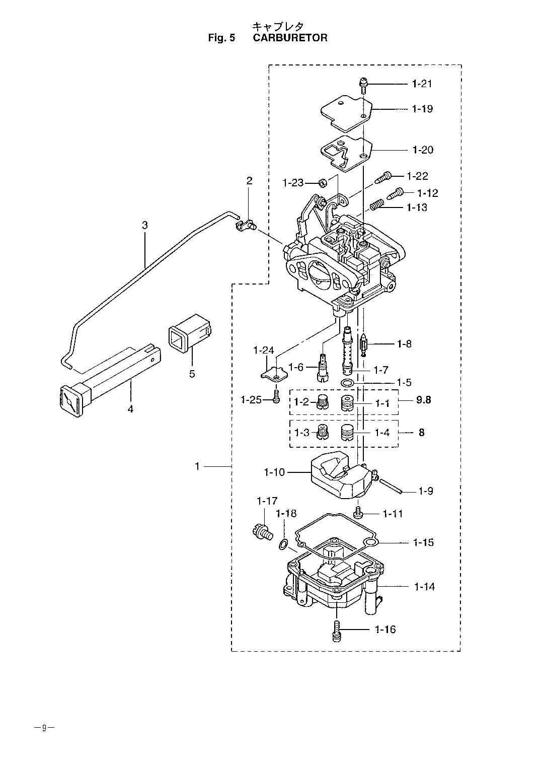
| Номер на рисунке | Артикул | Наименование | QTY | Кол-во на складе | Цена | |
| 01 | 3V2-03100-2 | Карбюратор # 010322xd- для Mf & Ef (3v2fb) (Carburetor # 010322xd- For Mf & Ef (3v2fb)) | под заказ | нет сведений | ||
| 01 | 3V2-03100-3 | (актуальный код замены) Карбюратор в сборе - Carburetor Assy | под заказ | нет сведений | ||
| 01 | 3V2-03133-2 | Карбюратор # 010322xd- для Ep (3v2pb) (Carburetor # 010322xd- For Ep (3v2pb)) | под заказ | нет сведений | ||
| 01 | 3V2-03133-3 | (актуальный код замены) Карбюратор в сборе (EP) - Carburetor Assy (ep) | под заказ | нет сведений | ||
| 01-01 | 3V2-04492-0 | Главный жиклёр (#92) Old Part No. 3v2-04692-0 (Main Jet (#92) Old Part No. 3v2-04692-0) | 1 шт | 1200 руб. | ||
| 01-02 | 3V2-03169-0 | Заглушка (Plug) | под заказ | нет сведений | ||
| 01-05 | 3V1-03116-0 | Уплотнительное кольцо Old Part 3v1-03194-0 (O-ring Old Part 3v1-03194-0) | под заказ | 180 руб. | ||
| 01-06 | 3V1-04539-0 | Slow Jet (#39) (Slow Jet (#39)) | 1 шт | 3700 руб. | ||
| 01-07 | 3V2-03141-0 | Главная форсунка (Main Nozzle) | под заказ | нет сведений | ||
| 01-08 | 3V1-03147-1 | Клапан поплавка (Float Valve) | под заказ | 2200 руб. | ||
| 01-09 | 3C8-03126-0 | Поплавок Arm штифт или шпилька (Float Arm Pin) | под заказ | 340 руб. | ||
| 01-10 | 3C8-03125-0 | Поплавок (Float) | 3 шт | 1800 руб. | ||
| 01-11 | 921703-0406 | Винт (Screw) | под заказ | 130 руб. | ||
| 01-12 | 3V2-03179-0 | Стопорный винт # 031096xd-, L=18 (Stop Screw # 031096xd-, L=18) | под заказ | нет сведений | ||
| 01-13 | 3V2-03157-0 | Пружина 031096xd-, L=14 (Spring 031096xd-, L=14) | 1 шт | 610 руб. | ||
| 01-14 | 3V1-03120-0 | Поплавковая камера (Float Chamber) | под заказ | 6170 руб. | ||
| 01-15 | 3V1-03121-0 | Прокладка поплавковой камеры (Gasket Float Chamber) | 1 шт | 770 руб. | ||
| 01-16 | 922503-6412 | Винт (Screw) | под заказ | 240 руб. | ||
| 01-17 | 3V1-03192-0 | Дренажный винт (Drain Screw) | под заказ | 530 руб. | ||
| 01-18 | 3V1-03193-0 | Прокладка (Gasket) | под заказ | 330 руб. | ||
| 01-19 | 3C8-03181-0 | Крышка или колпачок Plate (Cover Plate) | под заказ | 860 руб. | ||
| 01-20 | 3V1-03182-0 | Прокладка карбюратора Крышка или колпачок (Gasket Carburetor Cover) | под заказ | 530 руб. | ||
| 01-21 | 922503-6410 | Винт (Screw) | под заказ | 340 руб. | ||
| 01-22 | 3V1-03179-0 | Стопорный винт L=15 (Stop Screw L=15) | под заказ | 550 руб. | ||
| 01-23 | 3V1-03191-0 | Гайка (Nut) | под заказ | 860 руб. | ||
| 01-24 | 3V1-03128-0 | Plate (Plate) | под заказ | 380 руб. | ||
| 02 | 346-67196-1 | Защёлка рычага 3-b для Mf & Ef (Rod Snap 3-b For Mf & Ef) | 9 шт | 380 руб. | ||
| 03 | 3V1-67192-1 | Стержень дроссельной заслонки # 010322xd-, для Mf & Ef (Choke Rod # 010322xd-, For Mf & Ef) | под заказ | 920 руб. | ||
| 04 | 3C8-67151-0 | Choke Ручка - замена 3c8-67151-1 (Choke Knob - замена 3c8-67151-1) | под заказ | 570 руб. | ||
| 04 | 3C8-67151-2 | (актуальный код замены) Стержень дроссельной заслонки - Choke Rod | под заказ | 610 руб. | ||
| 04 | 3C8-67151-1 | Choke Ручка - (Choke Knob - ) | под заказ | 610 руб. | ||
| 05 | 3C8-67156-0 | Втулка Chrok Nobu для Mf & Ef (Bushing Chrok Nobu For Mf & Ef) | под заказ | 490 руб. | ||
Время выполнения запроса 2.8899338245392 сек.
склад запчастей для водомоторной техники