Контактный телефон: +7 (981) 121-46-93, +7 (800) 200-90-76 , Email: parts-katalog@yandex.ru, где купить |
Вернуться к выбору узлов мотора Bracket Manual | |||||||||||||||||||||||||||||||||||||||||||||||||||||||||||||||||||||||||||||||||||||||||||||||||||||||||||||||||||||||||||||||||||||||||||||||||||||||||||||||||||||||||||||||||||||||||||||||||||||||||||||||||||||||||||||||||||||||||||||||||||||||||||||||||||||||||||||||||||||||||||||||||||||||||||||||||||||||||||||||||||||||||||||||||||||||||||||||||||||||||||||||||||||||||||||||||||||||||||||||||||||||||||||||||||||||||||||||||||||||||||||||||||||||||||||||||||||||||||||||||||||||||||||||||||||||||||||||||||||||||||||||||||||||||||||||||||||||||||||||||||||||||||||||||||||||||||||||||||||||||||||||||||||||||||||||||||||||||||||||||||||||||||||||||||||||||||
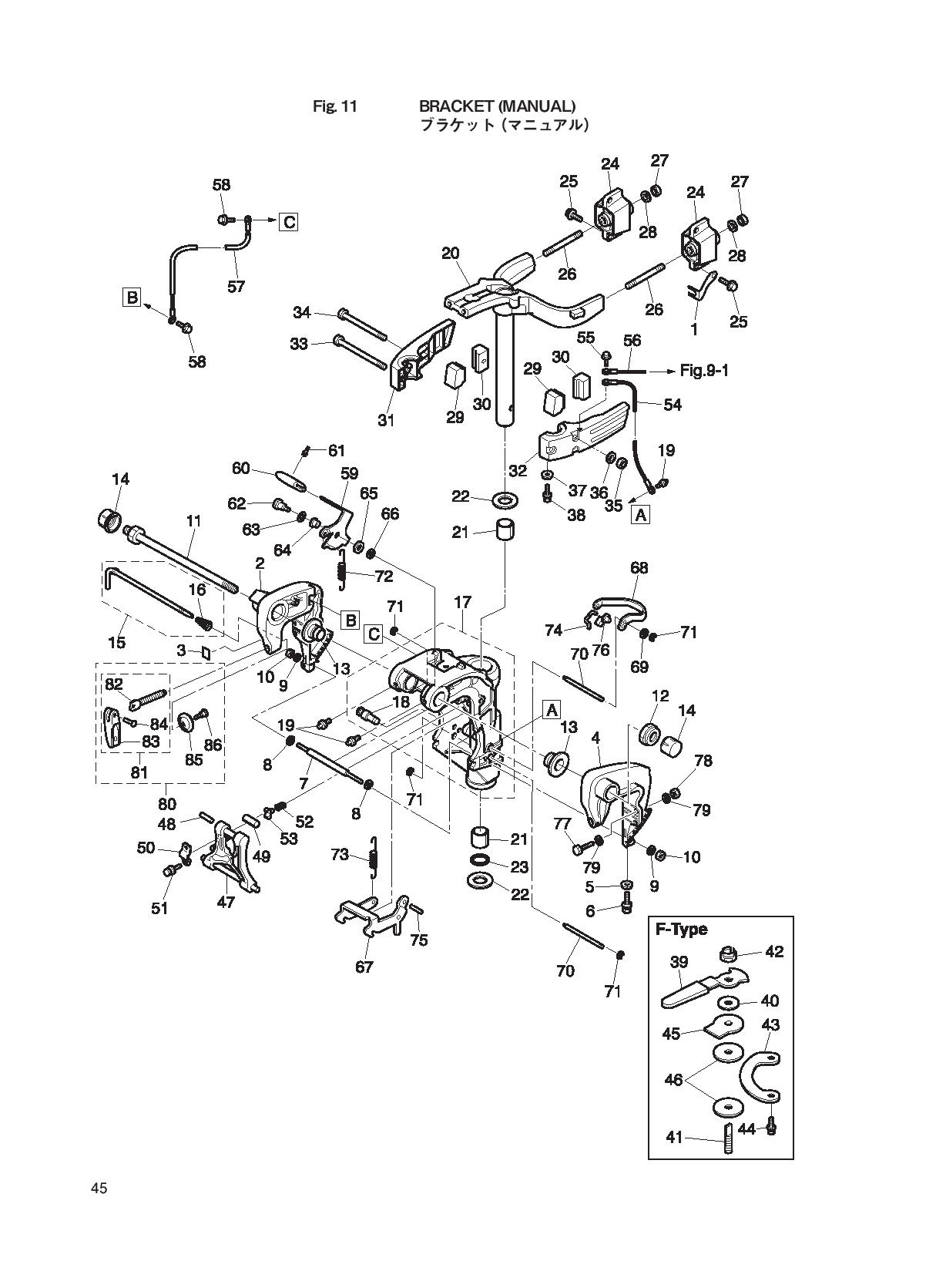
| Номер на рисунке | Артикул | Наименование | QTY | Кол-во на складе | Цена | |
| 01 | 3R3-65205-0 | Look Plate Водяная трубка (Look Plate Water Pipe) | под заказ | 720 руб. | ||
| 02 | 3BJQ62112-0 | Кронштейн транца (r) (Clamp Bracket (r)) | под заказ | 9920 руб. | ||
| 03 | 3H8-72049-0 | Label (Label) | под заказ | 380 руб. | ||
| 04 | 3BJQ62113-0 | Кронштейн транца (l) (Clamp Bracket (l)) | под заказ | 9920 руб. | ||
| 05 | 338-60218-2 | Анод (Anode) | 1 шт | 760 руб. | ||
| 06 | 910103-5620 | Болт (Bolt) | под заказ | 210 руб. | ||
| 07 | 3V6-62117-0 | Удлинитель (Distance Piece) | под заказ | 1600 руб. | ||
| 08 | 940113-0600 | Шайба (Washer) | 2 шт | 90 руб. | ||
| 09 | 940113-0600 | Шайба (Washer) | 2 шт | 90 руб. | ||
| 10 | 930103-0600 | Гайка (Nut) | 1 шт | 240 руб. | ||
| 11 | 3AC-62191-0 | Поворотный кронштейн Shaft (Swivel Bracket Shaft) | под заказ | 5830 руб. | ||
| 12 | 346-62124-1 | Нейлоновая гайка 78 (Nylon Nut 78) | под заказ | 2140 руб. | ||
| 13 | 349-62126-0 | Втулка Bracket Болт (Bushing Bracket Bolt) | 11 шт | 740 руб. | ||
| 14 | 346-62127-0 | Cap Bracket Болт (Cap Bracket Bolt) | под заказ | 260 руб. | ||
| 15 | 3BJ-62123-0 | Упорный стержень в сборе (Thrust Rod Assy) | под заказ | 4900 руб. | ||
| 16 | 369-62122-2 | Пружина стержня тяги (Spring Thrust Rod) | 21 шт | 270 руб. | ||
| 17 | 3BJQ62309-0 | Swive Bracket в сборе (Swive Bracket Assy) | под заказ | 28870 руб. | ||
| 18 | 3BA-66314-0 | штифт или шпилька (Pin) | под заказ | 860 руб. | ||
| 19 | 344-67177-1 | Смазочный ниппель (Grease Nipple) | под заказ | 300 руб. | ||
| 20 | 3BKQ62010-0 | Steering Shaft в сборе (Steering Shaft Assy) | под заказ | 69770 руб. | ||
| 21 | 3R3-62417-0 | Втулка 28-31-35 (Bushing 28-31-35) | 2 шт | 380 руб. | ||
| 22 | 3H8-62423-1 | Упорная пластина (Thrust Plate) | 3 шт | 260 руб. | ||
| 23 | 3H8-62415-0 | Уплотнительное кольцо 3.5-25.7 (345-62415-0) (O-ring 3.5-25.7 (345-62415-0)) | под заказ | 140 руб. | ||
| 24 | 3BA-61301-0 | Rubber Mount (вышеper) (Rubber Mount (upper)) | под заказ | 11310 руб. | ||
| 24 | 3BJ-61301-0 | Крепёжная резинка ?вышеper ? (Mount Rubber ?upper ?) | под заказ | 4300 руб. | ||
| 25 | 910103-5830 | Болт (Bolt) | под заказ | 280 руб. | ||
| 26 | 3R3-61313-1 | Стержневой болт 10-95 (Stud Bolt 10-95) | под заказ | 1180 руб. | ||
| 27 | 930403-1000 | Нейлоновая гайка (Nylon Nut) | под заказ | 490 руб. | ||
| 28 | 9401E3-1000 | Шайба - замена 940113-1000 (Washer - замена 940113-1000) | под заказ | 210 руб. | ||
| 28 | 940113-1000 | Шайба - (Washer - ) | 1 шт | 90 руб. | ||
| 29 | 3BJ-61336-0 | Демпфер Rubber ?lower ? (Damper Rubber ?lower ?) | под заказ | 4120 руб. | ||
| 30 | 3BJ-61302-0 | Крепёжная резинка ?lower ? (Mount Rubber ?lower ?) | под заказ | 1780 руб. | ||
| 31 | 3BJQ61401-0 | Монтажный кронштейн ?r? (Mount Bracket ?r?) | 1 шт | 4970 руб. | ||
| 32 | 3BJQ61402-0 | Монтажный кронштейн ?l? (Mount Bracket ?l?) | под заказ | 4970 руб. | ||
| 33 | 910103-0855 | Болт (Bolt) | под заказ | 320 руб. | ||
| 34 | 9161E3-0885 | Болт (Bolt) | под заказ | 570 руб. | ||
| 35 | 930103-0800 | Гайка (Nut) | 10 шт | 280 руб. | ||
| 36 | 3P0-66233-0 | Шайба 8.1-16-1.5 (Washer 8.1-16-1.5) | под заказ | 240 руб. | ||
| 37 | 338-60218-2 | Анод (Anode) | 1 шт | 760 руб. | ||
| 38 | 910103-5620 | Болт (Bolt) | под заказ | 210 руб. | ||
| 39 | 3AA-62441-0 | Handle Co-pilot (Handle Co-pilot) | под заказ | 1980 руб. | ||
| 40 | 3R3-62443-0 | Шайба 8.1-20-0.8 (Washer 8.1-20-0.8) | под заказ | 260 руб. | ||
| 41 | 3R3-62445-0 | Болт (Bolt) | под заказ | 1070 руб. | ||
| 42 | 3V5-62442-0 | Нейлоновая гайка (2t) M8 P1.25 (Nylon Nut (2t) M8 P1.25) | под заказ | 860 руб. | ||
| 43 | 3R3-62447-0 | Plate Co Pilot (Plate Co Pilot) | под заказ | 670 руб. | ||
| 45 | 3R3-62448-1 | Шайба Co Pilot (Washer Co Pilot) | под заказ | 840 руб. | ||
| 46 | 3R3-62449-0 | Disk Co Pilot (Disk Co Pilot) | под заказ | 1260 руб. | ||
| 47 | 3G2Q62993-1 | Стопор наклона (Tilt Stopper) | под заказ | 4600 руб. | ||
| 48 | 951403-0535 | Стопор пружины (Spring Pin) | под заказ | 180 руб. | ||
| 49 | 350-62437-0 | Втулка Стопор наклона (Bushing Tilt Stopper) | 1 шт | 240 руб. | ||
| 50 | 350-62439-1 | Установочная пластина ограничителя наклона (Set Plate Tilt Stopper) | под заказ | 670 руб. | ||
| 51 | 910103-5818 | Болт (Bolt) | под заказ | 260 руб. | ||
| 52 | 3C8-62421-1 | Пружина Фрикционный диск (Spring Friction Plate) | 4 шт | 380 руб. | ||
| 53 | 346-62438-0 | Набор запчастей (Set Piece) | 3 шт | 210 руб. | ||
| 53 | SC-PT035 | (не оригинальный аналог) Упор пружины Tohatsu / Mercury SC-PT035 | под заказ | 630 руб. | ||
| 54 | 398-62396-1 | Провод заземления (Ground Wire) | под заказ | 800 руб. | ||
| 55 | 910103-5610 | Болт (Bolt) | под заказ | 240 руб. | ||
| 56 | 398-62396-1 | Провод заземления (Ground Wire) | под заказ | 800 руб. | ||
| 57 | 398-62396-1 | Провод заземления (Ground Wire) | под заказ | 800 руб. | ||
| 58 | 910103-5612 | Болт с шайбой (Bolt Washer) | под заказ | 170 руб. | ||
| 59 | 3BA-66311-0 | Блокировка задней передачи Lever (Reverse Lock Lever) | под заказ | 4780 руб. | ||
| 60 | 3AL-66333-0 | Lock Lever Рукоятка (Lock Lever Grip) | под заказ | 590 руб. | ||
| 60 | SC-RB070 | (не оригинальный аналог) Ручка рычага блокировки реверса Tohatsu / Mercury SC-RB070 | под заказ | 630 руб. | ||
| 61 | 346-66334-0 | Стопор (Stopper) | под заказ | 190 руб. | ||
| 62 | 3AL-05254-0 | Плечевой болт (Shoulder Bolt) | под заказ | 1380 руб. | ||
| 63 | 940103-0800 | Шайба (Washer) | под заказ | 150 руб. | ||
| 64 | 3AL-05212-0 | Втулка (Bushing) | под заказ | 260 руб. | ||
| 65 | 3AA-83719-0 | Шайба 8.5-18-1.6 (Washer 8.5-18-1.6) | 2 шт | 400 руб. | ||
| 66 | 3R0-66308-0 | Шайба 6-16-1.5 (Washer 6-16-1.5) | под заказ | 240 руб. | ||
| 67 | 3BA-66322-0 | Блокировка задней передачи (Reverse Lock) | под заказ | 4160 руб. | ||
| 68 | 3BA-66313-0 | Блокировка задней передачи Arm (Reverse Lock Arm) | под заказ | 1580 руб. | ||
| 68 | 3BA-66313-1 | (актуальный код замены) Рычаг блокировки задней передачи - Reverse Lock Arm | под заказ | 1640 руб. | ||
| 69 | 3BA-63207-0 | Воротник (Collar) | под заказ | 300 руб. | ||
| 70 | 3G2-66324-0 | Shaft Блокировка задней передачи B (Shaft Reverse Lock B) | под заказ | 720 руб. | ||
| 71 | 945303-0500 | Уплотнительное кольцо (E-ring) | 2 шт | 170 руб. | ||
| 72 | 3BA-66323-0 | Блокировка задней передачи Lever Пружина (Reverse Lock Lever Spring) | под заказ | 730 руб. | ||
| 73 | 3BA-66315-0 | Блокировка задней передачи Пружина (Reverse Lock Spring) | под заказ | 680 руб. | ||
| 74 | 3BA-66305-0 | Соединитель блокировки задней передачи (Reverse Lock Link) | под заказ | 570 руб. | ||
| 75 | 951403-0535 | Стопор пружины (Spring Pin) | под заказ | 180 руб. | ||
| 76 | 345-05223-1 | Защёлка рычага (Rod Snap) | 28 шт | 280 руб. | ||
| 77 | 9161E3-0885 | Болт (Bolt) | под заказ | 570 руб. | ||
| 78 | 930103-0800 | Гайка (Nut) | 10 шт | 280 руб. | ||
| 79 | 940103-0800 | Шайба (Washer) | под заказ | 150 руб. | ||
| 80 | 3AAQ62105-0 | Винт струбцины Kit (Clamp Screw Kit) | под заказ | 5830 руб. | ||
| 80 | 3RSQ62105-1 | (актуальный код замены) Винт струбцины - комплект - Clamp Screw Kit | под заказ | 5040 руб. | ||
| 81 | 3AAQ62108-0 | Зажимы и винты, в сборе (Clamp?screw Ass) | под заказ | 4280 руб. | ||
| 82 | 3AA-62106-0 | Винт струбцины (Clamp Screw) | под заказ | 2930 руб. | ||
| 83 | 332Q62102-1 | Винт струбцины Handle (Clamp Screw Handle) | под заказ | 1300 руб. | ||
| 84 | 3C8-62104-1 | Заклёпка 3-22 (Rivet 3-22) | под заказ | 150 руб. | ||
| 84 | 3C8-62104-2 | (актуальный код замены) Заклёпка 3-22 - Rivet 3-22 | 2 шт | 110 руб. | ||
| 85 | 332-62101-1 | Винт зажимной колодки (Pad Clamp Screw) | под заказ | 610 руб. | ||
| 86 | 3C8-62107-0 | Плечевой болт (Shoulder Bolt) | под заказ | 1010 руб. | ||
Время выполнения запроса 4.1718468666077 сек.
склад запчастей для водомоторной техники