вконтакте

Контактный телефон: +7 (981) 121-46-93, +7 (800) 200-90-76 , Email: parts-katalog@yandex.ru, где купить

 
 

  Логин:

Пароль:

Регистрация

www.partskatalog.ru Все каталоги Запчасти Mercury Запчасти Suzuki Запчасти Tohatsu Запчасти Honda Контакты



УВАЖАЕМЫЕ КЛИЕНТЫ!
C 19 ДЕКАБРЯ 2025 ПО 02 МАРТА 2026 ГОДА ОТДЕЛ ЗАПЧАСТЕЙ И СЕРВИС РАБОТАТЬ НЕ БУДУТ
ПРОДАЖА ЛОДОЧНЫХ МОТОРОВ В ШТАТНОМ РЕЖИМЕ
ОБ ИЗМЕНЕНИЯХ В ГРАФИКЕ РАБОТЫ ЧИТАЙТЕ НА САЙТА



назад Раздел:   вперёд

Вернуться к выбору узлов мотора

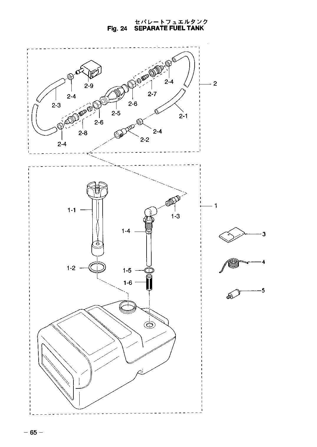
   Fuel Tank Remote
Топливный бак Remote      


ДЕТАЛИРОВКА ДЛЯ МОДЕЛИ: TOHATSU MFS30A 00221050-1

Лодочный четырёхтактный мотор 
 MFS30A 00221050-1 - Топливный бак Remote
Номер на
рисунке
АртикулНаименованиеQTYКол-во
на складе
Цена
013C7-70177-0

Топливный бак в сборе (Fuel Tank Assy)

под заказ23230 руб.
013KZ-70177-0

    (актуальный код замены) Топливный бак Ass~y - Fuel Tank Ass~y

под заказ24010 руб.
01-013C7-70050-0

Fuel Gauge Vented Cap в сборе (Fuel Gauge Vented Cap Assy)

под заказ3940 руб.
01-013C7-70050-1

    (актуальный код замены) Fuel Gauge Vented Колпачок Ass~y - Fuel Gauge Vented Cap Ass~y

1 штнет сведений
01-023C7-70021-0

Cap Прокладка (Cap Gasket)

под заказнет сведений
01-033E0-70270-0

Male Quick Connect (Male Quick Connect)

под заказ3590 руб.
01-03SF80211-3

   (не оригинальный аналог) Адаптер топливный SUNFINE тип Suzuki, Mercury, Tohatsu 3E0-70270-0

1 шт1270 руб.
01-043C7-70155-0

Fuel Pick выше (Fuel Pick Up)

под заказ1760 руб.
01-053C7-70199-0

Уплотнительное кольцо (O-ring)

под заказ180 руб.
01-063C7-70113-0

Фильтр (Filter)

2 шт470 руб.
023H6-70200-0

Primer Bulb в сборе - замена 3h6-70200-1 (Primer Bulb Assy - замена 3h6-70200-1)

под заказ10260 руб.
023H6-70200-2

    (актуальный код замены) Топливный шланг с грушей и коннекторами - Primer Bulb Assy

4 шт11670 руб.
023H6-70200-1

Primer Bulb в сборе - (Primer Bulb Assy - )

под заказ11010 руб.
02-023B2-70281-0

Топливный коннектор замена 3gf-70281-0 (Fuel Connector замена 3gf-70281-0)

под заказ3350 руб.
02-023GF-70281-0

    (актуальный код замены) Топливный коннектор - Fuel Connector

под заказ3670 руб.
02-04332-70201-0

Струбцина (Clamp)

под заказ340 руб.
02-053C7-70211-0

Primer Bulb (Primer Bulb)

под заказ2140 руб.
02-053C7-70211-1

    (актуальный код замены) Топливная груша - Primer Bulb

под заказ2240 руб.
02-063C7-70217-0

Струбцина (Clamp)

под заказ360 руб.
02-073C7-70220-1

Joint A в сборе In (Joint A Assy In)

под заказ1050 руб.
02-083C7-70224-1

Joint A в сборе Out (Joint A Assy Out)

под заказ1050 руб.
02-09394-70250-0

Топливный коннектор замена 3gr-70250-0 (Fuel Connector замена 3gr-70250-0)

под заказ2670 руб.
02-093GR-70250-0

    (актуальный код замены) Топливный коннектор - Fuel Connector

4 шт3250 руб.
033H6-72100-0

Набор инструмента (Tool Assy)

под заказ3070 руб.
033BJ-72100-0

    (актуальный код замены) Набор инструмента - Tool Kit

под заказ4120 руб.
043B7-72201-0

Шнур 6-1600 (Rope 6-1600)

под заказ550 руб.
05336-60007-0

Заглушка отверстия промывки двигателя водой (Flushing Plug)

3 шт860 руб.

Время выполнения запроса 1.594386100769 сек.

 
 

данный сайт носит информационный характер и не является публичной офертой

склад запчастей для водомоторной техники