вконтакте

Контактный телефон: +7 (981) 121-46-93, +7 (800) 200-90-76 , Email: parts-katalog@yandex.ru, где купить

 
 

  Логин:

Пароль:

Регистрация

www.partskatalog.ru Все каталоги Запчасти Mercury Запчасти Suzuki Запчасти Tohatsu Запчасти Honda Контакты

назад Раздел:   вперёд

Вернуться к выбору узлов мотора

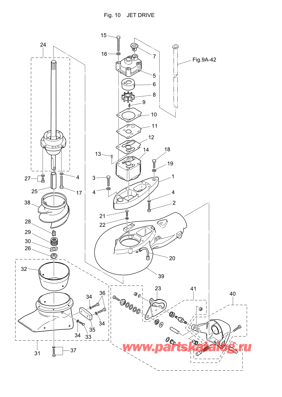
   Fig-12 Jet Drive
Fig-12 Jet Drive      


ДЕТАЛИРОВКА ДЛЯ МОДЕЛИ: TOHATSU 25-MX (002-21025-9R)

Подвесной двухтактный лодочный мотор Tohatsu 25-MX (002-21025-9R) - Fig-12 Jet Drive

Время выполнения запроса 1.1606621742249 сек.

 
 

данный сайт носит информационный характер и не является публичной офертой

склад запчастей для водомоторной техники