вконтакте

Контактный телефон: +7 (981) 121-46-93, +7 (800) 200-90-76 , Email: parts-katalog@yandex.ru, где купить

 
 

  Логин:

Пароль:

Регистрация

www.partskatalog.ru Все каталоги Запчасти Mercury Запчасти Suzuki Запчасти Tohatsu Запчасти Honda Контакты



УВАЖАЕМЫЕ КЛИЕНТЫ!
C 19 ДЕКАБРЯ 2025 ПО 02 МАРТА 2026 ГОДА ОТДЕЛ ЗАПЧАСТЕЙ И СЕРВИС РАБОТАТЬ НЕ БУДУТ
ПРОДАЖА ЛОДОЧНЫХ МОТОРОВ В ШТАТНОМ РЕЖИМЕ
ОБ ИЗМЕНЕНИЯХ В ГРАФИКЕ РАБОТЫ ЧИТАЙТЕ НА САЙТА




Выбрать другую модель

назад Раздел:   вперёд

вернуться к списку узлов и деталей

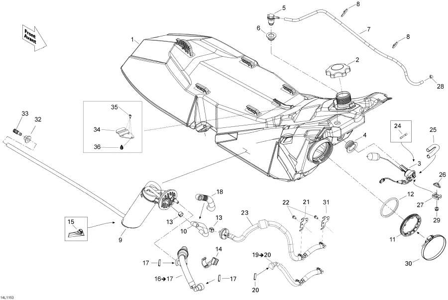
ДЕТАЛИРОВКА ДЛЯ МОДЕЛИ: LYNX Xtrim BoonDocker 800R E-TEC, 2011


Snowmobiles Lynx  - Fuel System / Топливная система

Номер на
рисунке
АртикулНаименованиеКол-во
на складе
Цена
1 513033610

Топливный бак (Fuel Tank)

под заказ23700 руб.
2 513033025

Топливный бак Колпачок (Fuel Tank Cap)

под заказ1720 руб.
2 580259400

(последний код) BOUCHON RES.ESS*CAP-FUEL TANK

под заказпо запросу
2 SM-07093

     (не оригинальная запчасть) Крышка топливного бака BRP SM-07093

под заказ1 730 руб.
2 AT-07559

     (не оригинальная запчасть) Крышка топливного бака универсальная AT-07559

под заказ3 830 руб.
3 513033624

Fuel Level Датчик в сборе (Fuel Level Sensor Assy)

под заказ5460 руб.
3 513033642

(последний код) Fuel Level Sensor

под заказ5950 руб.
4 513033606

Пыльник (Grommet)

под заказ1380 руб.
5 513033188

Обратный клапан (Check Valve)

под заказ2570 руб.
6 513033596

Пыльник (Grommet)

под заказ1380 руб.
6 513033189

(последний код) PASSE-FILS *GROMMET

под заказ950 руб.
7 415080200

Шланг, Polyurethane (Hose, Polyurethane)

под заказ1150 руб.
7 709000183

(последний код) BOYAU POLYURE *POLYURETHANE H

под заказпо запросу
8 414115200

Tie-Rap 180 mm (Tie-Rap 180 mm)

под заказ130 руб.
8 414587300

(последний код) TIE RAP *TIE-RAP

под заказ110 руб.
9 513033579

Топливный насос (Fuel Pump)

под заказ37900 руб.
9 513033643

(последний код) Fuel Pump Ass-y E-tec

под заказ47300 руб.
9 SM-07213

     (не оригинальная запчасть) Топливный насос BRP SM-07213

под заказ9 930 руб.
10 513033544

дляmed Шланг (Formed Hose)

под заказ2000 руб.
11 513033180

Кольцо (Ring)

под заказ1290 руб.
12 513033334

Прокладка (Gasket)

под заказ1780 руб.
12 SM-07213

     (не оригинальная запчасть) Топливный насос BRP SM-07213

под заказ9 930 руб.
12 SM-07260

     (не оригинальная запчасть) Уплотнительное кольцо BRP SM-07260

под заказ1 250 руб.
13 293650047

Grimp Струбцина (Grimp Clamp)

под заказ290 руб.
14 513033336

Фильтр Зажим (Filter Clip)

под заказ910 руб.
15 415129451

Топливный фильтр (Fuel Filter)

под заказ2460 руб.
15 SM-07353

     (не оригинальная запчасть) Фильтр топливный BRP SM-07353

под заказ1 710 руб.
16 513033560

Шланг в сборе. Includes 16 to 17 (Hose Assy. Includes 16 to 17)

под заказ14890 руб.
17 513033135

Locking Зажим (Locking Clip)

под заказ430 руб.
17 UP-12740

     (не оригинальная запчасть) Фиксатор топливного шланга BRP UP-12740

под заказ140 руб.
18 415080000

Трубопровод 16 mm (Tubing 16 mm)

под заказ720 руб.
18 513033461

(последний код) PROTECTOR TUBE

под заказ560 руб.
19 513033594

Шланг в сборе. Includes 19 to 20 (Hose Assy. Includes 19 to 20)

под заказ6430 руб.
20 513033135

Locking Зажим (Locking Clip)

под заказ430 руб.
20 UP-12740

     (не оригинальная запчасть) Фиксатор топливного шланга BRP UP-12740

под заказ140 руб.
21 513033542

Кронштейн (Bracket)

под заказ910 руб.
21 513033142

(последний код) ATTACHE *BRACKET

под заказпо запросу
22 207551044

Фланецd Шестигранный винт M5 X 10 (Flanged Hex. Screw M5 X 10)

под заказ290 руб.
23 513033637

Шланг в сборе. Includes 23 to 24 (Hose Assy. Includes 23 to 24)

под заказ16080 руб.
23 SM-07355

     (не оригинальная запчасть) Фильтр топливный BRP SM-07355

под заказ1 220 руб.
24 710001995

Предохранитель, 0.5 Ampere (Fuse, 0.5 Ampere)

под заказ390 руб.
25 415079900

Трубопровод 10 mm (Tubing 10 mm)

под заказ290 руб.
25 710001437

(последний код) GAINE *PROTECTOR TUBE

под заказ230 руб.
26 293750002

Tie-Rap 142 mm (Tie-Rap 142 mm)

под заказ130 руб.
27 515176795

Зажим (Clip)

под заказ430 руб.
27 293750031

(последний код) ANCRAGE TIE RAP*TIE RAP MOUNT

под заказ340 руб.
28 414554800

Пружина Струбцина (Spring Clamp)

под заказ140 руб.
28 414278600

(последний код) BRIDE A RESSORT*CLAMP-SPRING

под заказ110 руб.
29 390402000

Pop Заклёпка 3 / 16" (Pop Rivet 3/16")

под заказ140 руб.
30 27048

Струбцина Zebra 90-110 / 9 (Clamp Zebra 90-110/9)

под заказ330 руб.
31 513033593

Кронштейн (Bracket)

под заказ1200 руб.
32 28037

Пыльник (Grommet)

под заказ340 руб.
32

(последний код)

под заказпо запросу
33 414872100

Топливный фильтр (Fuel Filter)

под заказ1150 руб.
33 07-241-02

     (не оригинальная запчасть) Фильтр топливный в бак BRP/Polaris 07-241-02

под заказ720 руб.
34 510005129

Седло front fastening Пластина (Seat front fastening plate)

под заказ680 руб.
35 205461046

Винт socket M6 x 10 (Screw socket M6 x 10)

под заказ120 руб.
36 293800060

Loctite 243, 10 ml (Loctite 243, 10 ml)

под заказ2150 руб.
36 420897651

(последний код) LOCTITE-243

под заказпо запросу
lynx

 
 

данный сайт носит информационный характер и не является публичной офертой

склад запчастей для водомоторной техники