вконтакте

Контактный телефон: +7 (981) 121-46-93, +7 (800) 200-90-76 , Email: parts-katalog@yandex.ru, где купить

 
 

  Логин:

Пароль:

Регистрация

www.partskatalog.ru Все каталоги Запчасти Mercury Запчасти Suzuki Запчасти Tohatsu Запчасти Honda Контакты


Выбрать другую модель

назад Раздел:   вперёд

вернуться к списку узлов и деталей

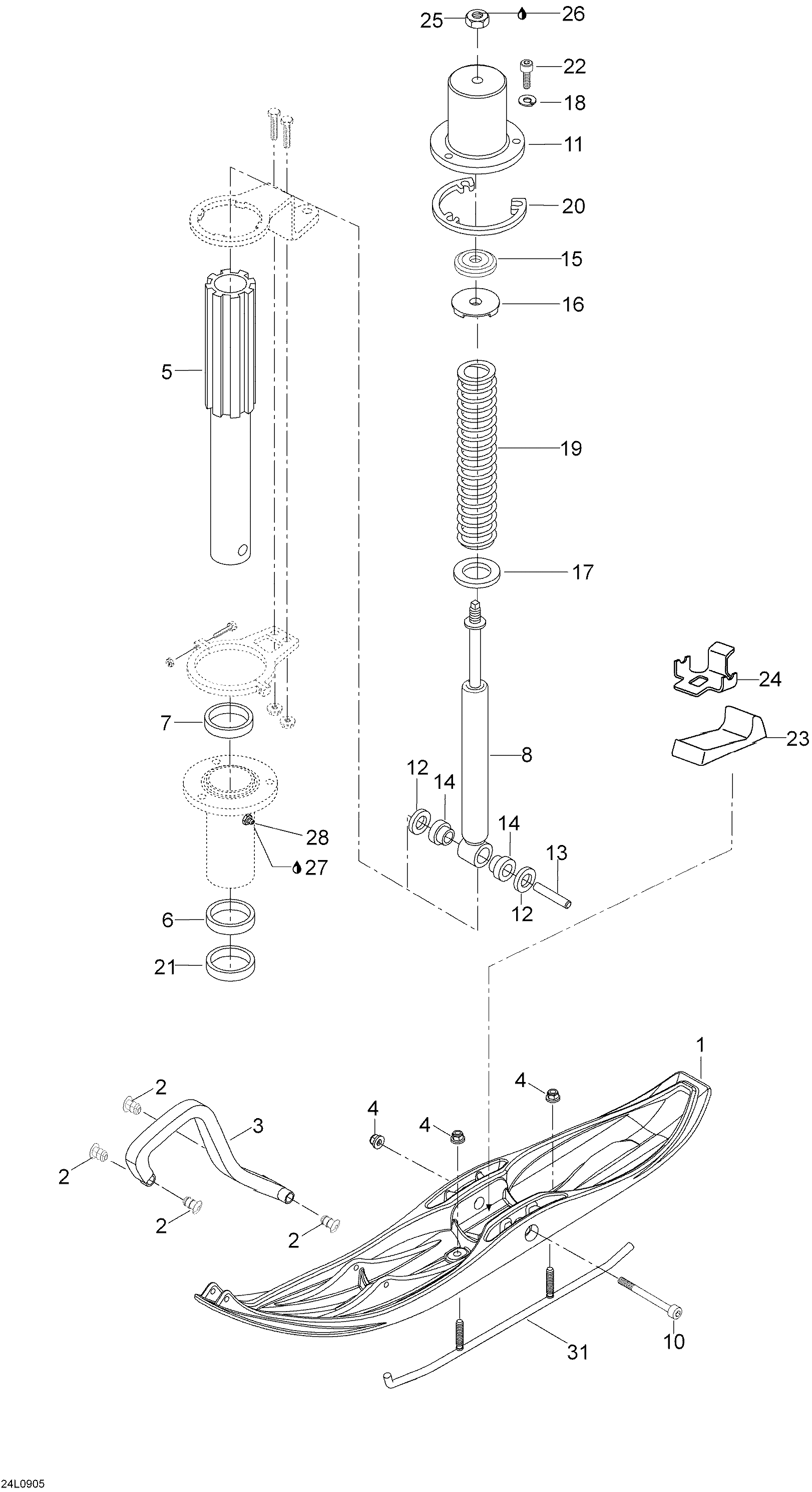
ДЕТАЛИРОВКА ДЛЯ МОДЕЛИ: LYNX YETI Pro 550, 2009


Snow mobile Lynx  - Front Suspension And Ski - Передняя подвеска и лыжи

Номер на
рисунке
АртикулНаименованиеКол-во
на складе
Цена
1 605153775

ADJ-ski (ADJ-ski)

под заказпо запросу
1 605148440

(последний код) ADJ-Ski, Pre Ass-y

под заказпо запросу
2 505071812

Фиксатор (Retainer)

под заказ550 руб.
60 руб.
2 860200247

(последний код) ATTACHE *FASTENER KIT

под заказ60 руб.
2 SM-08352

     (не оригинальная запчасть) Крепеж ручки передней лыжи BRP SM-08352

под заказ1 590 руб.
3 505070963

Handle (Handle)

под заказ2850 руб.
3 572101000

(последний код) POIGNEE PLASTIC*HANDLE-PLASTIC

под заказ1680 руб.
4 33074

Elastic Фланецd Гайка M10 (Elastic flanged nut M10)

под заказ460 руб.
4

(последний код)

под заказпо запросу
5 5245362

Ski leg (Ski leg)

под заказ29900 руб.
5

(последний код)

под заказпо запросу
6 414803200

нижний Подушка (Lower cushion)

под заказ870 руб.
6

(последний код)

под заказпо запросу
7 414803100

верхний Подушка (Upper cushion)

под заказ620 руб.
7 545666

(последний код) COUSSINET SUP. *CUSHION-UPPER

под заказпо запросу
8 505070920

Shock (Shock)

под заказ6180 руб.
9 605352643

Carbide ski runner в сборе (Carbide ski runner assy)

под заказ11050 руб.
9 605352283

(последний код) Ski Runner zinc-coated

под заказ10150 руб.
9 100305T

     (не оригинальная запчасть) Конек лыжи 1863 BRP (без вставок)

под заказ1 900 руб.
9 100316T

     (не оригинальная запчасть) Конек лыжи снегохода BRP 100316T

под заказ3 550 руб.
10 40225

Socket head Винт M10 x 140 (Socket head screw M10 x 140)

под заказ910 руб.
10

(последний код)

под заказпо запросу
11 605249284

Крышка (Cover)

под заказ3490 руб.
11

(последний код)

под заказпо запросу
12 605448594

Проставка (Spacer)

под заказ190 руб.
13 605348921

Подушка (Cushion)

под заказ680 руб.
13 505073209

(последний код) AXE SKI *SKI AXLE

под заказ910 руб.
14 572034500

Проставка (Spacer)

под заказ740 руб.
14 SM-08800

     (не оригинальная запчасть) Амортизатор передней подвески BRP SM-08800

под заказ13 200 руб.
15 605455680

Резиновый демпфер (Rubber damper)

под заказ980 руб.
15

(последний код)

под заказпо запросу
16 605354835

Стопор (Stopper)

под заказ690 руб.
17 549493

Шайба (Washer)

под заказ980 руб.
17

(последний код)

под заказпо запросу
18 20014

Шайба с блокировкой A8 (Lock washer A8)

под заказ20 руб.
19 5241330

Пружина (Spring)

под заказ4710 руб.
19

(последний код)

под заказпо запросу
20 503145600

Проставка (Spacer)

под заказ1300 руб.
21 316373

Сальник (Oil seal)

под заказ2210 руб.
21

(последний код)

под заказпо запросу
22 40305

Socket head Винт M8 x 20 (Socket head screw M8 x 20)

под заказ60 руб.
22

(последний код)

под заказпо запросу
23 605348439

Резиновый демпфер (Rubber damper)

под заказ1890 руб.
24 605348437

Sвышеport Пластина (Support plate)

под заказ1080 руб.
25 33012

Эластичная гайка со стопором M10 (Elastic stop nut M10)

под заказ40 руб.
25

(последний код)

под заказпо запросу
26 293800115

Loctite 480 (Loctite 480)

под заказпо запросу
27 219700417

Synthetic Смазка (Synthetic grease)

под заказ7860 руб.
27 293550033

(последний код) SYNTHETIC GREASE 10X14OZ (1шт=1кор=10 туб)

под заказ10050 руб.
28 34019

Смазочный ниппель (Grease nipple)

под заказ1000 руб.
28

(последний код)

под заказпо запросу
lynx

 
 

данный сайт носит информационный характер и не является публичной офертой

склад запчастей для водомоторной техники