вконтакте

Контактный телефон: +7 (981) 121-46-93, +7 (800) 200-90-76 , Email: parts-katalog@yandex.ru, где купить

 
 

  Логин:

Пароль:

Регистрация

www.partskatalog.ru Все каталоги Запчасти Mercury Запчасти Suzuki Запчасти Tohatsu Запчасти Honda Контакты



УВАЖАЕМЫЕ КЛИЕНТЫ!
C 19 ДЕКАБРЯ 2025 ПО 02 МАРТА 2026 ГОДА ОТДЕЛ ЗАПЧАСТЕЙ И СЕРВИС РАБОТАТЬ НЕ БУДУТ
ПРОДАЖА ЛОДОЧНЫХ МОТОРОВ В ШТАТНОМ РЕЖИМЕ
ОБ ИЗМЕНЕНИЯХ В ГРАФИКЕ РАБОТЫ ЧИТАЙТЕ НА САЙТА




Выбрать другую модель

назад Раздел:   вперёд

вернуться к списку узлов и деталей

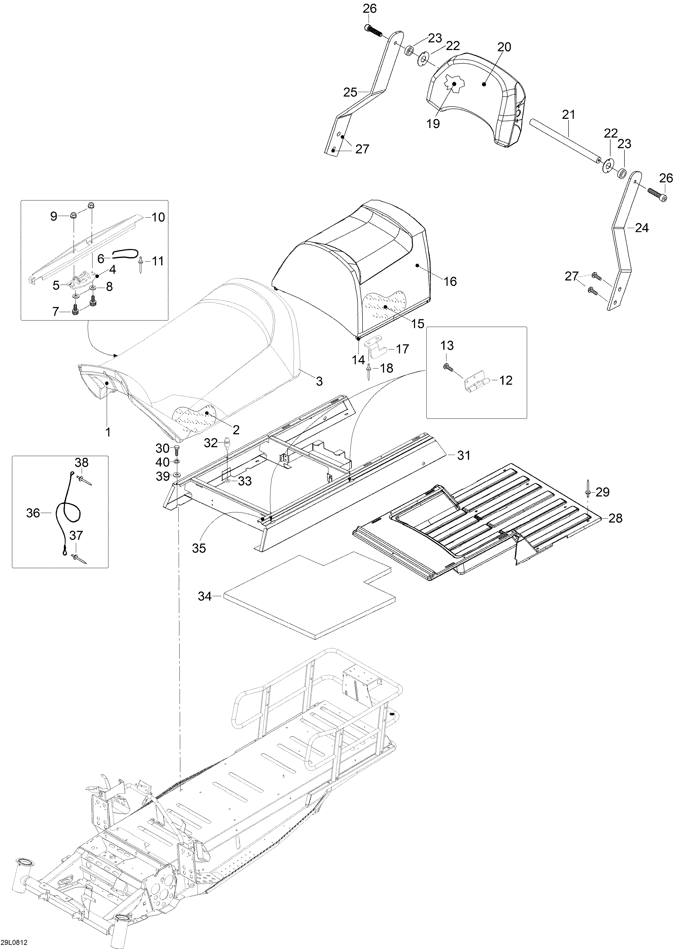
ДЕТАЛИРОВКА ДЛЯ МОДЕЛИ: LYNX YETI Pro V-800, 2008


Снегоход Лункс  - Seat - Седло

Номер на
рисунке
АртикулНаименованиеКол-во
на складе
Цена
1 605251388

Седло Основание, front (Seat base, front)

под заказ7610 руб.
2 605254497

Foam, front (Foam, front)

под заказ23900 руб.
2 605255689

(последний код) FRONT FOAM SEAT

под заказ26000 руб.
3 605254494

Крышка, front (Cover, front)

под заказ29600 руб.
3 605255216

(последний код) SEAT COVER FRONT, SUV

под заказ32200 руб.
4 269700076

Крышка (Cover)

под заказ790 руб.
4 269700109

(последний код) LOQUET ASSEMBLE*LATCH ASS Y

под заказ2130 руб.
4 011-800

     (не оригинальная запчасть) Замок (фиксатор) BRP 011-800

под заказ2 370 руб.
5 269700077

Handle (Handle)

под заказ1570 руб.
5 269700109

(последний код) LOQUET ASSEMBLE*LATCH ASS Y

под заказ2130 руб.
5 011-800

     (не оригинальная запчасть) Замок (фиксатор) BRP 011-800

под заказ2 370 руб.
6 269700017

Пружина (Spring)

под заказ860 руб.
6 269000017

(последний код) RESSORT *SPRING

под заказ680 руб.
7 40276

Socket head Винт M6 x 25 (Socket head screw M6 x 25)

под заказ60 руб.
7

(последний код)

под заказпо запросу
8 20003

Шайба A6, 4 (Washer A6,4)

под заказ20 руб.
8

(последний код)

под заказпо запросу
9 33010

Эластичная гайка со стопором M6 (Elastic stop nut M6)

под заказ20 руб.
9 842042

(последний код) LOCKING NUT (USE 33010)

под заказ20 руб.
10 605352483

Sвышеport Пластина (Support plate)

под заказ1790 руб.
11 36088

Заклёпка (Rivet)

под заказ530 руб.
11

(последний код)

под заказпо запросу
12 605351798

Hinge (Hinge)

под заказ1370 руб.
13 40890

Wronic-Винт 4, 2 x 16 (Wronic-screw 4,2 x 16)

под заказ30 руб.
14 605251390

Седло Основание, rear. Only available as kit P / N 605155187 (Seat base, rear. Only available as kit P/N 605155187)

под заказ2810 руб.
15 605254498

Foam, rear. Only available as kit P / N 605155187 (Foam, rear. Only available as kit P/N 605155187)

под заказ12440 руб.
15 605255691

(последний код) REAR SEAT FOAM HIGH DENSITY FOAM

под заказ13560 руб.
16 605254496

Крышка, rear. Only available as kit P / N 605155187 (Cover, rear. Only available as kit P/N 605155187)

под заказ12610 руб.
17 605351808

L.H. Locking Крючок. Only available as kit P / N 605155187 (L.H. Locking hook. Only available as kit P/N 605155187)

под заказ960 руб.
17 605352007

R.H. Locking Крючок. Only available as kit P / N 605155187 (R.H. Locking hook. Only available as kit P/N 605155187)

под заказ960 руб.
18 36087

Заклёпка. Only available as kit P / N 605155187 (Rivet. Only available as kit P/N 605155187)

под заказ80 руб.
18

(последний код)

под заказпо запросу
19 605254497

Foam. Only available as kit P / N 605155187 (Foam. Only available as kit P/N 605155187)

под заказ23900 руб.
19 605255689

(последний код) FRONT FOAM SEAT

под заказ26000 руб.
20 605353881

Крышка. Only available as kit P / N 605155187 (Cover. Only available as kit P/N 605155187)

под заказпо запросу
21 510004377

верхний backrest axle. Only available as kit P / N 605155187 (Upper backrest axle. Only available as kit P/N 605155187)

под заказ3350 руб.
22 510004379

Шайба. Only available as kit P / N 605155187 (Washer. Only available as kit P/N 605155187)

под заказ670 руб.
23 510004378

Rubber Регулировочная шайба. Only available as kit P / N 605155187 (Rubber shim. Only available as kit P/N 605155187)

под заказ620 руб.
23 605455359

(последний код) SHIM-RUBBER

под заказ140 руб.
24 605354797

L.H. Рычаг. Only available as kit P / N 605155187 (L.H. Arm. Only available as kit P/N 605155187)

под заказ2550 руб.
24 605355503

(последний код) BRAS GA *SIDE SUPPORT LH

под заказ1740 руб.
25 605354796

R.H. Рычаг. Only available as kit P / N 605155187 (R.H. Arm. Only available as kit P/N 605155187)

под заказ1590 руб.
25 605355504

(последний код) BRAS DR *SIDE SUPPORT RH

под заказ1740 руб.
26 205982586

Socket head Винт M8 x 25. Only available as kit P / N 605155187 (Socket head screw M8 x 25. Only available as kit P/N 605155187)

под заказ290 руб.
27 40316

Винт M8 x 20. Only available as kit P / N 605155187 (Screw M8 x 20. Only available as kit P/N 605155187)

под заказ110 руб.
27

(последний код)

под заказпо запросу
28 605154593

Крышка (Cover)

под заказ12610 руб.
29 36036

Заклёпка (Rivet)

под заказ50 руб.
29 3699036

(последний код) RIVET NOIR *RIVET-BLACK

под заказ60 руб.
30 40316

Шестигранный винт M6 x 16 (Hex. screw M6 x 16)

под заказ110 руб.
30

(последний код)

под заказпо запросу
31 605254706

Седло Основание (Seat base)

под заказ15810 руб.
32 605452035

Lock Штифт (Lock pin)

под заказ960 руб.
33 33010

Эластичная гайка со стопором M6 (Elastic stop nut M6)

под заказ20 руб.
33 842042

(последний код) LOCKING NUT (USE 33010)

под заказ20 руб.
34 605352460

Foam (Foam)

под заказ4210 руб.
35 28413

Прокладка (Gasket)

под заказ610 руб.
36 546777

Фиксатор Кабели (Retainer cable)

под заказ1350 руб.
36

(последний код)

под заказпо запросу
37 36037

Заклёпка (Rivet)

под заказ110 руб.
37

(последний код)

под заказпо запросу
38 36489

Заклёпка (Rivet)

под заказ80 руб.
38

(последний код)

под заказпо запросу
39 20009

Шайба (Washer)

под заказпо запросу
39 542376

(последний код) WASHER

под заказпо запросу
40 20052

Шайба с блокировкой (Lock washer)

под заказ120 руб.
40 234161471

(последний код) WASHER-LOCK BLACK DIN.127B

под заказ130 руб.
lynx

 
 

данный сайт носит информационный характер и не является публичной офертой

склад запчастей для водомоторной техники