вконтакте

Контактный телефон: +7 (981) 121-46-93, +7 (800) 200-90-76 , Email: parts-katalog@yandex.ru, где купить

 
 

  Логин:

Пароль:

Регистрация

www.partskatalog.ru Все каталоги Запчасти Mercury Запчасти Suzuki Запчасти Tohatsu Запчасти Honda Контакты



УВАЖАЕМЫЕ КЛИЕНТЫ!
C 19 ДЕКАБРЯ 2025 ПО 02 МАРТА 2026 ГОДА ОТДЕЛ ЗАПЧАСТЕЙ И СЕРВИС РАБОТАТЬ НЕ БУДУТ
ПРОДАЖА ЛОДОЧНЫХ МОТОРОВ В ШТАТНОМ РЕЖИМЕ
ОБ ИЗМЕНЕНИЯХ В ГРАФИКЕ РАБОТЫ ЧИТАЙТЕ НА САЙТА




Выбрать другую модель

назад Раздел:   вперёд

вернуться к списку узлов и деталей

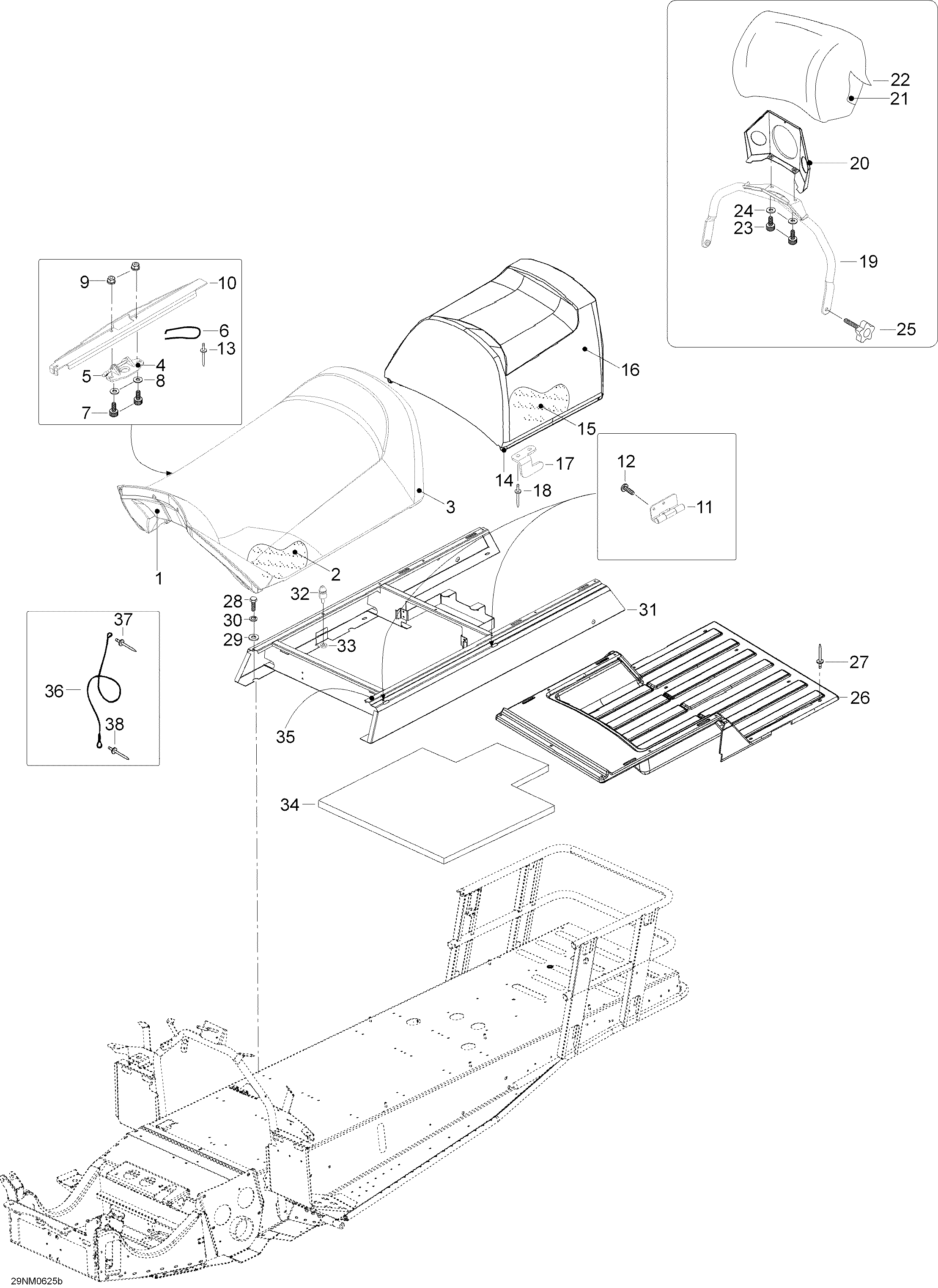
ДЕТАЛИРОВКА ДЛЯ МОДЕЛИ: LYNX Yeti 600 SDI, 2006


Снегоходы lynx  - Seat

Номер на
рисунке
АртикулНаименованиеКол-во
на складе
Цена
1605251388

Седло Основание (Seat base)

под заказ7610 руб.
2605251389

Foam, front (Foam, front)

под заказ11050 руб.
3605251422

Крышка (Cover)

под заказ41700 руб.
4269700076

Крышка (Cover)

под заказ790 руб.
4269700109

(последний код) LOQUET ASSEMBLE*LATCH ASS Y

под заказ2130 руб.
4011-800

     (не оригинальная запчасть) Замок (фиксатор) BRP 011-800

под заказ2 370 руб.
5269700077

Handle (Handle)

под заказ1570 руб.
5269700109

(последний код) LOQUET ASSEMBLE*LATCH ASS Y

под заказ2130 руб.
5011-800

     (не оригинальная запчасть) Замок (фиксатор) BRP 011-800

под заказ2 370 руб.
6269700017

Пружина (Spring)

под заказ860 руб.
6269000017

(последний код) RESSORT *SPRING

под заказ680 руб.
740276

Socket head Винт M6 x 25 (Socket head screw M6 x 25)

под заказ60 руб.
7

(последний код)

под заказпо запросу
820003

Шайба A6, 4 (Washer A6,4)

под заказ20 руб.
8

(последний код)

под заказпо запросу
933010

Эластичная гайка со стопором M6 (Elastic stop nut M6)

под заказ20 руб.
9842042

(последний код) LOCKING NUT (USE 33010)

под заказ20 руб.
10605352483

Sвышеport Пластина (Support plate)

под заказ1790 руб.
11605351798

Hinge (Hinge)

под заказ1370 руб.
1240890

Wronic-Винт, 4, 2 x 16 (Wronic-screw, 4,2 x 16)

под заказ30 руб.
1336088

Заклёпка (Rivet)

под заказ530 руб.
13

(последний код)

под заказпо запросу
14605251390

Седло Основание, rear (Seat base, rear)

под заказ2810 руб.
15605251391

Foam, rear (Foam, rear)

под заказ9630 руб.
16605251425

Крышка (Cover)

под заказ14270 руб.
17605351808

L.H. Locking Крючок (L.H. Locking hook)

под заказ960 руб.
17605352007

R.H. Locking Крючок (R.H. Locking hook)

под заказ960 руб.
1836087

Заклёпка (Rivet)

под заказ80 руб.
18

(последний код)

под заказпо запросу
19605251730

Backrest tвышеe weld (Backrest tupe weld)

под заказ6090 руб.
20605252096

Sвышеport Пластина (Support plate)

под заказ2560 руб.
21605252104

Foam (Foam)

под заказ11050 руб.
22605251431

Крышка (Cover)

под заказ15220 руб.
2340066

Socket head Винт M8 x 16 (Socket head screw M8 x 16)

под заказ50 руб.
23

(последний код)

под заказпо запросу
2420014

Шайба с блокировкой A8 (Lock washer A8)

под заказ20 руб.
25510003533

Handle M8 x 35 (Handle M8 x 35)

под заказ2820 руб.
26605151397

Крышка (Cover)

под заказ10230 руб.
2736036

Заклёпка (Rivet)

под заказ50 руб.
273699036

(последний код) RIVET NOIR *RIVET-BLACK

под заказ60 руб.
2840029

Шестигранный винт M6 x 16 (Hex. screw M6 x 16)

под заказ30 руб.
2920009

Шайба A6.4 (Washer A6.4)

под заказпо запросу
29542376

(последний код) WASHER

под заказпо запросу
3020052

Шайба с блокировкой A6 (Lock washer A6)

под заказ120 руб.
30234161471

(последний код) WASHER-LOCK BLACK DIN.127B

под заказ130 руб.
31605252651

Седло Основание (Seat base)

под заказ14390 руб.
32605452035

Lock Штифт (Lock pin)

под заказ960 руб.
3333010

Эластичная гайка со стопором M6 (Elastic stop nut M6)

под заказ20 руб.
33842042

(последний код) LOCKING NUT (USE 33010)

под заказ20 руб.
34605352460

Foam (Foam)

под заказ4210 руб.
3528413

Сальникing (Sealing)

под заказ610 руб.
36546777

Фиксатор Кабели (Retainer cable)

под заказ1350 руб.
36

(последний код)

под заказпо запросу
3736037

Заклёпка (Rivet)

под заказ110 руб.
37

(последний код)

под заказпо запросу
3836489

Заклёпка (Rivet)

под заказ80 руб.
38

(последний код)

под заказпо запросу
lynx

 
 

данный сайт носит информационный характер и не является публичной офертой

склад запчастей для водомоторной техники