вконтакте

Контактный телефон: +7 (981) 121-46-93, +7 (800) 200-90-76 , Email: parts-katalog@yandex.ru, где купить

 
 

  Логин:

Пароль:

Регистрация

www.partskatalog.ru Все каталоги Запчасти Mercury Запчасти Suzuki Запчасти Tohatsu Запчасти Honda Контакты



УВАЖАЕМЫЕ КЛИЕНТЫ!
C 19 ДЕКАБРЯ 2025 ПО 02 МАРТА 2026 ГОДА ОТДЕЛ ЗАПЧАСТЕЙ И СЕРВИС РАБОТАТЬ НЕ БУДУТ
ПРОДАЖА ЛОДОЧНЫХ МОТОРОВ В ШТАТНОМ РЕЖИМЕ
ОБ ИЗМЕНЕНИЯХ В ГРАФИКЕ РАБОТЫ ЧИТАЙТЕ НА САЙТА




Выбрать другую модель

назад Раздел:   вперёд

вернуться к списку узлов и деталей

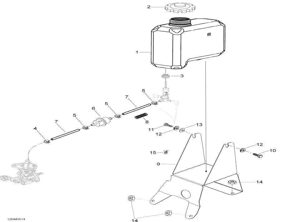
ДЕТАЛИРОВКА ДЛЯ МОДЕЛИ: LYNX Forest Fox, 2005


Snowmobile Лункс  - Oil Tank And Support - Масляный бак и Sвышеport

Номер на
рисунке
АртикулНаименованиеКол-во
на складе
Цена
1572106700

Масляный бак (Oil tank)

под заказпо запросу
1572091600

(последний код) RESERVOIR HUILE*TANK-OIL

под заказпо запросу
2519000044

Колпачок (Cap)

под заказ3350 руб.
2572071000

(последний код) BOUCHON *CAP

под заказ1930 руб.
207-288-01

     (не оригинальная запчасть) Крышка топливного/масляного бака BRP 07-288-01

под заказ660 руб.
3570023000

Пыльник (Grommet)

под заказ580 руб.
32890230

(последний код) GROMMET (USE 570023000)

под заказ450 руб.
3SM-07403

     (не оригинальная запчасть) Уплотнительная втулка масляного бачка BRP SM-07403

под заказ140 руб.
4414420700

Струбцина (Clamp)

под заказ140 руб.
427414420700

(последний код) SPRING CLIP 414420700

под заказ110 руб.
5414415200

Струбцина (Clamp)

под заказ140 руб.
5

(последний код)

под заказпо запросу
6414536500

Масляный фильтр (Oil filter)

под заказ310 руб.
607-246-05

     (не оригинальная запчасть) Фильтр масляный универсальный 07-246-05

под заказ370 руб.
607-246-06

     (не оригинальная запчасть) Фильтр масляный BRP 07-246-06

под заказ470 руб.
607-246-08

     (не оригинальная запчасть) Масляный фильтр 07-246-08

под заказ470 руб.
739046

Шланг (Hose)

под заказ1500 руб.
73999046

(последний код) HOSE 11/8 (USE 39046)

под заказ710 руб.
825005

Пружина (Spring)

под заказ8770 руб.
845005

(последний код) SPRING TR84X0.75X5.75X2500

под заказпо запросу
95246036

Масляный бак sвышеport (Oil tank support)

под заказ2770 руб.
9

(последний код)

под заказпо запросу
1040115

Шестигранный винт M6 x 12 (Hex. screw M6 x 12)

под заказ30 руб.
10061010

(последний код) SCREW-HEX. M6X10 DIN 933 M8.8 ZNE

под заказ20 руб.
1140114

Шестигранный винт M6 x 10 (hex. screw M6 x 10)

под заказ30 руб.
1220052

Пружинная шайба (Spring washer)

под заказ120 руб.
12234161471

(последний код) WASHER-LOCK BLACK DIN.127B

под заказ130 руб.
1320009

Шайба A6, 4 (Washer A6,4)

под заказпо запросу
13542376

(последний код) WASHER

под заказпо запросу
1433200

Elastic Фланецd Гайка M6 (Elastic flanged nut M6)

под заказпо запросу
1433072

(последний код) NUT-FLANGE HEX. M6 DIN 6927 8.8 YIC

под заказпо запросу
15414227300

Зажим (Clip)

под заказ290 руб.
15414943400

(последний код) PINCE *CLIP

под заказ230 руб.
lynx

 
 

данный сайт носит информационный характер и не является публичной офертой

склад запчастей для водомоторной техники