вконтакте

Контактный телефон: +7 (981) 121-46-93, +7 (800) 200-90-76 , Email: parts-katalog@yandex.ru, где купить

 
 

  Логин:

Пароль:

Регистрация

www.partskatalog.ru Все каталоги Запчасти Mercury Запчасти Suzuki Запчасти Tohatsu Запчасти Honda Контакты



УВАЖАЕМЫЕ КЛИЕНТЫ!
C 19 ДЕКАБРЯ 2025 ПО 02 МАРТА 2026 ГОДА ОТДЕЛ ЗАПЧАСТЕЙ И СЕРВИС РАБОТАТЬ НЕ БУДУТ
ПРОДАЖА ЛОДОЧНЫХ МОТОРОВ В ШТАТНОМ РЕЖИМЕ
ОБ ИЗМЕНЕНИЯХ В ГРАФИКЕ РАБОТЫ ЧИТАЙТЕ НА САЙТА




Выбрать другую модель

назад Раздел:   вперёд

вернуться к списку узлов и деталей

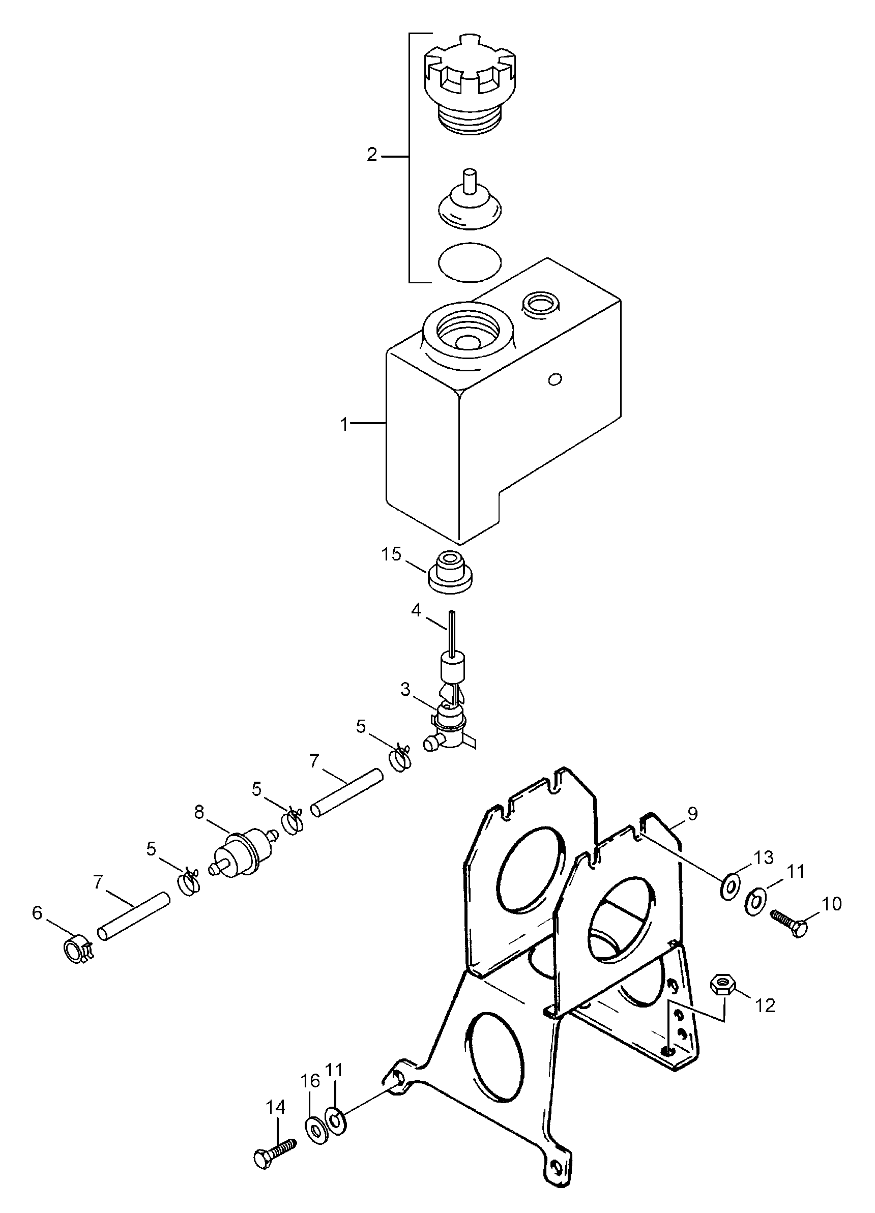
ДЕТАЛИРОВКА ДЛЯ МОДЕЛИ: LYNX Enduro 550 F, 2003


Snow mobile Лункс  - Oil Tank / Масляный бак

Номер на
рисунке
АртикулНаименованиеКол-во
на складе
Цена
1519000041

Масляный бак (Oil tank)

под заказ7030 руб.
2519000042

Масляный бак Колпачок (Oil tank cap)

под заказ3350 руб.
2519000017

(последний код) BOUCHON *CAP

под заказ2080 руб.
2SM-07091

     (не оригинальная запчасть) Крышка масляного бачка BRP SM-07091

под заказ1 950 руб.
333200

Elastic Фланец Гайка M6 (Elastic flange nut M6)

под заказпо запросу
333072

(последний код) NUT-FLANGE HEX. M6 DIN 6927 8.8 YIC

под заказпо запросу
440327

Self Саморез M6 (Self tapping screw M6)

под заказ60 руб.
440329

(последний код) HEX SCREW M6 X12 DIN 7500DZNE

под заказ40 руб.
520017

Serrated Шайба с блокировкой (Serrated lock washer)

под заказ20 руб.
6414536500

Масляный фильтр (Oil filter)

под заказ310 руб.
607-246-05

     (не оригинальная запчасть) Фильтр масляный универсальный 07-246-05

под заказ370 руб.
607-246-06

     (не оригинальная запчасть) Фильтр масляный BRP 07-246-06

под заказ470 руб.
607-246-08

     (не оригинальная запчасть) Масляный фильтр 07-246-08

под заказ470 руб.
7414681900

Поплавок (Float)

под заказпо запросу
72196819

(последний код) KOHO SENSORILLE(USE 414681900)

под заказпо запросу
8414681800

Переключатель-level (Switch-level)

под заказпо запросу
8216818

(последний код) OIL LEVEL SENSOR 414681800 BBD

под заказпо запросу
9414420700

Струбцина (Clamp)

под заказ140 руб.
927414420700

(последний код) SPRING CLIP 414420700

под заказ110 руб.
10414415200

Струбцина (Clamp)

под заказ140 руб.
10

(последний код)

под заказпо запросу
1139046

Шланг 11 / 8 (Hose 11/8)

под заказ1500 руб.
113999046

(последний код) HOSE 11/8 (USE 39046)

под заказ710 руб.
12570023000

Сальник для Датчик (Seal for sensor)

под заказ580 руб.
122890230

(последний код) GROMMET (USE 570023000)

под заказ450 руб.
12SM-07403

     (не оригинальная запчасть) Уплотнительная втулка масляного бачка BRP SM-07403

под заказ140 руб.
135348098

Deflector (Deflector)

под заказ590 руб.
1440026

Винт M5x12 (Screw M5x12)

под заказ30 руб.
14050814

(последний код) VIS *SCREW

под заказ20 руб.
1533062

Elastic Фланец Гайка M5 (Elastic flange nut M5)

под заказ230 руб.
15233251434

(последний код) NUT-FLANGE ELASTIC DIN.6926

под заказ290 руб.
16414940300

Пружина (Spring)

под заказ240 руб.
17519000050

Reflective sheet (Reflective sheet)

под заказ340 руб.
17519000059

(последний код) REFLECT. SHEET

под заказ430 руб.
18519000051

Reflective sheet (Reflective sheet)

под заказ380 руб.
lynx

 
 

данный сайт носит информационный характер и не является публичной офертой

склад запчастей для водомоторной техники