Номер на рисунке | Артикул | Наименование | Кол-во на складе | Цена |
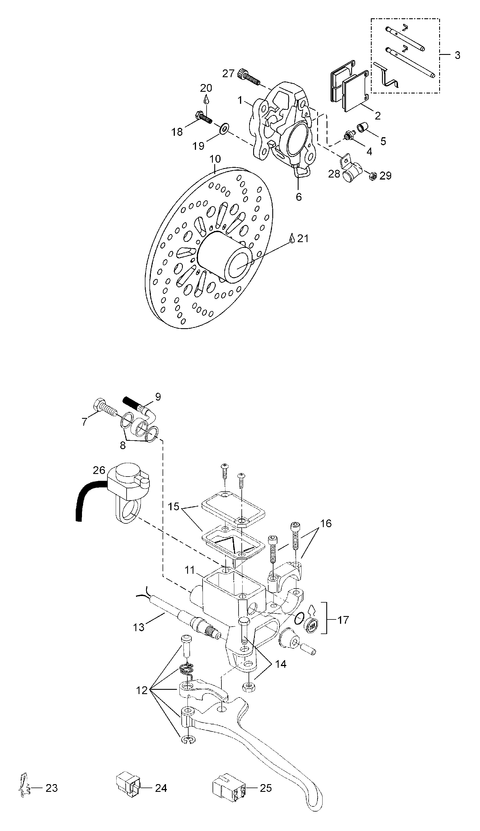
| 1 | 507032351 | Caliber. Includes items 1 thru 6 (Caliber. Includes items 1 thru 6) | под заказ | 41000 руб. |
| 1 | 507032409 | (последний код) ETRIER *CALIPER | под заказ | 44600 руб. |
| 2 | 415084600 | тормоз lining kit (Brake lining kit) | под заказ | 4640 руб. |
| 2 | 414990000 | (последний код) ENS.GARNITURES *KIT-PADS BRAKE | под заказ | 3780 руб. |
| 2 | SM-05059 | (не оригинальная запчасть) Тормозные колодки BRP SM-05059 | под заказ | 2 440 руб. |
| 2 | SM-05059F | (не оригинальная запчасть) Тормозные колодки BRP SM-05059F | под заказ | 3 850 руб. |
| 3 | 414990700 | Kit (Штифт, Фиксатор пружины) (Kit (pin,retainer,spring)) | под заказ | 2920 руб. |
| 4 | 414989800 | Винт-bleeder (Screw-bleeder) | под заказ | 1610 руб. |
| 5 | 414989700 | Boot (Boot) | под заказ | 2340 руб. |
| 6 | 414989900 | Трубка (Tube) | под заказ | 2380 руб. |
| 7 | 207103544 | Винт M10x35 (Screw M10x35) | под заказ | 290 руб. |
| 7 | | (последний код) | под заказ | по запросу |
| 8 | 293800060 | Loctite 243 10ml (Loctite 243 10ml) | под заказ | 2150 руб. |
| 8 | 420897651 | (последний код) LOCTITE-243 | под заказ | по запросу |
| 9 | 507032316 | Locking tab (Locking tab) | под заказ | 170 руб. |
| 9 | 507029900 | (последний код) FREIN DE VIS *LOCK-TAB | под заказ | 140 руб. |
| 10 | 507032237 | Шланг (Hose) | под заказ | 4290 руб. |
| 11 | 507032322 | Master Цилиндр. Includes items 11 thru 18 (Master cylinder. Includes items 11 thru 18) | под заказ | по запросу |
| 12 | 507032268 | Рычаг в сборе (Lever assy) | под заказ | 6930 руб. |
| 12 | SM-08064 | (не оригинальная запчасть) Ручка тормоза BRP SM-08064 | под заказ | 2 590 руб. |
| 13 | 507032366 | MicroПереключатель в сборе (Microswitch assy) | под заказ | 5210 руб. |
| 13 | 507032334 | (последний код) MICRO CONTACT *MICROSWITCH | под заказ | 3700 руб. |
| 13 | 01-280-01 | (не оригинальная запчасть) Выключатель стоп-сигнала BRP 01-280-01 | под заказ | 1 060 руб. |
| 14 | 507032280 | Штифт ass’y (Pin ass’y) | под заказ | 970 руб. |
| 14 | 415030000 | (последний код) AXE *PIN | под заказ | 1290 руб. |
| 15 | 415029900 | Крышка (Cover) | под заказ | 3000 руб. |
| 16 | 415029800 | Струбцина Ass’y (Clamp ass’y) | под заказ | 1570 руб. |
| 16 | 507032477 | (последний код) BRIDE *CLAMP | под заказ | 2010 руб. |
| 17 | 414990600 | Window (Window) | под заказ | 1120 руб. |
| 18 | 216141260 | Винт (Screw) | под заказ | 290 руб. |
| 18 | 415078900 | (последний код) VIS *SCREW | под заказ | 230 руб. |
| 19 | 414920600 | Шайба (Washer) | под заказ | 290 руб. |
| 20 | 414920500 | Болт для Шланг connect. (Bolt for hose connect.) | под заказ | 740 руб. |
| 21 | 507031300 | тормоз disk (Brake disk) | под заказ | 11020 руб. |
| 21 | 507032456 | (последний код) DISQUE USINE *DISK-MACH. | под заказ | 11430 руб. |
| 22 | 515175696 | тормоз Корпус (Brake housing) | под заказ | 2290 руб. |
| 22 | 572099900 | (последний код) LOGEMENT *HOUSING | под заказ | 1790 руб. |
| 23 | 415025500 | Переключатель Наклейка (Switch decal) | под заказ | 430 руб. |
| 24 | 515175814 | Light Переключатель (Light switch) | под заказ | 4000 руб. |
| 24 | 515175390 | (последний код) COMMUTATEUR *SWITCH | под заказ | 3130 руб. |
| 25 | 250000022 | Винт (Screw) | под заказ | 180 руб. |
| 25 | 732601255 | (последний код) SCREW-FORMING PAN HD.TYPE25 | под заказ | 140 руб. |
| 26 | 414440800 | Набор винтов (Screw set) | под заказ | 290 руб. |
| 26 | 114144408 | (последний код) SCREW | под заказ | 220 руб. |
| 27 | 42603 | Male Клемма (Male terminal) | под заказ | 60 руб. |
| 27 | 605642628 | (последний код) CONNECTEUR *CONNECTOR AMP 926887-3 | под заказ | 60 руб. |
| 28 | XXX | Коннектор Корпус. Parts Маркировкаed with <> are Не доступно as spare parts (Connector housing. Parts marked with <> are not available as spare parts) |
| 29 | AT-08541 | (не оригинальная запчасть) Пыльник шрус AT-08541 | под заказ | 1 460 руб. |
| 29 | 201-409F-01B.001 | (не оригинальная запчасть) Привод для Yamaha 201-409F-01B.001 | под заказ | 17 260 руб. |
| 29 | 201-410R-01L.001 | (не оригинальная запчасть) Привод для Yamaha 201-410R-01L.001 | под заказ | 17 260 руб. |
| 29 | 201-423R-01B.001 | (не оригинальная запчасть) Привод для Yamaha 201-423R-01B.001 | под заказ | 17 260 руб. |
| 29 | 201-410R-01R.001 | (не оригинальная запчасть) Привод для Yamaha 201-410R-01R.001 | под заказ | 17 260 руб. |
| 29 | AT-08540 | (не оригинальная запчасть) Пыльник шрус AT-08540 | под заказ | 1 390 руб. |
| 29 | 010-824PK | (не оригинальная запчасть) Поршневой к-т Yamaha 1300R (номинал) 010-824PK | под заказ | 12 950 руб. |
| 29 | 6A0-24421-01 | (не оригинальная запчасть) Клапаны в топливный насос Yamaha 6A0-24421-01 | под заказ | нет данных |
| 29 | AT-01100 | (не оригинальная запчасть) Реле стартера Yamaha AT-01100 | под заказ | 2 810 руб. |
| 29 | SM-01109 | (не оригинальная запчасть) Задний фонарь Yamaha SM-01109 | под заказ | 3 300 руб. |
| 29 | 6H3-11181-A0 | (не оригинальная запчасть) Прокладка под головку Yamaha 6H3-11181-A0 | под заказ | нет данных |
| 29 | 010-495-01K | (не оригинальная запчасть) Ремкомплект RAVE клапана BRP 787RFI 010-495-01K | под заказ | 19 400 руб. |
| 29 | SM-01364 | (не оригинальная запчасть) Статор BRP SM-01364 | под заказ | 23 730 руб. |
| 29 | 18-3551 | (не оригинальная запчасть) Термостат Mercruiser 18-3551 | под заказ | 1 990 руб. |
| 29 | NW-40006 | (не оригинальная запчасть) Поршневой к-т Yamaha 1300R (номинал) NW-40006 | под заказ | 10 870 руб. |
| 29 | SM-07213 | (не оригинальная запчасть) Топливный насос BRP SM-07213 | под заказ | 9 930 руб. |
| 29 | SM-07214 | (не оригинальная запчасть) Топливный насос Yamaha SM-07214 | под заказ | 6 890 руб. |
| 29 | SM-03287 | (не оригинальная запчасть) Ремкомплект ведомого вариатора Arctic Cat SM-03287 | под заказ | 3 130 руб. |
| 29 | ATV-YA-804 | (не оригинальная запчасть) Привод для квадроцикла Yamaha ATV-YA-804 | под заказ | 14 400 руб. |
| 29 | ATV-YA-809 | (не оригинальная запчасть) Привод для квадроцикла Yamaha ATV-YA-809 | под заказ | 14 400 руб. |
| 29 | SC-GS090 | (не оригинальная запчасть) Прокладка под головку Yamaha SC-GS090 | под заказ | 1 740 руб. |
| 29 | ATV-YA-808 | (не оригинальная запчасть) Привод для Yamaha ATV-YA-808 | под заказ | 14 400 руб. |
| 29 | ATV-YA-803 | (не оригинальная запчасть) Привод для Yamaha ATV-YA-803 | под заказ | 14 400 руб. |
| 29 | SM-10108 | (не оригинальная запчасть) Ремкомплект помпы охлаждения Polaris SM-10108 | под заказ | 10 800 руб. |
| 29 | SM-10107 | (не оригинальная запчасть) Ремкомплект помпы охлаждения Polaris SM-10107 | под заказ | 15 300 руб. |
| 30 | AT-08541 | (не оригинальная запчасть) Пыльник шрус AT-08541 | под заказ | 1 460 руб. |
| 30 | 201-409F-01B.001 | (не оригинальная запчасть) Привод для Yamaha 201-409F-01B.001 | под заказ | 17 260 руб. |
| 30 | 201-410R-01L.001 | (не оригинальная запчасть) Привод для Yamaha 201-410R-01L.001 | под заказ | 17 260 руб. |
| 30 | 201-423R-01B.001 | (не оригинальная запчасть) Привод для Yamaha 201-423R-01B.001 | под заказ | 17 260 руб. |
| 30 | 201-410R-01R.001 | (не оригинальная запчасть) Привод для Yamaha 201-410R-01R.001 | под заказ | 17 260 руб. |
| 30 | AT-08540 | (не оригинальная запчасть) Пыльник шрус AT-08540 | под заказ | 1 390 руб. |
| 30 | 010-824PK | (не оригинальная запчасть) Поршневой к-т Yamaha 1300R (номинал) 010-824PK | под заказ | 12 950 руб. |
| 30 | 6A0-24421-01 | (не оригинальная запчасть) Клапаны в топливный насос Yamaha 6A0-24421-01 | под заказ | нет данных |
| 30 | AT-01100 | (не оригинальная запчасть) Реле стартера Yamaha AT-01100 | под заказ | 2 810 руб. |
| 30 | SM-01109 | (не оригинальная запчасть) Задний фонарь Yamaha SM-01109 | под заказ | 3 300 руб. |
| 30 | 6H3-11181-A0 | (не оригинальная запчасть) Прокладка под головку Yamaha 6H3-11181-A0 | под заказ | нет данных |
| 30 | 010-495-01K | (не оригинальная запчасть) Ремкомплект RAVE клапана BRP 787RFI 010-495-01K | под заказ | 19 400 руб. |
| 30 | SM-01364 | (не оригинальная запчасть) Статор BRP SM-01364 | под заказ | 23 730 руб. |
| 30 | 18-3551 | (не оригинальная запчасть) Термостат Mercruiser 18-3551 | под заказ | 1 990 руб. |
| 30 | NW-40006 | (не оригинальная запчасть) Поршневой к-т Yamaha 1300R (номинал) NW-40006 | под заказ | 10 870 руб. |
| 30 | SM-07213 | (не оригинальная запчасть) Топливный насос BRP SM-07213 | под заказ | 9 930 руб. |
| 30 | SM-07214 | (не оригинальная запчасть) Топливный насос Yamaha SM-07214 | под заказ | 6 890 руб. |
| 30 | SM-03287 | (не оригинальная запчасть) Ремкомплект ведомого вариатора Arctic Cat SM-03287 | под заказ | 3 130 руб. |
| 30 | ATV-YA-804 | (не оригинальная запчасть) Привод для квадроцикла Yamaha ATV-YA-804 | под заказ | 14 400 руб. |
| 30 | ATV-YA-809 | (не оригинальная запчасть) Привод для квадроцикла Yamaha ATV-YA-809 | под заказ | 14 400 руб. |
| 30 | SC-GS090 | (не оригинальная запчасть) Прокладка под головку Yamaha SC-GS090 | под заказ | 1 740 руб. |
| 30 | ATV-YA-808 | (не оригинальная запчасть) Привод для Yamaha ATV-YA-808 | под заказ | 14 400 руб. |
| 30 | ATV-YA-803 | (не оригинальная запчасть) Привод для Yamaha ATV-YA-803 | под заказ | 14 400 руб. |
| 30 | SM-10108 | (не оригинальная запчасть) Ремкомплект помпы охлаждения Polaris SM-10108 | под заказ | 10 800 руб. |
| 30 | SM-10107 | (не оригинальная запчасть) Ремкомплект помпы охлаждения Polaris SM-10107 | под заказ | 15 300 руб. |
| 31 | AT-08541 | (не оригинальная запчасть) Пыльник шрус AT-08541 | под заказ | 1 460 руб. |
| 31 | 201-409F-01B.001 | (не оригинальная запчасть) Привод для Yamaha 201-409F-01B.001 | под заказ | 17 260 руб. |
| 31 | 201-410R-01L.001 | (не оригинальная запчасть) Привод для Yamaha 201-410R-01L.001 | под заказ | 17 260 руб. |
| 31 | 201-423R-01B.001 | (не оригинальная запчасть) Привод для Yamaha 201-423R-01B.001 | под заказ | 17 260 руб. |
| 31 | 201-410R-01R.001 | (не оригинальная запчасть) Привод для Yamaha 201-410R-01R.001 | под заказ | 17 260 руб. |
| 31 | AT-08540 | (не оригинальная запчасть) Пыльник шрус AT-08540 | под заказ | 1 390 руб. |
| 31 | 010-824PK | (не оригинальная запчасть) Поршневой к-т Yamaha 1300R (номинал) 010-824PK | под заказ | 12 950 руб. |
| 31 | 6A0-24421-01 | (не оригинальная запчасть) Клапаны в топливный насос Yamaha 6A0-24421-01 | под заказ | нет данных |
| 31 | AT-01100 | (не оригинальная запчасть) Реле стартера Yamaha AT-01100 | под заказ | 2 810 руб. |
| 31 | SM-01109 | (не оригинальная запчасть) Задний фонарь Yamaha SM-01109 | под заказ | 3 300 руб. |
| 31 | 6H3-11181-A0 | (не оригинальная запчасть) Прокладка под головку Yamaha 6H3-11181-A0 | под заказ | нет данных |
| 31 | 010-495-01K | (не оригинальная запчасть) Ремкомплект RAVE клапана BRP 787RFI 010-495-01K | под заказ | 19 400 руб. |
| 31 | SM-01364 | (не оригинальная запчасть) Статор BRP SM-01364 | под заказ | 23 730 руб. |
| 31 | 18-3551 | (не оригинальная запчасть) Термостат Mercruiser 18-3551 | под заказ | 1 990 руб. |
| 31 | NW-40006 | (не оригинальная запчасть) Поршневой к-т Yamaha 1300R (номинал) NW-40006 | под заказ | 10 870 руб. |
| 31 | SM-07213 | (не оригинальная запчасть) Топливный насос BRP SM-07213 | под заказ | 9 930 руб. |
| 31 | SM-07214 | (не оригинальная запчасть) Топливный насос Yamaha SM-07214 | под заказ | 6 890 руб. |
| 31 | SM-03287 | (не оригинальная запчасть) Ремкомплект ведомого вариатора Arctic Cat SM-03287 | под заказ | 3 130 руб. |
| 31 | ATV-YA-804 | (не оригинальная запчасть) Привод для квадроцикла Yamaha ATV-YA-804 | под заказ | 14 400 руб. |
| 31 | ATV-YA-809 | (не оригинальная запчасть) Привод для квадроцикла Yamaha ATV-YA-809 | под заказ | 14 400 руб. |
| 31 | SC-GS090 | (не оригинальная запчасть) Прокладка под головку Yamaha SC-GS090 | под заказ | 1 740 руб. |
| 31 | ATV-YA-808 | (не оригинальная запчасть) Привод для Yamaha ATV-YA-808 | под заказ | 14 400 руб. |
| 31 | ATV-YA-803 | (не оригинальная запчасть) Привод для Yamaha ATV-YA-803 | под заказ | 14 400 руб. |
| 31 | SM-10108 | (не оригинальная запчасть) Ремкомплект помпы охлаждения Polaris SM-10108 | под заказ | 10 800 руб. |
| 31 | SM-10107 | (не оригинальная запчасть) Ремкомплект помпы охлаждения Polaris SM-10107 | под заказ | 15 300 руб. |