вконтакте

Контактный телефон: +7 (981) 121-46-93, +7 (800) 200-90-76 , Email: parts-katalog@yandex.ru, где купить

 
 

  Логин:

Пароль:

Регистрация

www.partskatalog.ru Все каталоги Запчасти Mercury Запчасти Suzuki Запчасти Tohatsu Запчасти Honda Контакты



УВАЖАЕМЫЕ КЛИЕНТЫ!
C 19 ДЕКАБРЯ 2025 ПО 02 МАРТА 2026 ГОДА ОТДЕЛ ЗАПЧАСТЕЙ И СЕРВИС РАБОТАТЬ НЕ БУДУТ
ПРОДАЖА ЛОДОЧНЫХ МОТОРОВ В ШТАТНОМ РЕЖИМЕ
ОБ ИЗМЕНЕНИЯХ В ГРАФИКЕ РАБОТЫ ЧИТАЙТЕ НА САЙТА




Выбрать другую модель

назад Раздел:   вперёд

вернуться к списку узлов и деталей

ДЕТАЛИРОВКА ДЛЯ МОДЕЛИ: LYNX Sport XR 500F, 1999


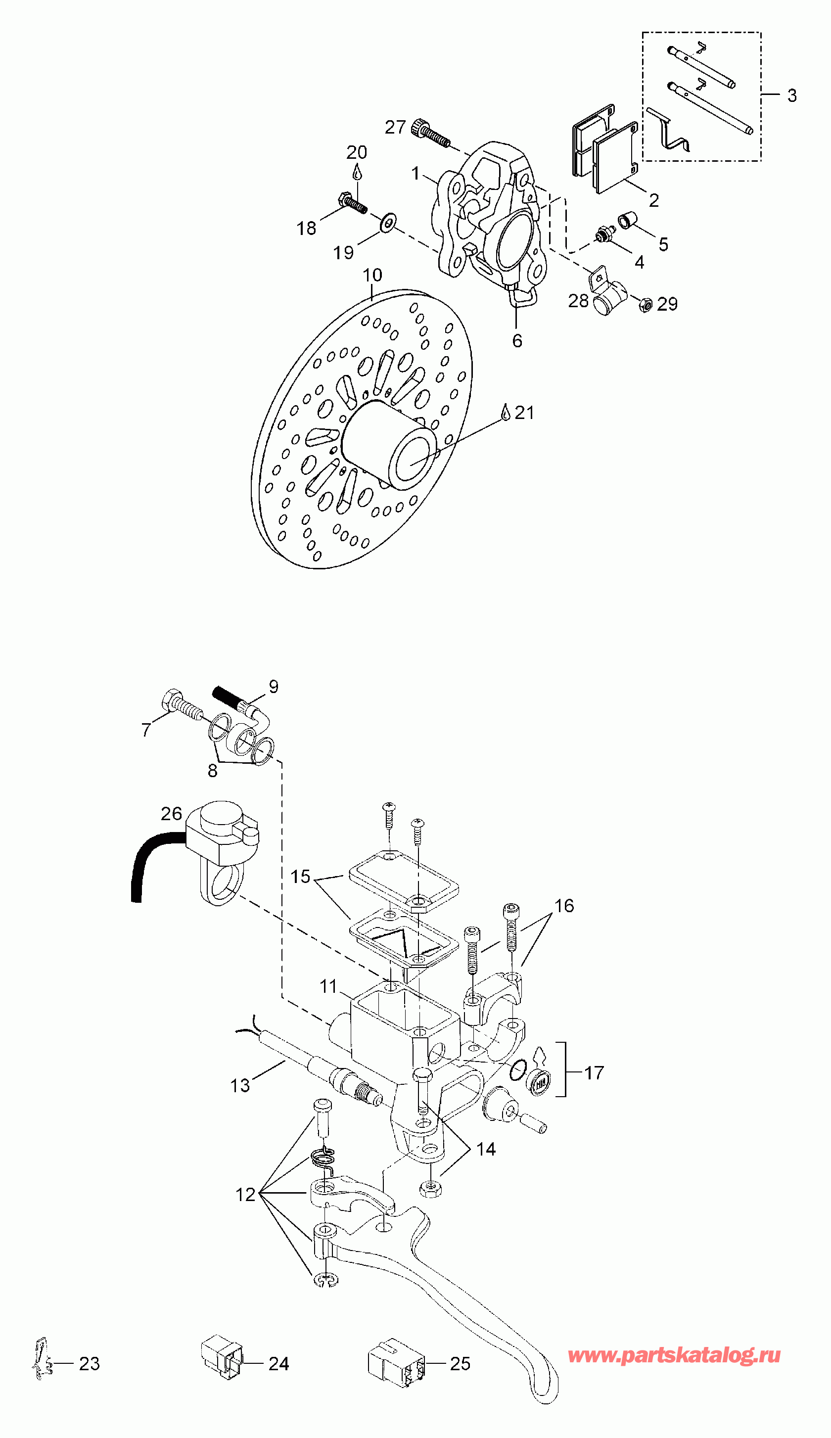
Snowmobile Лункс  - тормоз в сборе / Brake Assy

Номер на
рисунке
АртикулНаименованиеКол-во
на складе
Цена
1415034500

Caliber. Includes items 1 thru 6 (Caliber. Includes items 1 thru 6)

под заказ21000 руб.
1507032412

(последний код) ETRIER *CALIPER

под заказ22900 руб.
2415053600

тормоз lining kit (Brake lining kit)

под заказ5280 руб.
2415129172

(последний код) ENS.GARNITURES *KIT-PADS BRAKE

17 шт5140 руб.
1500 руб.
2SM-05059

     (не оригинальная запчасть) Тормозные колодки BRP SM-05059

под заказ2 440 руб.
2SM-05059F

     (не оригинальная запчасть) Тормозные колодки BRP SM-05059F

под заказ3 850 руб.
3414990700

Kit (Штифт, Фиксатор пружины (Kit (pin,retainer,spring)

под заказ2920 руб.
4414989800

Винт-bleeder (Screw-bleeder)

под заказ1610 руб.
5414989700

Boot (Boot)

под заказ2340 руб.
6414989900

Трубка (Tube)

под заказ2380 руб.
7414920500

Болт для Шланг connect. (Bolt for hose connect.)

под заказ740 руб.
8414920600

Шайба (Washer)

под заказ290 руб.
9507032219

Шланг (Hose)

под заказ4290 руб.
10507031300

тормоз Disk (Brake Disk)

под заказ11020 руб.
10507032456

(последний код) DISQUE USINE *DISK-MACH.

под заказ11430 руб.
11415099500

Master Цилиндр. Includes items 11 thru 17 (Master cylinder. Includes items 11 thru 17)

под заказ18670 руб.
11415129439

(последний код) MAITRE CYLINDRE*MASTER-CYLIND

под заказ20300 руб.
12415075300

Рычаг в сборе (Lever assy)

под заказ3970 руб.
12507032428

(последний код) LEVIER *LEVER

под заказ6070 руб.
13415117500

MicroПереключатель в сборе (Microswitch assy)

под заказ3700 руб.
13507032366

(последний код) MICROSWITCH

под заказ5210 руб.
1301-280-01

     (не оригинальная запчасть) Выключатель стоп-сигнала BRP 01-280-01

под заказ1 060 руб.
14415030000

Штифт ass’y (Pin ass’y)

под заказ1290 руб.
14507032280

(последний код) AXE *PIN

под заказ970 руб.
15415029900

Крышка (Cover)

под заказ3000 руб.
16415029800

Струбцина Ass’y (Clamp ass’y)

под заказ1570 руб.
16507032477

(последний код) BRIDE *CLAMP

под заказ2010 руб.
17414990600

Window (Window)

под заказ1120 руб.
18222003565

Винт M10x35 (Screw M10x35)

под заказ230 руб.
18207103544

(последний код) SCREW-HEX.CAP ISO.4017

под заказ290 руб.
1920068

Шайба с блокировкой (Lock washer)

под заказ840 руб.
19

(последний код)

под заказпо запросу
20413703000

Loctite 242 10cc (Loctite 242 10cc)

под заказ1680 руб.
20293800060

(последний код) LOCTITE 243 *LOCTITE-243

под заказ2150 руб.
21413701000

Loctite 767 (Loctite 767)

под заказпо запросу
21293800023

(последний код) LOCT.ANTI GRIP.*LOCT-ANTISEIZE

под заказ1910 руб.
2342031

Tab (Tab)

под заказ80 руб.
2442036

Корпус tab (Housing tab)

под заказ200 руб.
2542122

Корпус tab (Housing tab)

под заказ180 руб.
26410105400

Light Переключатель (Light switch)

под заказпо запросу
2740079

Allen Винт M10x70 (Allen screw M10x70)

под заказпо запросу
285443685

Направляющая шнура (Guide, rope)

под заказпо запросу
2933012

Гайка elastic M10 (Nut elastic M10)

под заказ40 руб.
29

(последний код)

под заказпо запросу
lynx

 
 

данный сайт носит информационный характер и не является публичной офертой

склад запчастей для водомоторной техники