вконтакте

Контактный телефон: +7 (981) 121-46-93, +7 (800) 200-90-76 , Email: parts-katalog@yandex.ru, где купить

 
 

  Логин:

Пароль:

Регистрация

www.partskatalog.ru Все каталоги Запчасти Mercury Запчасти Suzuki Запчасти Tohatsu Запчасти Honda Контакты



УВАЖАЕМЫЕ КЛИЕНТЫ!
C 19 ДЕКАБРЯ 2025 ПО 02 МАРТА 2026 ГОДА ОТДЕЛ ЗАПЧАСТЕЙ И СЕРВИС РАБОТАТЬ НЕ БУДУТ
ПРОДАЖА ЛОДОЧНЫХ МОТОРОВ В ШТАТНОМ РЕЖИМЕ
ОБ ИЗМЕНЕНИЯХ В ГРАФИКЕ РАБОТЫ ЧИТАЙТЕ НА САЙТА




Выбрать другую модель

назад Раздел:   вперёд

вернуться к списку узлов и деталей

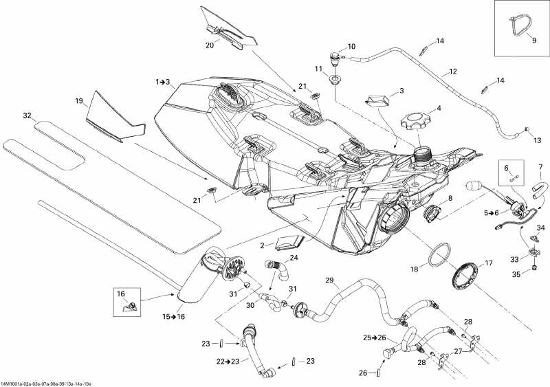
ДЕТАЛИРОВКА ДЛЯ МОДЕЛИ: SKIDOO GSX LE 600HO ETEC, 2010

Раздел: Топливная система 600ho Etec | Fuel System 600ho Etec


снегоход SkiDoo GSX LE 600HO ETEC, 2010 раздел - Топливная система 600ho Etec

Номер на
рисунке
АртикулНаименованиеКол-во
на складе
Цена
1 513033578

Топливный бак. Includes 1 to 3 (Fuel Tank. Includes 1 to 3)

под заказ22300 руб.
2 513033471

RH Panel Зажим (RH Panel Clip)

под заказ404 руб.
2 513033307

ATTACHE DROITE *RH.CLIP

под заказпо запросу
3 513033472

LH Panel Зажим (LH Panel Clip)

под заказ404 руб.
4 513033024

Fuel Колпачок (Fuel Cap)

под заказпо запросу
4 572073900

BOUCHON ESSENCE*CAP-FUEL

под заказпо запросу
4 AT-07559

     (не оригинальная запчасть) Крышка топливного бака универсальная AT-07559

под заказ3 830 руб.
5 513033605

Fuel Датчик. Includes 5 to 6 (Fuel Sensor. Includes 5 to 6)

под заказпо запросу
5 513033624

CAPTEUR ESSENCE*SENSOR-FUEL

под заказ5460 руб.
6 710001995

Предохранитель 0.5A (Fuse 0.5A)

под заказ387 руб.
7 415079900

Трубопровод 10 mm (Tubing 10 mm)

под заказ284 руб.
7 710001437

GAINE *PROTECTOR TUBE

под заказ230 руб.
8 513033606

Пыльник (Grommet)

под заказ1380 руб.
9 293750008

Tie-Rap 350 mm (Tie-Rap 350 mm)

под заказ138 руб.
9 748001001

TIE RAP 350MM *TIE RAP 350MM

под заказ110 руб.
10513033188

Обратный клапан (Check Valve)

под заказ2570 руб.
11513033596

Пыльник (Grommet)

под заказ1380 руб.
11513033189

PASSE-FILS *GROMMET

под заказ950 руб.
12415080200

Шланг, Polyurethane (Hose, Polyurethane)

под заказ1150 руб.
12709000183

BOYAU POLYURE *POLYURETHANE H

под заказпо запросу
13414554800

Пружина Струбцина (Spring Clamp)

под заказ138 руб.
13414278600

BRIDE A RESSORT*CLAMP-SPRING

под заказ110 руб.
14414115200

Tie-Rap 180 mm (Tie-Rap 180 mm)

под заказ130 руб.
14414587300

TIE RAP *TIE-RAP

под заказ110 руб.
15513033579

Топливный насос. Includes 15 to 16 (Fuel Pump. Includes 15 to 16)

под заказ37900 руб.
15513033643

Fuel Pump Ass-y E-tec

под заказ47300 руб.
15SM-07213

     (не оригинальная запчасть) Топливный насос BRP SM-07213

под заказ9 930 руб.
16415129451

Топливный фильтр (Fuel Filter)

под заказ2460 руб.
16SM-07353

     (не оригинальная запчасть) Фильтр топливный BRP SM-07353

под заказ1 710 руб.
17513033180

Кольцо (Ring)

под заказ1290 руб.
18513033334

Прокладка (Gasket)

под заказ1780 руб.
18SM-07213

     (не оригинальная запчасть) Топливный насос BRP SM-07213

под заказ9 930 руб.
18SM-07260

     (не оригинальная запчасть) Уплотнительное кольцо BRP SM-07260

под заказ1 250 руб.
19513033418

RH Колпачок (RH Cap)

под заказ904 руб.
19520000575

CAPUCHON DROIT *R.H. CAP

под заказпо запросу
20513033419

LH Колпачок (LH Cap)

под заказ904 руб.
20520000576

CAPUCHON GAU. *L.H. CAP

под заказ480 руб.
21513033326

Shoulder Втулка (Shoulder Bushing)

под заказ904 руб.
22513033560

Шланг в сборе. Includes 22 to 23 (Hose Assy. Includes 22 to 23)

под заказ14890 руб.
23513033135

Locking Зажим (Locking Clip)

под заказ428 руб.
23UP-12740

     (не оригинальная запчасть) Фиксатор топливного шланга BRP UP-12740

под заказ140 руб.
24513033461

Трубопровод (Tubing)

под заказ559 руб.
24415080000

GAINE *PROTECTOR TUBE

под заказ720 руб.
25513033548

Шланг в сборе. Includes 25 to 26 (Hose Assy. Includes 25 to 26)

под заказ5300 руб.
25513033436

BOYAU ASS. *HOSE ASS`Y

под заказ4140 руб.
26513033135

Locking Зажим (Locking Clip)

под заказ428 руб.
26UP-12740

     (не оригинальная запчасть) Фиксатор топливного шланга BRP UP-12740

под заказ140 руб.
27513033542

Кронштейн (Bracket)

под заказ904 руб.
27513033142

ATTACHE *BRACKET

под заказпо запросу
28207551044

Фланецd Шестигранный винт M5 X 10 (Flanged Hex. Screw M5 X 10)

под заказ284 руб.
29513033599

Шланг в сборе (Hose Assy)

под заказ9700 руб.
29513033561

BOYAU ASSEMBLE *HOSE ASS`Y

под заказпо запросу
30513033544

Шланг (Hose)

под заказ2000 руб.
31293650047

Oetiker Струбцина (Oetiker Clamp)

под заказ284 руб.
32513033588

Foam (Foam)

под заказ904 руб.
32513033409

MOUSSE ISOLANTE*INSULAT. FOAM

под заказпо запросу
33293750031

Tie Rap Крепление (Tie Rap Mount)

под заказ335 руб.
33515176795

ATTACHE *CLIP

под заказ430 руб.
34293750002

Tie-Rap 130 mm (Tie-Rap 130 mm)

под заказ130 руб.
35390402000

Pop Заклёпка 3 / 16" (Pop Rivet 3/16")

под заказ136 руб.
ski-doo

Время выполнения запроса 1.2822589874268 сек.


 
 

данный сайт носит информационный характер и не является публичной офертой

склад запчастей для водомоторной техники