вконтакте

Контактный телефон: +7 (981) 121-46-93, +7 (800) 200-90-76 , Email: parts-katalog@yandex.ru, где купить

 
 

  Логин:

Пароль:

Регистрация

www.partskatalog.ru Все каталоги Запчасти Mercury Запчасти Suzuki Запчасти Tohatsu Запчасти Honda Контакты



УВАЖАЕМЫЕ КЛИЕНТЫ!
C 19 ДЕКАБРЯ 2025 ПО 02 МАРТА 2026 ГОДА ОТДЕЛ ЗАПЧАСТЕЙ И СЕРВИС РАБОТАТЬ НЕ БУДУТ
ПРОДАЖА ЛОДОЧНЫХ МОТОРОВ В ШТАТНОМ РЕЖИМЕ
ОБ ИЗМЕНЕНИЯХ В ГРАФИКЕ РАБОТЫ ЧИТАЙТЕ НА САЙТА




Выбрать другую модель

назад Раздел:   вперёд

вернуться к списку узлов и деталей

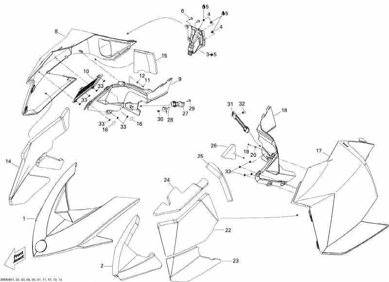
ДЕТАЛИРОВКА ДЛЯ МОДЕЛИ: SKIDOO MX Z Trail, 2009

Раздел: Hood | Hood


снегоход Skidoo MX Z Trail, 2009 - Hood

Номер на
рисунке
АртикулНаименованиеКол-во
на складе
Цена
1 517303598

Hood, жёлтый (Hood, Yellow)

под заказ9930 руб.
1 517304529

CAPOT *HOOD

под заказ14620 руб.
2 517303990

Hood Foam (Hood Foam)

под заказпо запросу
2 517304881

MOUSSE CAPOT FOAM

под заказ990 руб.
3 517304322

RH Console. Электростартер (RH Console. Electric Starter)

под заказ2430 руб.
3 517303674

CONSOLE DROITE *CONSOLE-RH

под заказ1340 руб.
4 275500241

Колпачок, чёрный. Электростартер (Cap, Black. Electric Starter)

под заказ284 руб.
4 293000073

BOUCHON PARECHO*PLUG-BUMPER

под заказ230 руб.
5 413408300

Loctite, чёрный Max, 3 ml. Электростартер (Loctite, Black Max, 3 ml. Electric Starter)

под заказ2180 руб.
6 250000113

Винт M4 X 16, Type K-40. ручной Стартер (Screw M4 X 16, Type K-40. Manual Starter)

под заказ222 руб.
6 250000725

SCREW PLASTITE TYPE K-40 BZN M4 X 16

под заказ270 руб.
8 517304029

RH Panel (RH Panel)

под заказ12590 руб.
8 517304121

PANNEAU DROIT *RH.PANEL

под заказпо запросу
9 517303671

RH Moulding Panel (RH Moulding Panel)

под заказ2000 руб.
10517303622

Grill (Grill)

под заказ2210 руб.
11241141660

Фланецd Шестигранный винт K40 X 16 (Flanged Hex. Screw K40 X 16)

под заказ284 руб.
11211000033

SCREW-PT.HEX.FLANGE K40 X 16

под заказ230 руб.
12234042600

плоский Шайба 4 mm, Stainless (Flat Washer 4 mm, Stainless)

под заказ263 руб.
12217042600

WASHER-FLAT DIN.9021B-A2

под заказ210 руб.
14517304149

RH Panel Center Foam (RH Panel Center Foam)

под заказ2200 руб.
14517304883

FOAM

под заказ3000 руб.
15517303982

RH Panel Rear Foam (RH Panel Rear Foam)

под заказпо запросу
16518325560

Adhesive Patch (Adhesive Patch)

под заказ199 руб.
17517304030

LH Panel (LH Panel)

под заказ12590 руб.
17517304120

PANNEAU GAUCHE *LH.PANEL

под заказ9500 руб.
18517303673

LH Moulding Panel (LH Moulding Panel)

под заказ2000 руб.
19241141660

Фланецd Шестигранный винт K40 X 16 (Flanged Hex. Screw K40 X 16)

под заказ284 руб.
19211000033

SCREW-PT.HEX.FLANGE K40 X 16

под заказ230 руб.
20234042600

плоский Шайба 4 mm, Stainless (Flat Washer 4 mm, Stainless)

под заказ263 руб.
20217042600

WASHER-FLAT DIN.9021B-A2

под заказ210 руб.
22517303983

LH Panel Center Foam (LH Panel Center Foam)

под заказ981 руб.
22517304887

MOUSSE *FOAM

под заказ1930 руб.
23517303984

LH Panel нижний Foam (LH Panel Lower Foam)

под заказ981 руб.
23517304888

FOAM

под заказ1570 руб.
24517303985

LH Panel верхний Foam (LH Panel Upper Foam)

под заказ832 руб.
24517304889

MOUSSE *FOAM

под заказ1390 руб.
25517303986

LH Panel Rear Foam (LH Panel Rear Foam)

под заказ603 руб.
25517304890

MOUSSE *FOAM

под заказ1000 руб.
26517303987

Foam (Foam)

под заказ909 руб.
26517304891

MOUSSE *FOAM

под заказ1390 руб.
27517303612

Panel Latch (Panel Latch)

под заказ1000 руб.
27SM-12495

     (не оригинальная запчасть) Замок (фиксатор) капота BRP (правый) SM-12495

под заказ490 руб.
28517304221

Latch Sвышеport (Latch Support)

под заказ465 руб.
29207652044

Фланецd Шестигранный винт M5 X 20 (Flanged Hex. Screw M5 X 20)

под заказ284 руб.
30233251414

Hex. Фланецd Elastic Гайка M5 (Hex. Flanged Elastic Nut M5)

под заказ263 руб.
30233251434

NUT-FLANGE ELASTIC DIN.6926

под заказ290 руб.
31517303808

Panel Latch (Panel Latch)

под заказ861 руб.
31SM-12455

     (не оригинальная запчасть) Замок (фиксатор) капота BRP (левый) SM-12455

под заказ340 руб.
32293150108

Pop Заклёпка 3 / 16” (Pop Rivet 3/16”)

под заказ138 руб.
33732610072

Push Гайка (Push Nut)

под заказ263 руб.
33732610068

NUT-PUSH

под заказ210 руб.
ski-doo

Время выполнения запроса 2.992614030838 сек.


 
 

данный сайт носит информационный характер и не является публичной офертой

склад запчастей для водомоторной техники