| |
Выбрать другую модель
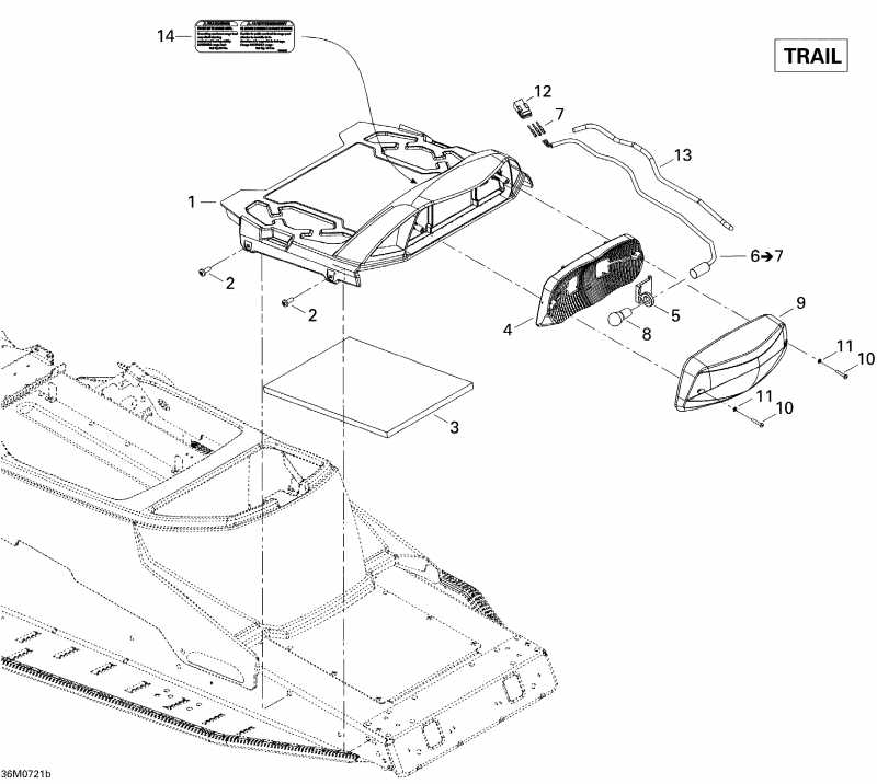
вернуться к списку узлов и деталей ДЕТАЛИРОВКА ДЛЯ МОДЕЛИ: SKIDOO Legend Trail V800, 2007
Раздел: Luggage Rack Trail | Luggage Rack Trail
Номер на рисунке | Артикул | Наименование | Кол-во на складе | Цена |
| 1 | 511000434 | Luggage Rack (Luggage Rack) | под заказ | 2280 руб. |
| 1 | 511000242 | RACK | под заказ | 1350 руб. |
| 2 | 250000129 | Torx Винт M6 X 16 (Torx Screw M6 X 16) | под заказ | 242 руб. |
| 2 | 250000721 | TORX-TRUSS M/S BZN NYLON PATCH | под заказ | 140 руб. |
| 3 | 511000359 | Radiator Крышка Регулировочная шайба 121" (Radiator Cover Shim 121") | под заказ | 348 руб. |
| 4 | 510004442 | Reflector (Reflector) | под заказ | 2210 руб. |
| 4 | 510004018 | REFLECTOR | под заказ | 810 руб. |
| 5 | 511000431 | Лампочка Sвышеport (Bulb Support) | под заказ | 691 руб. |
| 5 | 414979411 | AMORTISSEMENT *DAMPER-RUBBER | под заказ | 550 руб. |
| 6 | 511000465 | Лампочка Socket. Includes 6 to 7 (Bulb Socket. Includes 6 to 7) | под заказ | 1810 руб. |
| 6 | 511000466 | DOUILLE D AMPOU*BULB SOCKET | под заказ | 2320 руб. |
| 7 | 515175232 | Male Клемма (Male Terminal) | под заказ | 572 руб. |
| 8 | 410504100 | Tail Lamp Лампочка (Tail Lamp Bulb) | под заказ | 1010 руб. |
| 8 | 520000758 | Bulb front light Outlander, Commander | под заказ | 260 руб. |
| 9 | 511000315 | Lens (Lens) | под заказ | 2500 руб. |
| 9 | 510003826 | LENS | под заказ | 1780 руб. |
| 9 | SM-01091 | (не оригинальная запчасть) Плафон заднего фонаря BRP SM-01091 | под заказ | 2 030 руб. |
| 10 | 209632580 | Phillips Саморез 3.9 X 25 (Phillips Tapping Screw 3.9 X 25) | под заказ | 284 руб. |
| 11 | 414516400 | Шайба (Washer) | под заказ | 53 руб. |
| 12 | 515175494 | Male Клемма Корпус, 3 Circuits (Male Terminal Housing, 3 Circuits) | под заказ | 1580 руб. |
| 13 | 515175442 | Трубопровод, 6 mm (Tubing, 6 mm) | под заказ | 428 руб. |
| 13 | 513033364 | GAINE *PROTECTOR TUBE | под заказ | 340 руб. |
| 14 | 516003039 | Maximum Cargo Load Наклейки (Maximum Cargo Load Label) | под заказ | по запросу |

Время выполнения запроса 0.6744499206543 сек.
|
|