вконтакте

Контактный телефон: +7 (981) 121-46-93, +7 (800) 200-90-76 , Email: parts-katalog@yandex.ru, где купить

 
 

  Логин:

Пароль:

Регистрация

www.partskatalog.ru Все каталоги Запчасти Mercury Запчасти Suzuki Запчасти Tohatsu Запчасти Honda Контакты



УВАЖАЕМЫЕ КЛИЕНТЫ!
C 19 ДЕКАБРЯ 2025 ПО 02 МАРТА 2026 ГОДА ОТДЕЛ ЗАПЧАСТЕЙ И СЕРВИС РАБОТАТЬ НЕ БУДУТ
ПРОДАЖА ЛОДОЧНЫХ МОТОРОВ В ШТАТНОМ РЕЖИМЕ
ОБ ИЗМЕНЕНИЯХ В ГРАФИКЕ РАБОТЫ ЧИТАЙТЕ НА САЙТА




Выбрать другую модель

назад Раздел:   вперёд

вернуться к списку узлов и деталей

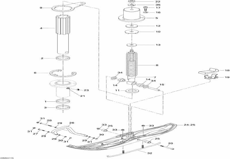
ДЕТАЛИРОВКА ДЛЯ МОДЕЛИ: SKIDOO Skandic LT 440F, 2004

Раздел: Передняя подвеска | Front Suspension


snowmobile Skidoo Skandic LT 440F, 2004 - Передняя подвеска

Номер на
рисунке
АртикулНаименованиеКол-во
на складе
Цена
1 414803200

нижний Подушка (Lower Cushion)

под заказ861 руб.
2 414803100

верхний Подушка (Upper Cushion)

под заказ617 руб.
2 545666

COUSSINET SUP. *CUSHION-UPPER

под заказпо запросу
3 M316373

Сальник (Oil Seal)

под заказпо запросу
4 M5243952

Ski Leg (Ski Leg)

под заказ13140 руб.
5 605249285

Welded Крышка (Welded Cover)

под заказ3350 руб.
6 503145600

Проставка (Spacer)

под заказ1300 руб.
7 414803600a

Shock (Shock)

под заказпо запросу
8 M5240897

Пружина (Spring)

под заказпо запросу
9 M5340383

SteeeКольцо Рычаг (Steeering Arm)

под заказпо запросу
9 08-241

     (не оригинальная запчасть) Рулевой рычаг BRP 08-241

под заказ3 580 руб.
10570025800

Стопор (Stopper)

под заказ907 руб.
11M549493

Шайба (Washer)

под заказпо запросу
12M5440399

Шайба (Washer)

под заказпо запросу
13M549492

Пластина (Plate)

под заказпо запросу
14572034500

Подушка (Cushion)

под заказ734 руб.
14SM-08800

     (не оригинальная запчасть) Амортизатор передней подвески BRP SM-08800

под заказ13 200 руб.
15605348921

Проставка (Spacer)

под заказ672 руб.
15505073209

AXE SKI *SKI AXLE

под заказ910 руб.
16234181401

Шайба с блокировкой 8 mm (Lock Washer 8 mm)

под заказ138 руб.
16224781140

WASHER-LOCK DIN.127A

под заказ110 руб.
17205082044

Socket Head Винт M8 X 20 (Socket Head Screw M8 X 20)

под заказ284 руб.
17420240071

SCREW-ALLEN M8 X 20

под заказ230 руб.
18605348439

Резиновый стопор (Rubber Stopper)

под заказ1890 руб.
19605348437

Пластина Sвышеport (Plate Support)

под заказ1080 руб.
20M40225

Hex Винт M10 X 140 (Hex Screw M10 X 140)

под заказпо запросу
21M34019

Смазочный фиттинг (Grease Fitting)

под заказпо запросу
22233601416

Elastic Locking Гайка M10 (Elastic Locking Nut M10)

под заказ284 руб.
22228501045

NUT-LOCKING ELASTIC DIN.982

под заказпо запросу
23219700417

Synthetic Смазка, 400g (Synthetic Grease, 400g)

под заказ7860 руб.
23293550033

SYNTHETIC GREASE 10X14OZ (1шт=1кор=10 туб)

под заказ10050 руб.
24605148440

Ski пластиковый Ski. Includes Items 24 to 25 (Ski Plastic Ski. Includes Items 24 to 25)

под заказпо запросу
24605153775

ADJ-Ski, Pre Ass-y

под заказпо запросу
25605348392

Втулка (Bushing)

под заказ2840 руб.
26505070963

Handle (чёрный) (Handle (Black))

под заказ2850 руб.
26572101000

POIGNEE PLASTIC*HANDLE-PLASTIC

под заказ1680 руб.
27207085044

Hex Винт M8 X 50 (Hex Screw M8 X 50)

под заказ284 руб.
27222085065

SCREW-HEX.CAP DIN.931

под заказ230 руб.
28M40264

Hex Винт M8 X 90 (Hex Screw M8 X 90)

под заказпо запросу
29234081410

плоский Шайба 8 mm (Flat Washer 8 mm)

под заказ130 руб.
30232581414

Эластичная гайка со стопором M8 (Elastic Stop Nut M8)

под заказ136 руб.
30420942030

NUT-LOCK M8

под заказ110 руб.
31M28056

Колпачок (Cap)

под заказпо запросу
32605349311

Carbide Runner (Carbide Runner)

под заказ10150 руб.
32605352643

Runner carbide pass. kit(два конька и гаечки)

под заказ11050 руб.
32100305T

     (не оригинальная запчасть) Конек лыжи 1863 BRP (без вставок)

под заказ1 900 руб.
32A-04-0-4-455

     (не оригинальная запчасть) Конек лыжи BRP (комплект 2шт) A-04-0-4-455

под заказ5 620 руб.
32100316T

     (не оригинальная запчасть) Конек лыжи снегохода BRP 100316T

под заказ3 550 руб.
33M33074

Гайка (Nut)

под заказпо запросу
34605448594

Втулка (Bushing)

под заказ183 руб.
35234001410

плоский Шайба 10 mm (Flat Washer 10 mm)

под заказ284 руб.
35224001211

WASHER-FLAT DIN.125A

под заказ230 руб.
ski-doo

Время выполнения запроса 1.95774102211 сек.


 
 

данный сайт носит информационный характер и не является публичной офертой

склад запчастей для водомоторной техники