вконтакте

Контактный телефон: +7 (981) 121-46-93, +7 (800) 200-90-76 , Email: parts-katalog@yandex.ru, где купить

 
 

  Логин:

Пароль:

Регистрация

www.partskatalog.ru Все каталоги Запчасти Mercury Запчасти Suzuki Запчасти Tohatsu Запчасти Honda Контакты



УВАЖАЕМЫЕ КЛИЕНТЫ!
C 19 ДЕКАБРЯ 2025 ПО 02 МАРТА 2026 ГОДА ОТДЕЛ ЗАПЧАСТЕЙ И СЕРВИС РАБОТАТЬ НЕ БУДУТ
ПРОДАЖА ЛОДОЧНЫХ МОТОРОВ В ШТАТНОМ РЕЖИМЕ
ОБ ИЗМЕНЕНИЯХ В ГРАФИКЕ РАБОТЫ ЧИТАЙТЕ НА САЙТА




Выбрать другую модель

назад Раздел:   вперёд

вернуться к списку узлов и деталей

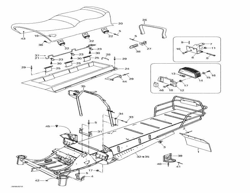
ДЕТАЛИРОВКА ДЛЯ МОДЕЛИ: SKIDOO Skandic LT 440F, 2003

Раздел: Рама, Седло и Аксессуары | Frame, Seat And Accessories


снегоход Ski Doo модель Skandic LT 440F, 2003 - Рама, Седло и Аксессуары

Номер на
рисунке
АртикулНаименованиеКол-во
на складе
Цена
1 572013800

Snow guard (Snow guard)

под заказ2270 руб.
1 572474700

GARDE-NEIGE *GUARD-SNOW

под заказ2080 руб.
2 M36037

Заклёпка (Rivet)

под заказпо запросу
3 M28232

Заглушка (Plug)

под заказ215 руб.
4 518202100

Belt guard Кронштейн (Belt guard bracket)

под заказ1200 руб.
5 M36083

Заклёпка (Rivet)

под заказпо запросу
6 M5346638

Пластина (Plate)

под заказпо запросу
7 M548745

Ремешок (Band)

под заказпо запросу
8 560309200

Фиксатор Штифт (Retainer pin)

под заказ452 руб.
9 M41031

Штифт (Pin)

под заказпо запросу
10M40336

Винт M8 x 20 (Screw M8 x 20)

под заказпо запросу
11232581414

Эластичная гайка со стопором M8 (Elastic stop nut M8)

под заказ136 руб.
11420942030

NUT-LOCK M8

под заказ110 руб.
12414979400

Rear light Корпус (Rear light housing)

под заказ2550 руб.
12510004061

HOUSING-20/18

под заказ3260 руб.
1201-104-14

     (не оригинальная запчасть) Основание заднего фонаря BRP 01-104-14

под заказ1 910 руб.
13410504000

Tail lamp Лампочка (Tail lamp bulb)

под заказ1010 руб.
13520000758

Bulb front light Outlander, Commander

под заказ260 руб.
14414513700

Lens (Lens)

под заказ2000 руб.
144299501

TAKAVALON LASI(USE 414513700)

под заказ1330 руб.
1401-104-05

     (не оригинальная запчасть) Плафон заднего фонаря BRP 01-104-05

под заказ1 210 руб.
15414516400

Шайба (Washer)

под заказ53 руб.
16M40613

Винт (Screw)

под заказпо запросу
17M33200

Гайка (Nut)

под заказпо запросу
18207063044

Hex. Колпачок Винт M6 x 30 (Hex. cap screw M6 x 30)

под заказ284 руб.
18702000225

BOULON *BOLT

под заказ230 руб.
19M5145106

Седло foam (Seat foam)

под заказпо запросу
20605148629

Седло Крышка (Seat cover)

под заказ41700 руб.
21M5245337

Lock Вал (Lock shaft)

под заказ3670 руб.
22M5346518

Hinge (Hinge)

под заказпо запросу
23M5446102

Блокирущая пластина (Lock plate)

под заказ333 руб.
24M5144963

Седло Основание (Seat base)

под заказпо запросу
25M5345195

Lock (Lock)

под заказ834 руб.
26M5346727

Седло belt (Seat belt)

под заказ4740 руб.
27M548824

Belt lug (Belt lug)

под заказпо запросу
28M5441849

Стопор Крючок (Stopper hook)

под заказ1060 руб.
29M36489

Заклёпка (Rivet)

под заказпо запросу
30M40888

Винт (Screw)

под заказ13 руб.
31M5346204

Sвышеport (Support)

под заказ932 руб.
32605148749

Рама в сборе. Includes 32 - 35. (Frame assy. Includes 32 - 35.)

под заказ168800 руб.
325145056

CHASSIS *FRAME

под заказ155000 руб.
33207064044

Hex. Колпачок Винт M6 x 40 (Hex. cap screw M6 x 40)

под заказ284 руб.
33420240630

SCREW-HEX.M6 X 40

под заказ230 руб.
34234061410

плоский Шайба 6 mm (Flat washer 6 mm)

под заказ263 руб.
34711244213

RONDELLE *WASHER

под заказ210 руб.
35M5245059

Handle sвышеport (Handle support)

под заказпо запросу
36M40887

Винт (Screw)

под заказ13 руб.
37M28019

Колпачок (Cap)

под заказ2450 руб.
38M548834

Hair Штифт (Hair pin)

под заказпо запросу
39M5342941

Кронштейн (Bracket)

под заказпо запросу
40M36080

Заклёпка (Rivet)

под заказпо запросу
41M36083

Заклёпка (Rivet)

под заказпо запросу
42M34019

Смазочный фиттинг (Grease fitting)

под заказпо запросу
43M5144962

Седло Основание (Seat base)

под заказпо запросу
44M5346728

Пружина Пластина (Spring plate)

под заказ1050 руб.
45414644300

Dart (Dart)

под заказ138 руб.
45UP-12454

     (не оригинальная запчасть) Заклепки для пластиковых навесных частей BRP UP-12454

под заказ450 руб.
46605448415

Protection Пластина (Protection plate)

под заказ781 руб.
ski-doo

Время выполнения запроса 0.89526987075806 сек.


 
 

данный сайт носит информационный характер и не является публичной офертой

склад запчастей для водомоторной техники