вконтакте

Контактный телефон: +7 (981) 121-46-93, +7 (800) 200-90-76 , Email: parts-katalog@yandex.ru, где купить

 
 

  Логин:

Пароль:

Регистрация

www.partskatalog.ru Все каталоги Запчасти Mercury Запчасти Suzuki Запчасти Tohatsu Запчасти Honda Контакты



УВАЖАЕМЫЕ КЛИЕНТЫ!
C 19 ДЕКАБРЯ 2025 ПО 02 МАРТА 2026 ГОДА ОТДЕЛ ЗАПЧАСТЕЙ И СЕРВИС РАБОТАТЬ НЕ БУДУТ
ПРОДАЖА ЛОДОЧНЫХ МОТОРОВ В ШТАТНОМ РЕЖИМЕ
ОБ ИЗМЕНЕНИЯХ В ГРАФИКЕ РАБОТЫ ЧИТАЙТЕ НА САЙТА




Выбрать другую модель

назад Раздел:   вперёд

вернуться к списку узлов и деталей

ДЕТАЛИРОВКА ДЛЯ МОДЕЛИ: SKIDOO Legend 380F/500F, 2002

Раздел: Карбюраторs (503) | Carburetors (503)


snowmobile Skidoo Legend 380F/500F, 2002 раздел - Карбюраторs (503)

Номер на
рисунке
АртикулНаименованиеКол-во
на складе
Цена
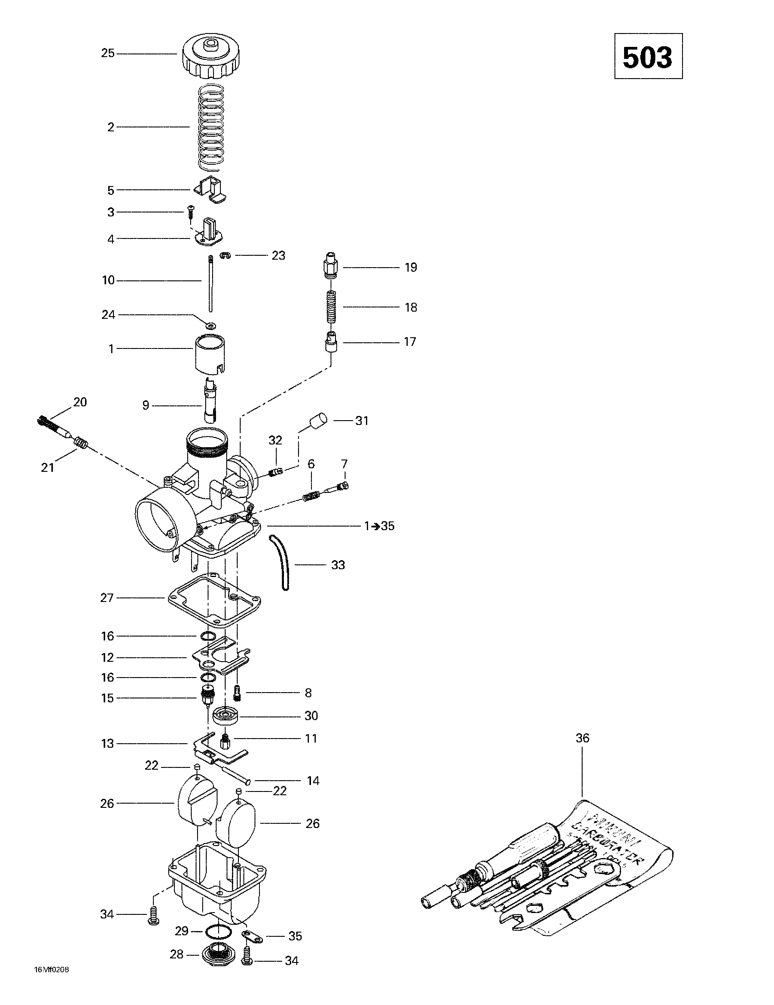
1 403138697

Карбюратор VM 34-576. Includes 1 - 35. MX Z 500 F. Legend 500 F. (Carburetor VM 34-576. Includes 1 - 35. MX Z 500 F. Legend 500 F.)

под заказ25300 руб.
1 404128600

Поршень Клапан CA 2.0. MX Z 500 F. Legend 500 F. (Piston Valve CA 2.0. MX Z 500 F. Legend 500 F.)

под заказ10050 руб.
2 404154800

Пружина. MX Z 500 F. Legend 500 F. (Spring. MX Z 500 F. Legend 500 F.)

под заказ1850 руб.
3 404121300

Винт with Шайба. MX Z 500 F. Legend 500 F. (Screw with Washer. MX Z 500 F. Legend 500 F.)

под заказ428 руб.
3 404128200

SCREW-WITH LOCK WASHER

под заказ340 руб.
4 404161987

Прокладка. MX Z 500 F. Legend 500 F. (Packing. MX Z 500 F. Legend 500 F.)

под заказ1070 руб.
5 404122100

Крышка. MX Z 500 F. Legend 500 F. (Cover. MX Z 500 F. Legend 500 F.)

под заказ1400 руб.
6 404139800

Пружина (Air Винт) MX Z 500 F. Legend 500 F. (Spring (Air Screw). MX Z 500 F. Legend 500 F.)

под заказ588 руб.
7 404149000

Air Винт. MX Z 500 F. Legend 500 F. (Air Screw. MX Z 500 F. Legend 500 F.)

под заказ2320 руб.
8 404109100

Pilot Jet PJ 40. MX Z 500 F. Legend 500 F. (Pilot Jet PJ 40. MX Z 500 F. Legend 500 F.)

под заказ396 руб.
8 963825

TYHJAKAYNTISUUTIN 40

под заказ240 руб.
9 404103600

Игла распылителя NJ P-4 (159) MX Z 500 F. Legend 500 F. (Needle Jet NJ P-4 (159). MX Z 500 F. Legend 500 F.)

под заказ1240 руб.
9 963952

SEOSPUTKI 159/P-4

под заказ1140 руб.
10404161989

Игла жиклёра JN J8-6AFY05. MX Z 500 F. Legend 500 F. (Jet Needle JN J8-6AFY05. MX Z 500 F. Legend 500 F.)

под заказпо запросу
11404119100

Главный жиклёр MJ 210. MX Z 500 F. Legend 500 F. (Main Jet MJ 210. MX Z 500 F. Legend 500 F.)

под заказ396 руб.
11963971

PAASUUTIN 210(USE 404119100)

под заказ240 руб.
12404109600

Baffle. MX Z 500 F. Legend 500 F. (Baffle. MX Z 500 F. Legend 500 F.)

под заказпо запросу
13404107600

Поплавок Рычаг. MX Z 500 F. Legend 500 F. (Float Lever. MX Z 500 F. Legend 500 F.)

под заказ1780 руб.
14404103300

Рычаг Штифт. MX Z 500 F. Legend 500 F. (Lever Pin. MX Z 500 F. Legend 500 F.)

под заказ428 руб.
15404147500

Игольчатый клапан 1.2. MX Z 500 F. Legend 500 F. (Needle Valve 1.2. MX Z 500 F. Legend 500 F.)

под заказ4640 руб.
15404162089

TIROIR ACC.1.2 *PISTON-VAL.1.2

под заказ3130 руб.
16404101600

Седло Шайба. MX Z 500 F. Legend 500 F. (Seat Washer. MX Z 500 F. Legend 500 F.)

под заказ237 руб.
17404161986

Плунжер в сборе. MX Z 500 F. Legend 500 F. (Plunger Assy. MX Z 500 F. Legend 500 F.)

под заказ1400 руб.
18404127400

Пружина. MX Z 500 F. Legend 500 F. (Spring. MX Z 500 F. Legend 500 F.)

под заказ792 руб.
19404161100

Направляющая. MX Z 500 F. Legend 500 F. (Guide. MX Z 500 F. Legend 500 F.)

под заказ2620 руб.
20404125200

Дроссель Винт. MX Z 500 F. Legend 500 F. (Throttle Screw. MX Z 500 F. Legend 500 F.)

под заказ1060 руб.
21404101700

Пружина (Дроссель Винт) MX Z 500 F. Legend 500 F. (Spring (Throttle Screw). MX Z 500 F. Legend 500 F.)

под заказ295 руб.
21420938940

SPRING

под заказ240 руб.
22404105800

Колпачок. MX Z 500 F. Legend 500 F. (Cap. MX Z 500 F. Legend 500 F.)

под заказ481 руб.
22420960990

FOAT FIXATION CAP

под заказпо запросу
22SM-07243

     (не оригинальная запчасть) Поплавок карбюратора BRP SM-07243

под заказ830 руб.
23404152400

Уплотнительное кольцо. MX Z 500 F. Legend 500 F. (E-Ring. MX Z 500 F. Legend 500 F.)

под заказ572 руб.
24404117000

Прокладка. MX Z 500 F. Legend 500 F. (Packing. MX Z 500 F. Legend 500 F.)

под заказ284 руб.
25404103700

Крышка. MX Z 500 F. Legend 500 F. (Cover. MX Z 500 F. Legend 500 F.)

под заказ2360 руб.
26404107100

Поплавок. MX Z 500 F. Legend 500 F. (Float. MX Z 500 F. Legend 500 F.)

под заказ2140 руб.
26SM-07243

     (не оригинальная запчасть) Поплавок карбюратора BRP SM-07243

под заказ830 руб.
27404104200

Прокладка. MX Z 500 F. Legend 500 F. (Gasket. MX Z 500 F. Legend 500 F.)

под заказ481 руб.
27420831895

GASKET

под заказпо запросу
28404107400

Drain Заглушка винта. MX Z 500 F. Legend 500 F. (Drain Plug Screw. MX Z 500 F. Legend 500 F.)

под заказ1780 руб.
29404107300

Уплотнительное кольцо. MX Z 500 F. Legend 500 F. (O-Ring. MX Z 500 F. Legend 500 F.)

под заказ588 руб.
30404110900

BafflУплотнительное кольцо. MX Z 500 F. Legend 500 F. (Baffle Ring. MX Z 500 F. Legend 500 F.)

под заказ3260 руб.
31404156600

Колпачок. MX Z 500 F. Legend 500 F. (Cap. MX Z 500 F. Legend 500 F.)

под заказ1170 руб.
32404153400

Ниппель. MX Z 500 F. Legend 500 F. (Nipple. MX Z 500 F. Legend 500 F.)

под заказ859 руб.
32404159100

RACCORD *NIPPLE

под заказ680 руб.
33404161851

Air Vent Трубка. MX Z 500 F. Legend 500 F. (Air Vent Tube. MX Z 500 F. Legend 500 F.)

под заказ1210 руб.
34404102000

Винт и Шайба с блокировкой. MX Z 500 F. Legend 500 F. (Screw and Lock Washer. MX Z 500 F. Legend 500 F.)

под заказ237 руб.
35404103000

Пластина. MX Z 500 F. Legend 500 F. (Plate. MX Z 500 F. Legend 500 F.)

под заказ792 руб.
36404112000

Набор инструмента. MX Z 500 F. Legend 500 F. (Tool Kit. MX Z 500 F. Legend 500 F.)

под заказ7330 руб.
36876960

SPECIAL TOOL KIT

под заказ5730 руб.
ski-doo

Время выполнения запроса 1.0241708755493 сек.


 
 

данный сайт носит информационный характер и не является публичной офертой

склад запчастей для водомоторной техники