вконтакте

Контактный телефон: +7 (981) 121-46-93, +7 (800) 200-90-76 , Email: parts-katalog@yandex.ru, где купить

 
 

  Логин:

Пароль:

Регистрация

www.partskatalog.ru Все каталоги Запчасти Mercury Запчасти Suzuki Запчасти Tohatsu Запчасти Honda Контакты



УВАЖАЕМЫЕ КЛИЕНТЫ!
C 19 ДЕКАБРЯ 2025 ПО 02 МАРТА 2026 ГОДА ОТДЕЛ ЗАПЧАСТЕЙ И СЕРВИС РАБОТАТЬ НЕ БУДУТ
ПРОДАЖА ЛОДОЧНЫХ МОТОРОВ В ШТАТНОМ РЕЖИМЕ
ОБ ИЗМЕНЕНИЯХ В ГРАФИКЕ РАБОТЫ ЧИТАЙТЕ НА САЙТА




Выбрать другую модель

Раздел:   вперёд

вернуться к списку узлов и деталей

ДЕТАЛИРОВКА ДЛЯ МОДЕЛИ: SKIDOO MX Z 440 F/500 F, 2001

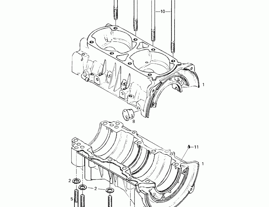
Раздел: Картер двигателя (443) | Crankcase (443)


снегоход BRP SkiDoo модель MX Z 440 F/500 F, 2001 - Картер двигателя (443)

Номер на
рисунке
АртикулНаименованиеКол-во
на складе
Цена
1 420888481

Картер двигателя в сборе. Includes 1 - 8. MX Z 440 F. (Crankcase Assy. Includes 1 - 8. MX Z 440 F.)

под заказ64000 руб.
1 420888483

CRANKCASE ASSY

под заказ81900 руб.
2 420945752

Шайба с блокировкой 8 mm. MX Z 440 F. (Lock Washer 8 mm. MX Z 440 F.)

под заказ118 руб.
2 402001600

RONDELLE-FREIN *WASHER-LOCK#8

под заказ110 руб.
3 420841201

Шестигранный винт M8 x 70. MX Z 440 F. (Hex. Screw M8 x 70. MX Z 440 F.)

под заказ284 руб.
3 420841200

SCREW-HEX.M8 X 70

под заказ230 руб.
4 420841831

Allen Винт M8 x 75. MX Z 440 F. (Allen Screw M8 x 75. MX Z 440 F.)

под заказ170 руб.
5 420841566

Allen Винт M8 x 50. MX Z 440 F. (Allen Screw M8 x 50. MX Z 440 F.)

под заказ170 руб.
6 420945751

Шайба с блокировкой 6 mm. MX Z 440 F. (Lock Washer 6 mm. MX Z 440 F.)

под заказ138 руб.
6 540802026

RONDELLE-FREIN *WASHER-LOCK

под заказ110 руб.
7 420241816

Socket Head Винт M6 x 40. MX Z 440 F. (Socket Head Screw M6 x 40. MX Z 440 F.)

под заказ154 руб.
7 420241815

SCREW-ALLEN M6 X 40

под заказ130 руб.
8 420860962

Кабели Пыльник. MX Z 440 F. (Cable Grommet. MX Z 440 F.)

под заказ832 руб.
8 420860960

PASSE-CABLE *GROMMET-CABLE

под заказ470 руб.
9 420640140

Шпилька M10. MX Z 440 F. (Stud M10. MX Z 440 F.)

под заказпо запросу
10420841149

Шпилька M8 x 167. MX Z 440 F. (Stud M8 x 167. MX Z 440 F.)

под заказ1050 руб.
10841149

STUD (USE 420841149)

под заказ830 руб.
11413702700

Loctite 515, 50 ml. MX Z 440 F. (Loctite 515, 50 ml. MX Z 440 F.)

под заказ4170 руб.
12293800060

Loctite 243, 10 ml. MX Z 440 F. (Loctite 243, 10 ml. MX Z 440 F.)

под заказ2150 руб.
12420897651

LOCTITE-243

под заказпо запросу
13234001410

Шайба 10 mm. MX Z 440 F. (Washer 10 mm. MX Z 440 F.)

под заказ284 руб.
13224001211

WASHER-FLAT DIN.125A

под заказ230 руб.
14234100602

Шайба с блокировкой 10 mm. MX Z 440 F. (Lock Washer 10 mm. MX Z 440 F.)

под заказ284 руб.
14224701188

WASHER-LOCK SPRING DIN.128A-A2

под заказ230 руб.
15232006414

Гайка M10. MX Z 440 F. (Nut M10. MX Z 440 F.)

под заказ284 руб.
15420242091

NUT-HEX.M10

под заказ230 руб.
ski-doo

Время выполнения запроса 0.4279317855835 сек.


 
 

данный сайт носит информационный характер и не является публичной офертой

склад запчастей для водомоторной техники