вконтакте

Контактный телефон: +7 (981) 121-46-93, +7 (800) 200-90-76 , Email: parts-katalog@yandex.ru, где купить

 
 

  Логин:

Пароль:

Регистрация

www.partskatalog.ru Все каталоги Запчасти Mercury Запчасти Suzuki Запчасти Tohatsu Запчасти Honda Контакты



УВАЖАЕМЫЕ КЛИЕНТЫ!
C 19 ДЕКАБРЯ 2025 ПО 02 МАРТА 2026 ГОДА ОТДЕЛ ЗАПЧАСТЕЙ И СЕРВИС РАБОТАТЬ НЕ БУДУТ
ПРОДАЖА ЛОДОЧНЫХ МОТОРОВ В ШТАТНОМ РЕЖИМЕ
ОБ ИЗМЕНЕНИЯХ В ГРАФИКЕ РАБОТЫ ЧИТАЙТЕ НА САЙТА




Выбрать другую модель

назад Раздел:   вперёд

вернуться к списку узлов и деталей

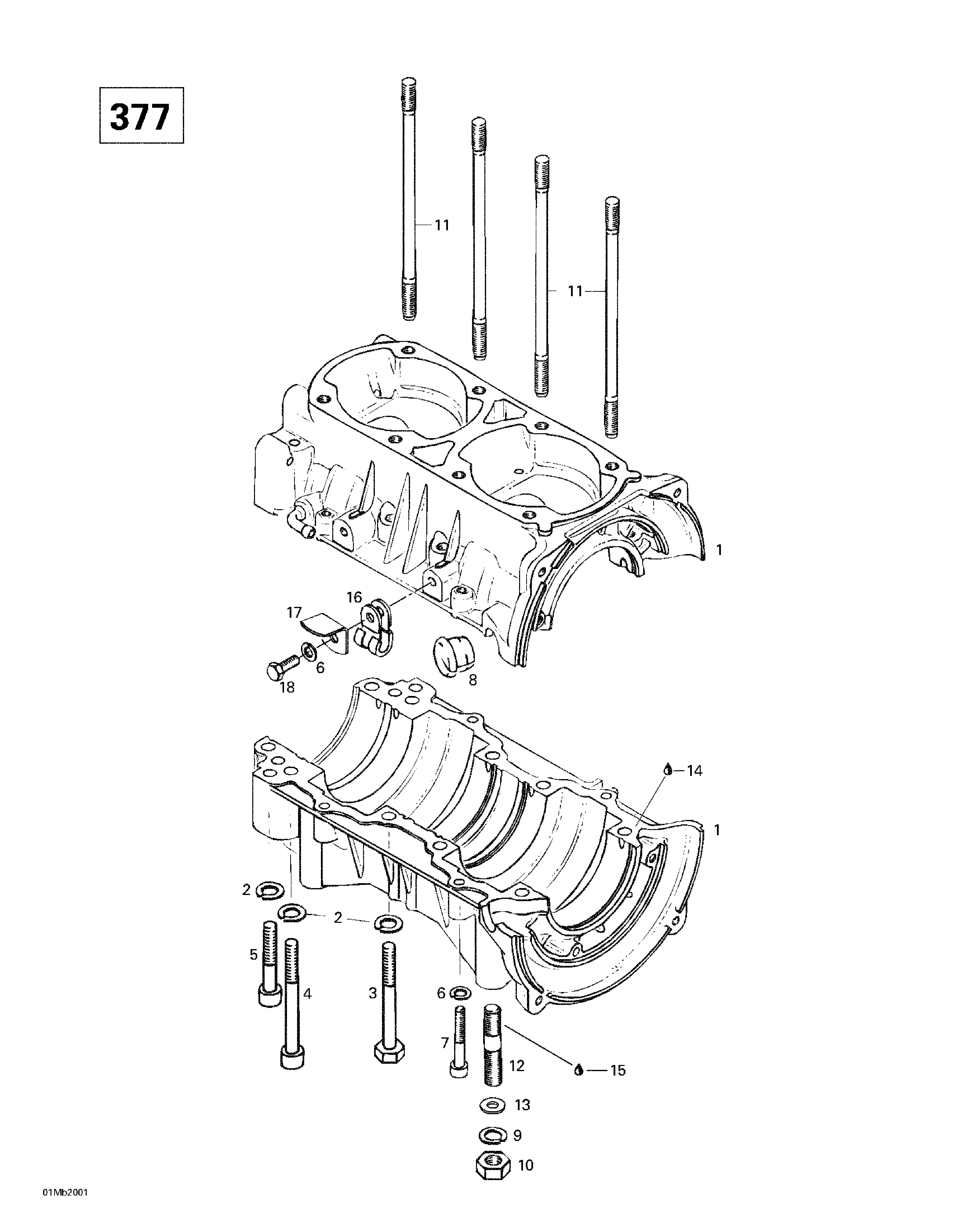
ДЕТАЛИРОВКА ДЛЯ МОДЕЛИ: SKIDOO Formula Deluxe 380/500, 2000

Раздел: Картер двигателя (377) | Crankcase (377)


snowmobile Ski-doo Formula Deluxe 380/500, 2000 раздел - Crankcase (377)

Номер на
рисунке
АртикулНаименованиеКол-во
на складе
Цена
1 420887784

Картер двигателя в сборе. Includes 1 - 8. дляmula S. дляmula DLX 380. (Crankcase Assy. Includes 1 - 8. Formula S. Formula DLX 380.)

под заказ64000 руб.
1 420888483

CRANKCASE ASSY

под заказ81900 руб.
2 420945752

Шайба с блокировкой 8 mm. дляmula S. дляmula DLX 380. (Lock Washer 8 mm. Formula S. Formula DLX 380.)

под заказ118 руб.
2 402001600

RONDELLE-FREIN *WASHER-LOCK#8

под заказ110 руб.
3 420841201

Шестигранный винт M8 x 70. дляmula S. дляmula DLX 380. (Hex. Screw M8 x 70. Formula S. Formula DLX 380.)

под заказ284 руб.
3 420841200

SCREW-HEX.M8 X 70

под заказ230 руб.
4 420841831

Socket Head Винт M8 x 75. дляmula S. дляmula DLX 380. (Socket Head Screw M8 x 75. Formula S. Formula DLX 380.)

под заказ170 руб.
5 420841566

Socket Head Винт M8 x 50. дляmula S. дляmula DLX 380. (Socket Head Screw M8 x 50. Formula S. Formula DLX 380.)

под заказ170 руб.
6 420945751

Шайба с блокировкой 6 mm. дляmula S. дляmula DLX 380. (Lock Washer 6 mm. Formula S. Formula DLX 380.)

под заказ138 руб.
6 540802026

RONDELLE-FREIN *WASHER-LOCK

под заказ110 руб.
7 420241816

Socket Head Винт M6 x 40. дляmula S. дляmula DLX 380. (Socket Head Screw M6 x 40. Formula S. Formula DLX 380.)

под заказ154 руб.
7 420241815

SCREW-ALLEN M6 X 40

под заказ130 руб.
8 420860962

Кабели Пыльник. дляmula S. дляmula DLX 380. (Cable Grommet. Formula S. Formula DLX 380.)

под заказ832 руб.
8 420860960

PASSE-CABLE *GROMMET-CABLE

под заказ470 руб.
9 234100602

Шайба с блокировкой 10 mm. дляmula S. дляmula DLX 380. (Lock Washer 10 mm. Formula S. Formula DLX 380.)

под заказ284 руб.
9 224701188

WASHER-LOCK SPRING DIN.128A-A2

под заказ230 руб.
10232006414

Гайка M10. дляmula S. дляmula DLX 380. (Nut M10. Formula S. Formula DLX 380.)

под заказ284 руб.
10420242091

NUT-HEX.M10

под заказ230 руб.
11420841149

Шпилька M8 x 167. дляmula S. дляmula DLX 380. (Stud M8 x 167. Formula S. Formula DLX 380.)

под заказ1050 руб.
11841149

STUD (USE 420841149)

под заказ830 руб.
12420640140

Шпилька M10. дляmula S. дляmula DLX 380. (Stud M10. Formula S. Formula DLX 380.)

под заказпо запросу
13234001410

плоский Шайба 10 mm. дляmula S. дляmula DLX 380. (Flat Washer 10 mm. Formula S. Formula DLX 380.)

под заказ284 руб.
13224001211

WASHER-FLAT DIN.125A

под заказ230 руб.
14413702700

Loctite 515, 50 ml. дляmula S. дляmula DLX 380. (Loctite 515, 50 ml. Formula S. Formula DLX 380.)

под заказ4170 руб.
15293800060

Loctite 243, 10ml. дляmula S. дляmula DLX 380. (Loctite 243, 10ml. Formula S. Formula DLX 380.)

под заказ2150 руб.
15420897651

LOCTITE-243

под заказпо запросу
16414176000

Кабели Зажим. дляmula S. (Cable Clip. Formula S.)

под заказ284 руб.
16711853412

BRIDE DE CABLE *CLAMP-CABLE

под заказ230 руб.
17420953310

Sвышеport. дляmula S. (Support. Formula S.)

под заказпо запросу
18207161644

Шестигранный винт M6 x 16. дляmula S. (Hex. Screw M6 x 16. Formula S.)

под заказ284 руб.
18420241186

SCREW-HEX.M6 X 16

под заказ230 руб.
ski-doo

Время выполнения запроса 0.50445222854614 сек.


 
 

данный сайт носит информационный характер и не является публичной офертой

склад запчастей для водомоторной техники