вконтакте

Контактный телефон: +7 (981) 121-46-93, +7 (800) 200-90-76 , Email: parts-katalog@yandex.ru, где купить

 
 

  Логин:

Пароль:

Регистрация

www.partskatalog.ru Все каталоги Запчасти Mercury Запчасти Suzuki Запчасти Tohatsu Запчасти Honda Контакты



УВАЖАЕМЫЕ КЛИЕНТЫ!
C 31 ОКТЯБРЯ 2025 ПО 10 НОЯБРЯ 2025 ГОДА РАБОТАТЬ НЕ БУДЕМ




Выбрать другую модель

назад Раздел:  

вернуться к списку узлов и деталей

ДЕТАЛИРОВКА ДЛЯ МОДЕЛИ: SKIDOO Formula S, 2000

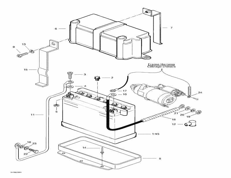
Раздел: Battery | Battery


snowmobile SKIDOO модель Formula S, 2000 - Battery

Номер на
рисунке
АртикулНаименованиеКол-во
на складе
Цена
1 410301100

Battery. Includes 1 - 5. дляmula DLX 380. дляmula DLX 500. (Battery. Includes 1 - 5. Formula DLX 380. Formula DLX 500.)

под заказ5730 руб.
1 410301201

BATTERY (DRY) Y50-N18L-A

под заказ8110 руб.
1 FTX24HL-BS

     (не оригинальная запчасть) Аккумулятор FTX24HL-BS (YTX24HL-BS)

под заказ10 260 руб.
1 F50-N18L-A

     (не оригинальная запчасть) Аккумулятор F50-N18L-A (Y50-N18L-A)

под заказ7 960 руб.
2 410300800

Battery Колпачок. дляmula DLX 380. дляmula DLX 500. (Battery Cap. Formula DLX 380. Formula DLX 500.)

под заказ315 руб.
3 207161644

Шестигранный винт M6 x 16. дляmula DLX 380. дляmula DLX 500. (Hex. Screw M6 x 16. Formula DLX 380. Formula DLX 500.)

под заказ284 руб.
3 420241186

SCREW-HEX.M6 X 16

под заказ230 руб.
4 391302100

Шайба. дляmula DLX 380. дляmula DLX 500. (Washer. Formula DLX 380. Formula DLX 500.)

под заказ130 руб.
4 399901500

WASHER-FLAT

под заказ110 руб.
5 232061414

Гайка M6. дляmula DLX 380. дляmula DLX 500. (Nut M6. Formula DLX 380. Formula DLX 500.)

под заказ284 руб.
5 540802021

NUT-HEX.M6

под заказ230 руб.
6 570022000

Battery Крышка. дляmula DLX 380. дляmula DLX 500. (Battery Cover. Formula DLX 380. Formula DLX 500.)

под заказпо запросу
7 517286000

Steel Stip. дляmula DLX 380. дляmula DLX 500. (Steel Stip. Formula DLX 380. Formula DLX 500.)

под заказ834 руб.
8 517286200

Battery Седло. дляmula DLX 380. дляmula DLX 500. (Battery Seat. Formula DLX 380. Formula DLX 500.)

под заказпо запросу
9 207152044

Винт Hex. M5 x 20. дляmula DLX 380. дляmula DLX 500. (Screw Hex. M5 x 20. Formula DLX 380. Formula DLX 500.)

под заказ138 руб.
9 222052065

SCREW-HEX.CAP DIN.933

под заказ110 руб.
10515175488

Current Провод. дляmula DLX 380. дляmula DLX 500. (Current Wire. Formula DLX 380. Formula DLX 500.)

под заказпо запросу
11515157000

Провод заземления. дляmula DLX 380. дляmula DLX 500. (Ground Wire. Formula DLX 380. Formula DLX 500.)

под заказпо запросу
12570151000

Защита Колпачок. дляmula DLX 380. дляmula DLX 500. (Protector Cap. Formula DLX 380. Formula DLX 500.)

под заказ1350 руб.
12673580

CAPUCHON PROT. *CAP-PROTECTION

под заказ810 руб.
13234151401

Шайба с блокировкой 5 mm (чёрный) дляmula DLX 380. дляmula DLX 500. (Lock Washer 5 mm (Black). Formula DLX 380. Formula DLX 500.)

под заказ130 руб.
13224751090

WASHER-LOCK BLACK DIN.127A

под заказ110 руб.
14390402200

Заклёпка. дляmula DLX 380. дляmula DLX 500. (Rivet. Formula DLX 380. Formula DLX 500.)

под заказ138 руб.
15517286100

Steel Strip. дляmula DLX 380. дляmula DLX 500. (Steel Strip. Formula DLX 380. Formula DLX 500.)

под заказпо запросу
16394001900

Шайба с блокировкой. дляmula DLX 380. дляmula DLX 500. (Lock Washer. Formula DLX 380. Formula DLX 500.)

под заказ130 руб.
17409012600

Open Barrel. дляmula DLX 380. дляmula DLX 500. (Open Barrel. Formula DLX 380. Formula DLX 500.)

под заказ335 руб.
17278001392

COSSE A ANNEAU *BARREL-OPEN

под заказ430 руб.
18409901700

Трубопровод. дляmula DLX 380. дляmula DLX 500. (Tubing. Formula DLX 380. Formula DLX 500.)

под заказ715 руб.
19232081414

Гайка M8. дляmula DLX 380. дляmula DLX 500. (Nut M8. Formula DLX 380. Formula DLX 500.)

под заказ130 руб.
19702000780

ECROU *NUT

под заказ110 руб.
20420945752

Шайба с блокировкой 8 mm. дляmula DLX 380. дляmula DLX 500. (Lock Washer 8 mm. Formula DLX 380. Formula DLX 500.)

под заказ118 руб.
20402001600

RONDELLE-FREIN *WASHER-LOCK#8

под заказ110 руб.
21234081410

плоский Шайба 8 mm. дляmula DLX 380. дляmula DLX 500. (Flat Washer 8 mm. Formula DLX 380. Formula DLX 500.)

под заказ130 руб.
22207161444

Шестигранный винт M6 x 14. дляmula DLX 380. дляmula DLX 500. (Hex. Screw M6 x 14. Formula DLX 380. Formula DLX 500.)

под заказ130 руб.
22222061465

SCREW-HEX.CAP DIN.933

под заказ110 руб.
23234161471

Шайба с блокировкой 6 mm. дляmula DLX 380. дляmula DLX 500. (Lock Washer 6 mm. Formula DLX 380. Formula DLX 500.)

под заказ130 руб.
23224761110

WASHER-LOCK THIN BLACK DIN.127

под заказ110 руб.
24409012500

Open Barrel. дляmula DLX 380. дляmula DLX 500. (Open Barrel. Formula DLX 380. Formula DLX 500.)

под заказ229 руб.
ski-doo

Время выполнения запроса 2.3732769489288 сек.


 
 

данный сайт носит информационный характер и не является публичной офертой

склад запчастей для водомоторной техники