вконтакте

Контактный телефон: +7 (981) 121-46-93, +7 (800) 200-90-76 , Email: parts-katalog@yandex.ru, где купить

 
 

  Логин:

Пароль:

Регистрация

www.partskatalog.ru Все каталоги Запчасти Mercury Запчасти Suzuki Запчасти Tohatsu Запчасти Honda Контакты



УВАЖАЕМЫЕ КЛИЕНТЫ!
C 31 ОКТЯБРЯ 2025 ПО 10 НОЯБРЯ 2025 ГОДА РАБОТАТЬ НЕ БУДЕМ




Выбрать другую модель

назад Раздел:   вперёд

вернуться к списку узлов и деталей

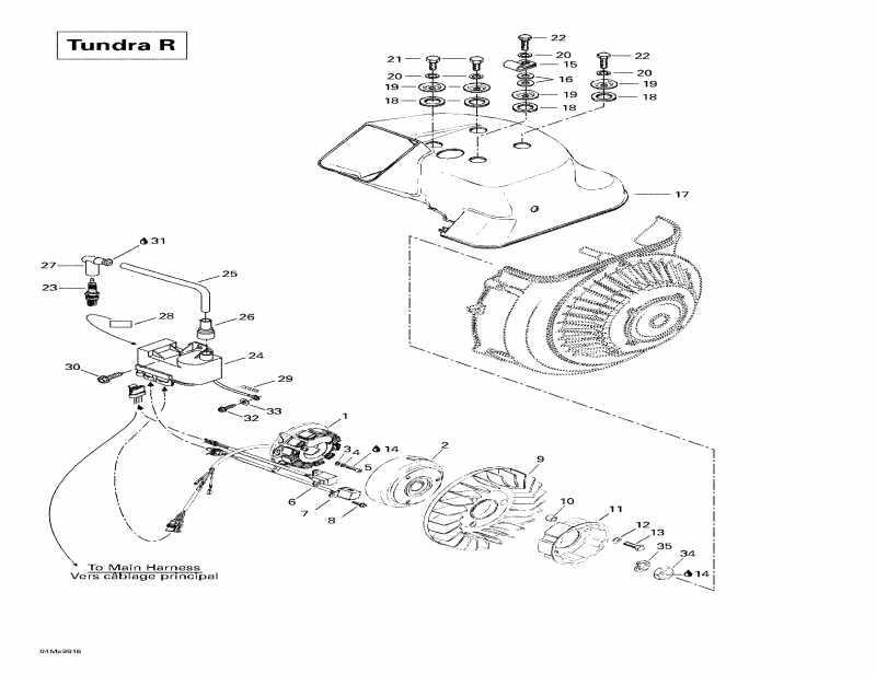
ДЕТАЛИРОВКА ДЛЯ МОДЕЛИ: SKIDOO Tundra R, 1999

Раздел: Магнето (tundra R) | Magneto (tundra R)


Skidoo Tundra R, 1999 раздел - Magneto (tundra R)

Номер на
рисунке
АртикулНаименованиеКол-во
на складе
Цена
1 420887658

Магнето 12V 240W в сборе. Includes 1 - 2. Tundra R. (Magneto 12V 240W Assy. Includes 1 - 2. Tundra R.)

под заказпо запросу
1 420886608

Статор Пластина в сборе. Tundra R. (Stator Plate Assy. Tundra R.)

под заказ48100 руб.
2 420996829

Магнето Маховик. Tundra R. (Magneto Flywheel. Tundra R.)

под заказ46400 руб.
3 420927571

Шайба 5.3 mm. Tundra R. (Washer 5.3 mm. Tundra R.)

под заказ242 руб.
4 420945750

Шайба с блокировкой 5 mm. Tundra R. (Lock Washer 5 mm. Tundra R.)

под заказ138 руб.
4 402402400

RONDELLE-FREIN *WASHER-LOCK

под заказ110 руб.
5 420840515

Allen Винт M5 x 18. Tundra R. (Allen Screw M5 x 18. Tundra R.)

под заказ284 руб.
5 290840515

VIS ALLEN *SCREW-SOCKET

под заказ230 руб.
6 420966542

Pick выше в сборе. Tundra R. (Pick Up Assy. Tundra R.)

под заказ6130 руб.
6 420966541

CAPTEUR ASS. *PICKUP-ASSY.

под заказ10230 руб.
7 420966544

Pick выше в сборе. Tundra R. (Pick Up Assy. Tundra R.)

под заказ6130 руб.
7 420966543

CAPTEUR ASS. *PICKUP-ASSY.

под заказ10100 руб.
8 420941925

Саморез M5 x 16. Tundra R. (Tapping Screw M5 x 16. Tundra R.)

под заказ284 руб.
8 941925

SCREW M5 X 16(USE 420941925)

под заказ230 руб.
9 420866435

Fan. Tundra R. (Fan. Tundra R.)

под заказ9700 руб.
10420847440

Проставка Втулка. Tundra R. (Spacer Bushing. Tundra R.)

под заказ428 руб.
11420852419

Starting Шкив. Tundra R. (Starting Pulley. Tundra R.)

под заказ1420 руб.
11420852590

PULL-STARTING

под заказ2140 руб.
12420945752

Шайба с блокировкой 8 mm. Tundra R. (Lock Washer 8 mm. Tundra R.)

под заказ118 руб.
12402001600

RONDELLE-FREIN *WASHER-LOCK#8

под заказ110 руб.
13222082565

Шестигранный винт M8 x 25. Tundra R. (Hex. Screw M8 x 25. Tundra R.)

под заказ222 руб.
13207182544

SCREW-HEX.CAP DIN.933

под заказ290 руб.
14293800015

Loctite 242, 10 ml. Tundra R. (Loctite 242, 10 ml. Tundra R.)

под заказ1680 руб.
14293800060

LOCTITE 243 *LOCTITE-243

под заказ2150 руб.
15414176000

Зажим. Tundra R. (Clip. Tundra R.)

под заказ284 руб.
15711853412

BRIDE DE CABLE *CLAMP-CABLE

под заказ230 руб.
16224081171

плоский Шайба 8.4 mm. Tundra R. (Flat Washer 8.4 mm. Tundra R.)

под заказ102 руб.
16234081410

WASHER-FLAT DIN.125A

под заказ130 руб.
17420910022

Цилиндр Cowl. Tundra R. (Cylinder Cowl. Tundra R.)

под заказпо запросу
17910022

ILMAVAIPPA (USE 420910022)

под заказпо запросу
18420960860

Rubber Шайба. Tundra R. (Rubber Washer. Tundra R.)

под заказ144 руб.
19420827140

Cowl Крышка. Tundra R. (Cowl Cover. Tundra R.)

под заказ601 руб.
19402018500

COUVERCLE DEFLE*COVER-COWL

под заказ410 руб.
20420945752

Шайба с блокировкой 8 mm. Tundra R. (Lock Washer 8 mm. Tundra R.)

под заказ118 руб.
20402001600

RONDELLE-FREIN *WASHER-LOCK#8

под заказ110 руб.
21222081665

Шестигранный винт M8 x 16. Tundra R. (Hex. Screw M8 x 16. Tundra R.)

под заказ222 руб.
21207181644

SCREW-HEX.CAP DIN.933

под заказ290 руб.
22222082565

Шестигранный винт M8 x 20. Tundra R. (Hex. Screw M8 x 20. Tundra R.)

под заказ222 руб.
22207182544

SCREW-HEX.CAP DIN.933

под заказ290 руб.
23414961100

Свеча зажигания NGK BR9ES. Tundra R. (Spark Plug NGK BR9ES. Tundra R.)

под заказ166 руб.
23414567000

BOUGIE BR9ES *PLUG-SPARK

под заказ170 руб.
24512059003

Calibration Module. Includes 24 - 27. Tundra R. (Calibration Module. Includes 24 - 27. Tundra R.)

под заказпо запросу
25278001268

Свеча зажигания Провод. Tundra R. (Spark Plug Wire. Tundra R.)

под заказпо запросу
25420965521

CABLE ALLUMAGE *CABLE-IGNITION

под заказпо запросу
26515174900

Protection Колпачок. Tundra R. (Protection Cap. Tundra R.)

под заказ1420 руб.
27278000237

Свеча зажигания Защита Tundra R. (Spark Plug Protector. Tundra R.)

под заказ1580 руб.
27420866708

PROT.BOUGIE *PROT-SPARK PLU

под заказ1230 руб.
28512059082

Check Наклейки. Tundra R. (Check Label. Tundra R.)

под заказпо запросу
29409902100

Корпус. Tundra R. (Housing. Tundra R.)

под заказпо запросу
30365901400

Hex. Саморез. Tundra R. (Hex. Tapping Screw. Tundra R.)

под заказ111 руб.
31293550004

Dielectric Смазка, 150 g. Tundra R. (Dielectric Grease, 150 g. Tundra R.)

под заказ4740 руб.
31747018002

GRAISSE *GREASE

под заказ3710 руб.
32210251680

дляming Шестигранный винт M5 x 16. Tundra R. (Forming Hex. Screw M5 x 16. Tundra R.)

под заказ284 руб.
32732600008

SCREW-FORMING HEX.HD.FL.GM6174

под заказ230 руб.
33391301700

плоский Шайба. Tundra R. (Flat Washer. Tundra R.)

под заказ108 руб.
33250200081

RONDELLE PLATE *FLAT WASHER

под заказ140 руб.
34420842230

Hex. Гайка M22. Tundra R. (Hex. Nut M22. Tundra R.)

под заказпо запросу
34842230

NUT M22X1,5(USE420842230)

под заказпо запросу
34010-480

     (не оригинальная запчасть) Гайка маховика BRP 010-480

под заказ400 руб.
35420945759

Шайба с блокировкой 22 mm. Tundra R. (Lock Washer 22 mm. Tundra R.)

под заказ284 руб.
35945759

SPRING WASHER (USE 420945759)

под заказ230 руб.
ski-doo

Время выполнения запроса 1.948438167572 сек.


 
 

данный сайт носит информационный характер и не является публичной офертой

склад запчастей для водомоторной техники