вконтакте

Контактный телефон: +7 (981) 121-46-93, +7 (800) 200-90-76 , Email: parts-katalog@yandex.ru, где купить

 
 

  Логин:

Пароль:

Регистрация

www.partskatalog.ru Все каталоги Запчасти Mercury Запчасти Suzuki Запчасти Tohatsu Запчасти Honda Контакты



УВАЖАЕМЫЕ КЛИЕНТЫ!
C 19 ДЕКАБРЯ 2025 ПО 02 МАРТА 2026 ГОДА ОТДЕЛ ЗАПЧАСТЕЙ И СЕРВИС РАБОТАТЬ НЕ БУДУТ
ПРОДАЖА ЛОДОЧНЫХ МОТОРОВ В ШТАТНОМ РЕЖИМЕ
ОБ ИЗМЕНЕНИЯХ В ГРАФИКЕ РАБОТЫ ЧИТАЙТЕ НА САЙТА




Выбрать другую модель

Раздел:   вперёд

вернуться к списку узлов и деталей

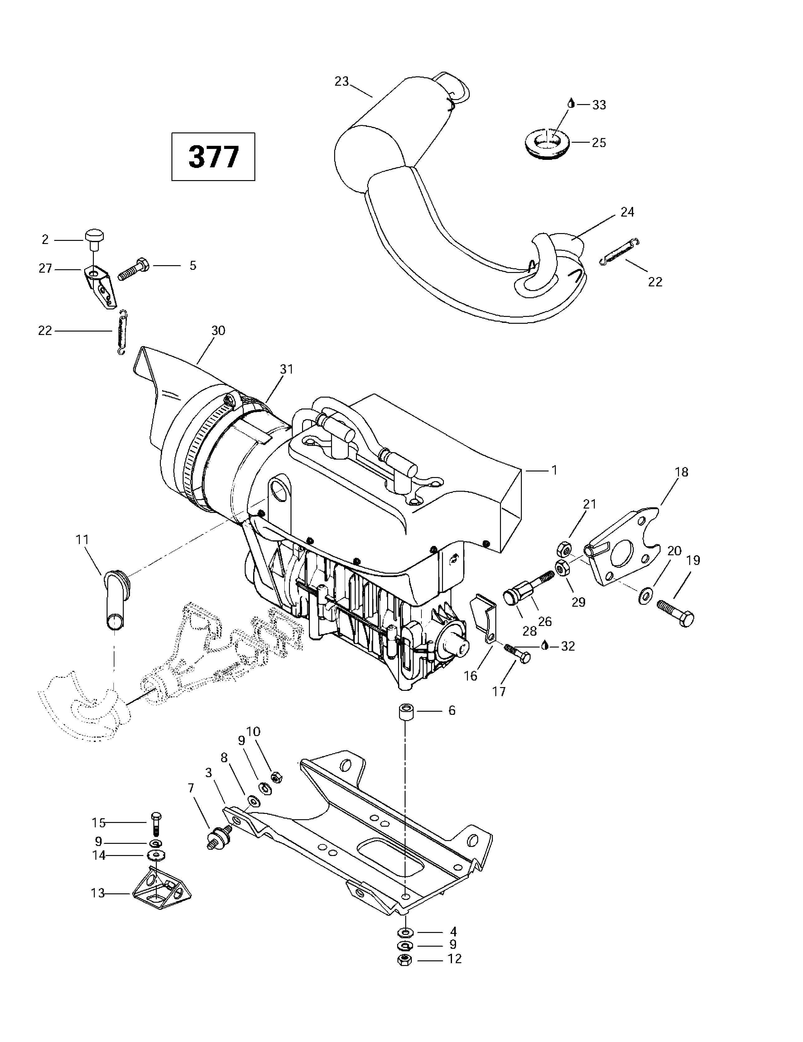
ДЕТАЛИРОВКА ДЛЯ МОДЕЛИ: SKIDOO Skandic 380/500, 1997

Раздел: Двигатель Sвышеport и Muffler (377) | Engine Support And Muffler (377)


снегоход  Skandic 380/500, 1997 раздел - Engine Support And Muffler (377)

Номер на
рисунке
АртикулНаименованиеКол-во
на складе
Цена
1 400308600

<<377>> Двигатель. Skandic 380. (<<377>> Engine. Skandic 380.)

под заказпо запросу
2 570044700

Rubber Bumber. Skandic 380. (Rubber Bumber. Skandic 380.)

под заказ763 руб.
3 512054500

Двигатель Sвышеport. Skandic 380. (Engine Support. Skandic 380.)

под заказпо запросу
3 512051500

SOCLE *SUPPORT-ENGINE

под заказпо запросу
4 224001211

Шайба 10 mm. Skandic 380. (Washer 10 mm. Skandic 380.)

под заказ222 руб.
4 234001410

WASHER-FLAT DIN.125A

под заказ290 руб.
5 222006065

Hex Винт M10 x 60. Skandic 380. (Hex Screw M10 x 60. Skandic 380.)

под заказпо запросу
5 702000102

BOULON *BOLT

под заказпо запросу
6 512051900

Проставка. Skandic 380. (Spacer. Skandic 380.)

под заказпо запросу
7 570127700

Монтажная резинка. Skandic 380. (Rubber Mount. Skandic 380.)

под заказ2440 руб.
7 570128700

TAMPON ANCRAGE *MOUNT-RUBBER

под заказ4070 руб.
7 09-217

     (не оригинальная запчасть) Опора (подушка) двигателя BRP 09-217

под заказ760 руб.
8 224001211

Шайба 10 mm. Skandic 380. (Washer 10 mm. Skandic 380.)

под заказ222 руб.
8 234001410

WASHER-FLAT DIN.125A

под заказ290 руб.
9 224701188

Шайба с блокировкой 10 mm. Skandic 380. (Lock Washer 10 mm. Skandic 380.)

под заказ222 руб.
9 234100602

WASHER-LOCK SPRING DIN.128A-A2

под заказ290 руб.
10228501045

Эластичная гайка со стопором M10. Skandic 380. (Elastic Stop Nut M10. Skandic 380.)

под заказпо запросу
10702000009

ECROU *NUT

под заказпо запросу
11570045800

Коннектор (дляce Flow) Skandic 380. (Connector (Force Flow). Skandic 380.)

под заказпо запросу
12228001045

Гайка M10. Skandic 380. (Nut M10. Skandic 380.)

под заказпо запросу
12701000377

ECROU *NUT

под заказпо запросу
13512055400

Sвышеport. Skandic 380. (Support. Skandic 380.)

под заказпо запросу
14512056700

Шайба с блокировкой. Skandic 380. (Lock Washer. Skandic 380.)

под заказ548 руб.
14517168000

RONDELLE-FREIN *WASHER-LOCK

под заказ430 руб.
15222002565

Шестигранный винт M10 x 25. Skandic 380. (Hex. Screw M10 x 25. Skandic 380.)

под заказ222 руб.
15207102544

SCREW-HEX.CAP ISO.4017

под заказ290 руб.
16512052200

Стопор Пластина. Skandic 380. (Stopper Plate. Skandic 380.)

под заказпо запросу
16512059198

PLAQUE BUTEE SO*PLATE-STOP.WEL

под заказпо запросу
17222082065

Шестигранный винт M8 x 20. Skandic 380. (Hex. Screw M8 x 20. Skandic 380.)

под заказпо запросу
17222082015

SCREW-HEX.CAP DIN.933

под заказпо запросу
18517271800

Sвышеport Пластина. Skandic 380. (Support Plate. Skandic 380.)

под заказпо запросу
19222082565

Шестигранный винт M8 x 25. Skandic 380. (Hex. Screw M8 x 25. Skandic 380.)

под заказ222 руб.
19207182544

SCREW-HEX.CAP DIN.933

под заказ290 руб.
20224081171

плоский Шайба 8 mm. Skandic 380. (Flat Washer 8 mm. Skandic 380.)

под заказ102 руб.
20234081410

WASHER-FLAT DIN.125A

под заказ130 руб.
21228581045

Эластичная гайка со стопором M8. Skandic 380. (Elastic Stop Nut M8. Skandic 380.)

под заказ106 руб.
21232581414

NUT-STOP ELASTIC DIN.985

под заказ140 руб.
22517182100

Пружина. Skandic 380. (Spring. Skandic 380.)

под заказ832 руб.
2211517182100

SPRING 517182100 BBD

под заказ170 руб.
2202-106-01

     (не оригинальная запчасть) Пружина крепления глушителя BRP 02-106-01

под заказ130 руб.
23514046100

Muffler. Includes 23 - 24. Skandic 380. (Muffler. Includes 23 - 24. Skandic 380.)

под заказпо запросу
24420973530

Female Шаровое соединение. Skandic 380. (Female Ball Joint. Skandic 380.)

под заказ743 руб.
25570039000

Выхлоп Шайба. Skandic 380. (Exhaust Washer. Skandic 380.)

под заказ1570 руб.
25570035600

RONDELLE ECHAPP*GROMMET-EXHAUS

под заказ1220 руб.
26517244200

Винт. Skandic 380. (Screw. Skandic 380.)

под заказ1630 руб.
2617076

SCREW 517244200

под заказ1490 руб.
27514038800

Muffler Sвышеport. Skandic 380. (Muffler Support. Skandic 380.)

под заказпо запросу
28570025100

Тяга Фиксатор. Skandic 380. (Rod Retainer. Skandic 380.)

под заказ915 руб.
29228020045

Гайка M12. Skandic 380. (Nut M12. Skandic 380.)

под заказ222 руб.
29232120414

NUT-JAM HEXAGONAL DIN.439B

под заказ290 руб.
30572058400

Air Deflector. Skandic 380. (Air Deflector. Skandic 380.)

под заказ932 руб.
31408803600

Шестерня Струбцина. Skandic 380. (Gear Clamp. Skandic 380.)

под заказпо запросу
32413707400

Loctite 271, 10cc. Skandic 380. (Loctite 271, 10cc. Skandic 380.)

под заказ1680 руб.
32293800005

LOCTITE 271 *LOCTITE-271

под заказ2150 руб.
33293550014

Смазка, Sвышеer Lube#823-28. Skandic 380. (Grease, Super Lube#823-28. Skandic 380.)

под заказ2250 руб.
33293550030

Super lube grease

под заказ2870 руб.
ski-doo

Время выполнения запроса 1.5273950099945 сек.


 
 

данный сайт носит информационный характер и не является публичной офертой

склад запчастей для водомоторной техники