вконтакте

Контактный телефон: +7 (981) 121-46-93, +7 (800) 200-90-76 , Email: parts-katalog@yandex.ru, где купить

 
 

  Логин:

Пароль:

Регистрация

www.partskatalog.ru Все каталоги Запчасти Mercury Запчасти Suzuki Запчасти Tohatsu Запчасти Honda Контакты

назад Раздел:   вперёд

Модификация Вашего двигателя:   Honda BF5AX LB
Модели с серийным номером двигателя от BADE-1200001 до BADE-1299999
Модели с серийным номером рамы от BADL-1400001 до BADL-1699999

Вернуться к выбору узлов мотора

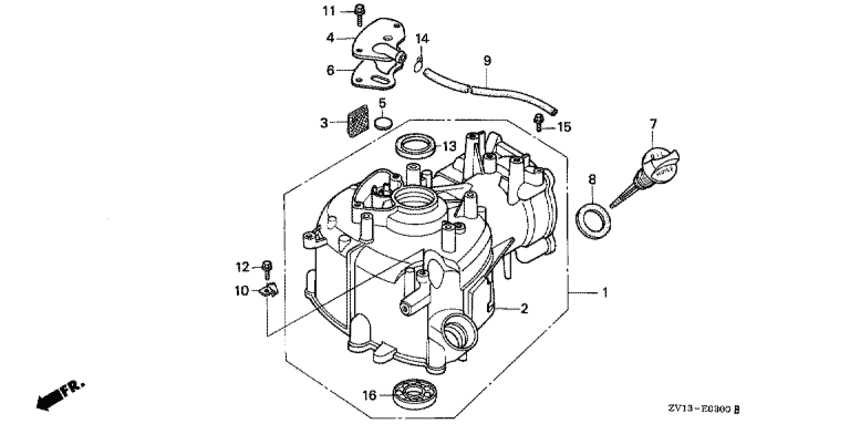
   Гильза цилиндра
Cylinder Barrel      


ДЕТАЛИРОВКА ДЛЯ МОДЕЛИ: HONDA BF5AX

Подвесной четырёх-тактный двигатель Honda BF5AX - Гильза цилиндра - Cylinder Barrel
Номер на
рисунке
АртикулНаименованиеКол-во
на складе
Цена
112000-ZV1-840ZA

Блок цилиндра в сборе (частично) *nh8 * (Barrel assy., cylinder *nh8 *)

под заказ72330 руб. 
112000-ZV1-415ZA

(последний код) BARREL ASSY., CYLINDER *N

под заказ87060 руб. 
312367-ZE6-010

Фильтр сапуна (Filter, breather)

под заказ750 руб. 
412371-ZV1-000

Крышка камеры сапуна (Cap, breather chamber)

под заказ1120 руб. 
512372-879-000

Клапан сапуна (Valve, breather)

под заказ180 руб. 
612373-ZV1-000

Прокладка крышки сапуна (Packing, breather cap)

под заказ250 руб. 
715620-ZV1-003

Колпачок масляного фильтра (Cap, oil filler)

под заказ1140 руб. 
815625-ZE6-000

Прокладка крышки заливной горловины (Packing, oil filler cap)

под заказ410 руб. 
915721-ZV1-C50

Трубка сапуна (Tube, breather)

под заказпо запросу 
1015725-ZV1-000

Зажим трубки сапуна (Clamp, breather tube)

под заказпо запросу 
1190013-ZV0-010

Фланцевый болт, 6x12 (Bolt, flange, 6x12)

под заказ350 руб. 
1290019-ZV1-000

Фланцевый болт, 5x10 (Bolt, flange, 5x10)

под заказ280 руб. 
1290019-ZV1-010

Фланцевый болт, 5x10 (Bolt, flange, 5x10)

под заказ280 руб. 
1391252-888-003

Сальник, 25x38x7 (arai) (Oil seal, 25x38x7 (arai))

2 шт1980 руб. 
1391201-ZG9-U71

Сальник, 25x38x7 (Oil seal, 25x38x7)

под заказ970 руб. 
1590019-ZW4-000

Фланцевый болт, 5x10 (Bolt, flange, 5x10)

под заказ530 руб. 
1696100-6205000

Подшипник, радиальный шариковый, 6205 (Bearing, radial ball, 6205)

5 шт1570 руб. 
166205NNTN

   (подбор по маркировке) Подшипник NTN 6205N(25*52*15 мм)

под заказ0

Время выполнения запроса 0.40441989898682 сек.

 
 

данный сайт носит информационный характер и не является публичной офертой

склад запчастей для водомоторной техники