вконтакте

Контактный телефон: +7 (981) 121-46-93, +7 (800) 200-90-76 , Email: parts-katalog@yandex.ru, где купить

 
 

  Логин:

Пароль:

Регистрация

www.partskatalog.ru Все каталоги Запчасти Mercury Запчасти Suzuki Запчасти Tohatsu Запчасти Honda Контакты

назад Раздел:   вперёд

Модификация Вашего двигателя:   Honda BF5AM LC
Модели с серийным номером двигателя от BADE-1200001 до BADE-1399999
Модели с серийным номером рамы от BADL-1200001 до BADL-1399999

Вернуться к выбору узлов мотора

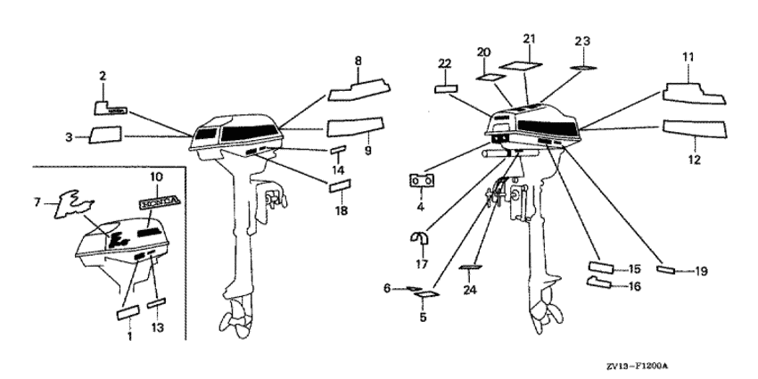
   Наклейки
Label      


ДЕТАЛИРОВКА ДЛЯ МОДЕЛИ: HONDA BF5AM

Подвесной  двигатель BF5AM - Наклейки / Label
Номер на
рисунке
АртикулНаименованиеКол-во
на складе
Цена
130590-GBF-850

Наклейки, ignition noise (Label, ignition noise)

под заказпо запросу 
130590-GBF-851

Наклейки, ignition noise (english / french) (Label, ignition noise (english/french))

под заказ870 руб. 
287121-ZV1-C00

Маркировка - мощность двигателя (Mark, rr)

под заказпо запросу 
287121-ZV1-C01

Маркировка - мощность двигателя (Mark, rr)

под заказпо запросу 
487123-ZV1-841

Этикетка - индикатор (Label, indication)

под заказ1430 руб. 
687124-ZV3-010

Маркировка - индикация аварийного останова (Mark, emergency switch indication)

под заказ810 руб. 
787131-ZV1-C00

Маркировка сбоку (Mark, side)

под заказпо запросу 
787131-ZV1-C01

Маркировка сбоку (Mark, side)

под заказ2600 руб. 
1087132-ZV4-A01

Маркировка - полоса сбоку (honda) (Mark, side stripe (honda))

под заказпо запросу 
1087132-ZV4-A02

Маркировка - полоса сбоку (honda) (Mark, side stripe (honda))

под заказ740 руб. 
1387511-ZV1-C11

Маркировка - замена (english / french) (Mark, change (english/french))

под заказ430 руб. 
1587531-ZV5-611

Наклейка, осторожно масло (english / french) (Label, oil caution (english/french))

под заказ580 руб. 
1787532-ZV1-C01

Маркировка - управление дросселем (Mark, throttle)

под заказ640 руб. 
1987535-ZV5-610

Этикетка - хранить осторожно (english / french) (Label, storing caution (english/french))

под заказ740 руб. 
2087516-VA9-B50

Маркировка - пользоваться осторожно (Mark, operator caution)

под заказ840 руб. 
2187538-ZW1-720

Этикетка - предупреждение пользователя (ec) (Label, warning operator (ec))

под заказ1980 руб. 
2187538-ZW1-721

(последний код) LABEL, WARNING OPERATOR (

под заказ1980 руб. 
2387634-ZW4-D20

Маркировка - окружающая среда (epa 2006) (Mark, environment (epa 2006))

под заказ1870 руб. 

Время выполнения запроса 0.70398306846619 сек.

 
 

данный сайт носит информационный характер и не является публичной офертой

склад запчастей для водомоторной техники