вконтакте

Контактный телефон: +7 (981) 121-46-93, +7 (800) 200-90-76 , Email: parts-katalog@yandex.ru, где купить

 
 

  Логин:

Пароль:

Регистрация

www.partskatalog.ru Все каталоги Запчасти Mercury Запчасти Suzuki Запчасти Tohatsu Запчасти Honda Контакты

назад Раздел:   вперёд

Модификация Вашего двигателя:   Honda BF8CX LGDS
Модели с серийным номером двигателя от BABE-1200001 до BABE-9999999
Модели с серийным номером рамы от BAVL-1400001 до BAVL-1400145

Вернуться к выбору узлов мотора

   Наборы для ремонта водяного насоса (bf8c / cx)
Water Pump Impeller Kit (bf8c / Cx)      


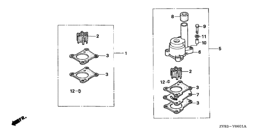
ДЕТАЛИРОВКА ДЛЯ МОДЕЛИ: HONDA BF8CX

Двигатель Хонда BF8CX - Water Pump Impeller Kit (bf8c / Cx) - Наборы для ремонта водяного насоса (bf8c / cx)
Номер на
рисунке
АртикулНаименованиеКол-во
на складе
Цена
106192-ZV4-000

Ремкомплект водяной помпы (Pump kit, impeller)

2 шт3960 руб. 
1SK06192-ZV4-000

   (не оригинальный аналог) Ремкомплект помпы Standard Skipper для Honda 8, 15

0 шт1362 руб.
1T-06192-ZV4-000

   (не оригинальный аналог) Ремкомплект насоса охлаждения Honda 06192-ZV4-000 (MIZASHI)

под заказ2250 руб.
219210-ZV4-651

Крыльчатка водяной помпы (Impeller, pump)

2 шт3040 руб. 
2SK19210-ZV4-651

   (не оригинальный аналог) Крыльчатка Standard Skipper для Honda BF8C, BF9.9A-15A, BF9.9B-15B

1 шт664 руб.
2T-500343

   (не оригинальный аналог) Крыльчатка помпы охлаждения двигателя Honda 500343 (CEF)

под заказ1720 руб.
2T-19210-ZV4-651

   (не оригинальный аналог) Крыльчатка помпы охлаждения двигателя Honda 19210-ZV4-651 (MIZASHI)

под заказпо запросу
2T-06192-ZV4-000

   (не оригинальный аналог) Ремкомплект насоса охлаждения Honda 06192-ZV4-000 (MIZASHI)

под заказ2250 руб.
2T-SC-WT140

   (не оригинальный аналог) Крыльчатка помпы охлаждения двигателя Honda SC-WT140

под заказпо запросу
319232-ZV4-610

Прокладка крыльчатки (Gasket, impeller)

5 шт410 руб. 
506193-ZV4-000

Ремкомплект водяной помпы (Pump kit, impeller)

под заказ18610 руб. 
619220-ZV4-000

Корпус крыльчатки (Housing comp., impeller)

1 шт12220 руб. 
719231-ZV4-020

Колпак крыльчатки (Cover, impeller)

под заказ1870 руб. 
819253-ZV1-000

Кольцо сальника водяной трубки (Ring, water tube seal)

под заказ740 руб. 
819253-ZVD-000

(последний код) RING, WATER TUBE SEAL

3 шт940 руб. 
990108-881-000

Болт под шестигранник., 6x28 (Bolt, hex., 6x28)

под заказ460 руб. 
1090112-881-000

Соеденительный воротник B (Collar b, distance)

под заказ890 руб. 
1190504-921-010

Плоская шайба, 6 мм (Washer, plain, 6mm)

6 шт330 руб. 
1290752-ZV4-650

Ключ, woodruff, 16x12 (Key, woodruff, 16x12)

под заказ280 руб. 

Время выполнения запроса 0.34093880653381 сек.

 
 

данный сайт носит информационный характер и не является публичной офертой

склад запчастей для водомоторной техники