вконтакте

Контактный телефон: +7 (981) 121-46-93, +7 (800) 200-90-76 , Email: parts-katalog@yandex.ru, где купить

 
 

  Логин:

Пароль:

Регистрация

www.partskatalog.ru Все каталоги Запчасти Mercury Запчасти Suzuki Запчасти Tohatsu Запчасти Honda Контакты

назад Раздел:   вперёд

Модификация Вашего двигателя:   Honda BFP8D3 LHC; Power Thrust
Модели с серийным номером двигателя от BEAAJ-1000001 до BEAAJ-1999999
Модели с серийным номером рамы от BAAJ-1200001 до BAAJ-1299999

Вернуться к выбору узлов мотора

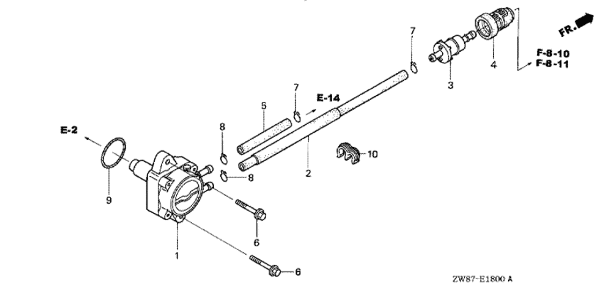
   Топливный насос
Fuel Pump      


ДЕТАЛИРОВКА ДЛЯ МОДЕЛИ: HONDA BFP8D3

Подвесной 4x-тактный лодочный двигатель BFP8D3 - Топливный насос - Fuel Pump
Номер на
рисунке
АртикулНаименованиеКол-во
на складе
Цена
116700-ZW9-003

Топливный насос, в сборе (Pump assy., fuel)

2 шт18240 руб. 
216861-ZW9-000

Топливная трубка B (Tube b, fuel)

под заказ1420 руб. 
316910-ZV4-015

Топливный фильтр (сетчатый) (Strainer comp., fuel)

3 шт1900 руб. 
416915-ZV4-000

Подвес для топливного фильтра (Suspension, strainer)

под заказ780 руб. 
517701-ZW9-000

Топливный шланг (Tube, fuel)

под заказ520 руб. 
690003-ZW9-000

Фланцевый болт, 6x22 (Bolt, flange, 6x22)

под заказ420 руб. 
790603-ZV4-000

Зажим трубки (b10) (Clip, tube (b10))

под заказ270 руб. 
890604-ZV0-000

Зажим трубки (b12) (Clip, tube (b12))

под заказ150 руб. 
991303-ZW9-000

Уплотнительное кольцо, 31.2x2.4 (O-ring, 31.2x2.4)

под заказ510 руб. 
1017439-PY3-A01

Струбцина (Clamp)

под заказ570 руб. 

Время выполнения запроса 0.35682511329651 сек.

 
 

данный сайт носит информационный характер и не является публичной офертой

склад запчастей для водомоторной техники