вконтакте

Контактный телефон: +7 (981) 121-46-93, +7 (800) 200-90-76 , Email: parts-katalog@yandex.ru, где купить

 
 

  Логин:

Пароль:

Регистрация

www.partskatalog.ru Все каталоги Запчасти Mercury Запчасти Suzuki Запчасти Tohatsu Запчасти Honda Контакты

назад Раздел:   вперёд

Модификация Вашего двигателя:   Honda BFP8D3 XRC; Power Thrust
Модели с серийным номером двигателя от BEAAJ-1000001 до BEAAJ-1999999
Модели с серийным номером рамы от BAAJ-1200001 до BAAJ-1299999

Вернуться к выбору узлов мотора

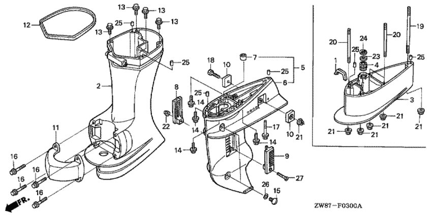
   Картер коробки передач / Удлинение корпуса
Gear Case / Extension Case      


ДЕТАЛИРОВКА ДЛЯ МОДЕЛИ: HONDA BFP8D3

Подвесной четырёхтактный мотор Honda BFP8D3 - Картер коробки передач / Удлинение корпуса - Gear Case / Extension Case
Номер на
рисунке
АртикулНаименованиеКол-во
на складе
Цена
119243-ZW9-000

Пыльник корпуса водяной помпы (Grommet, water pump housing)

под заказ1140 руб. 
240201-ZW9-630ZA

Удлинитель копуса (l) *nh282mu * (Case, extension (l) *nh282mu *)

под заказ99490 руб. 
340202-ZW9-A30ZA

Удлинение корпуса (ul) *nh282mu * (Separator, extension (ul) *nh282mu *)

под заказ90810 руб. 
440210-ZW9-A30

Втулка вертикального вала (Bush comp., vertical shaft)

под заказ2780 руб. 
541100-ZW9-A30ZA

Корпус "ноги" (ul) *nh282mu * (Case comp., gear (ul) *nh282mu *)

под заказпо запросу 
641101-ZW9-A30ZA

Картер коробки передач (ul) *nh282mu * (Case, gear (ul) *nh282mu *)

под заказпо запросу 
741103-935-003

Подшипник, игольчатый, 15x21x16 (Bearing, needle, 15x21x16)

под заказ1600 руб. 
841104-ZV5-000

Экран для воды, правый (Screen, r. water)

под заказ1520 руб. 
941105-ZV5-000

Экран для воды, левый (Screen, l. water)

под заказ1400 руб. 
1041106-ZW9-000

Металлический анод (Metal, anode)

2 шт1790 руб. 
1150111-ZW9-000ZA

Кожух, установленный снизу *nh282mu * (Housing, lower mounting *nh282mu *)

под заказ8760 руб. 
1263702-ZW9-000

Резинка нижней части корпуса (Rubber, under cover)

под заказ1070 руб. 
1390008-ZW9-000

Фланцевый болт, 8x35 (Bolt, flange, 8x35)

под заказ900 руб. 
1590101-ZW9-003

Болт контроля уровня масла (Bolt, oil check)

2 шт850 руб. 
1690105-ZW9-000

Фланцевый болт, 6x20 (Bolt, flange, 6x20)

2 шт640 руб. 
1890113-ZV5-000

Болт под шестигранник., 6x25 (Bolt, hex., 6x25)

под заказ380 руб. 
1990124-ZW9-A30

Болт под шпильку, 6x211 (Bolt, stud, 6x211)

под заказпо запросу 
2090125-ZW9-A30

Болт под шпильку, 6x162 (Bolt, stud, 6x162)

под заказпо запросу 
2190205-PP9-020

Гайка с замком, 6 мм (Nut, self-lock, 6mm)

под заказ1360 руб. 
2290302-ZV4-000

Гайка с замком, 5 мм (Nut, self-lock, 5mm)

под заказ1270 руб. 
2390501-ZV5-A10

Шайба, 20 мм (Washer, 20mm)

под заказ480 руб. 
2490651-ZV5-A10

Внутреннее стопорное кольцо, 30 мм (Circlip, internal, 30mm)

под заказ360 руб. 
2590756-ZV5-000

Шпонка, 6x10 (Dowel pin, 6x10)

1 шт220 руб. 
2691301-216-000

Уплотнительное кольцо, 5.5x1.5 (O-ring, 5.5x1.5)

7 шт150 руб. 
2793700-050-284-J

Овальный винт, 5x28 (Screw, oval, 5x28)

под заказ330 руб. 

Время выполнения запроса 1.3777439594269 сек.

 
 

данный сайт носит информационный характер и не является публичной офертой

склад запчастей для водомоторной техники