вконтакте

Контактный телефон: +7 (981) 121-46-93, +7 (800) 200-90-76 , Email: parts-katalog@yandex.ru, где купить

 
 

  Логин:

Пароль:

Регистрация

www.partskatalog.ru Все каталоги Запчасти Mercury Запчасти Suzuki Запчасти Tohatsu Запчасти Honda Контакты

назад Раздел:   вперёд

Модификация Вашего двигателя:   Honda BF10D2 SRE
Модели с серийным номером двигателя от BEABJ-1000001 до BEABJ-1999999
Модели с серийным номером рамы от BABJ-1100001 до BABJ-1199999

Вернуться к выбору узлов мотора

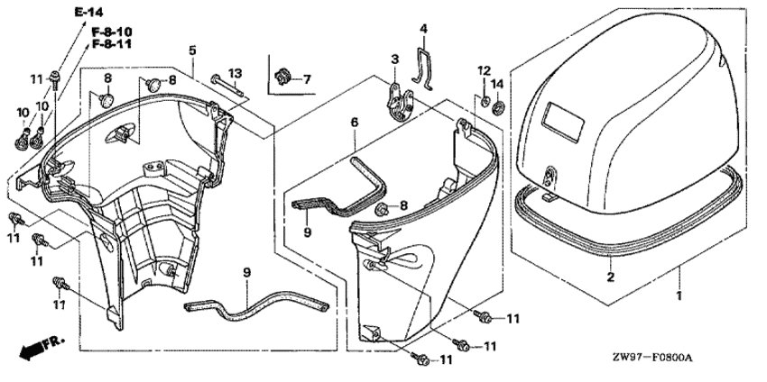
   Крышка двигателя (капот)
Engine Cover      


ДЕТАЛИРОВКА ДЛЯ МОДЕЛИ: HONDA BF10D2

Подвесной  лодочный мотор HONDA BF10D2 - Крышка двигателя (капот)
Номер на
рисунке
АртикулНаименованиеКол-во
на складе
Цена
163100-ZW9-010ZA

Копот двигателя, комплект *nh282mu * (Cover comp., engine *nh282mu *)

под заказ51130 руб. 
163100-ZW9-030ZA

Копот двигателя, комплект *nh282mu * (Cover comp., engine *nh282mu *)

под заказ51130 руб. 
163100-ZW9-040ZA

Копот двигателя, комплект *nh282mu * (Cover comp., engine *nh282mu *)

под заказ51130 руб. 
263102-ZW9-300

Резинка капота двигателя (Seal, engine cover)

под заказ5610 руб. 
263102-ZW9-310

(последний код) SEAL, ENGINE COVER

под заказ5610 руб. 
363232-ZW9-010

Рычаг защёлки (Lever, fastener)

1 шт1820 руб. 
363232-ZW9-020

(последний код) LEVER, FASTENER

5 шт1900 руб. 
463236-ZW9-010

Проволока защёлки (3.2) (Wire, fastener (3.2))

5 шт660 руб. 
563710-ZW9-010ZA

Крышка нижней правой части двигателя *nh282mu * (Cover comp., r. under engine *nh282mu *)

под заказ37280 руб. 
506630-ZW9-305ZA

(последний код) SNH282MU

под заказ38390 руб. 
563710-ZW9-020ZA

Крышка нижней правой части двигателя *nh282mu * (Cover comp., r. under engine *nh282mu *)

под заказпо запросу 
663715-ZW9-000ZA

Крышка нижней левой части двигателя *nh282mu * (Cover comp., l. under engine *nh282mu *)

под заказ53130 руб. 
663715-ZW9-010ZA

Крышка нижней левой части двигателя *nh282mu * (Cover comp., l. under engine *nh282mu *)

под заказпо запросу 
863718-ZW9-000

Резиновая подушка (Rubber, cushion)

под заказ400 руб. 
963719-ZW9-000

Сальник снизу корпуса двигателя (Seal, under cover)

под заказ1420 руб. 
1082873-ZV5-000

Пыльник контроля воды (Grommet, water check)

5 шт1430 руб. 
1190181-ZW9-000

Винт с шайбой, 5x10 (Screw-washer, 5x10)

под заказ230 руб. 
1190181-ZW9-010

(последний код) BOLT-WASHER, SOCKET, 5X10

под заказ220 руб. 
1290502-ZV4-000

Плоская шайба, 5 мм (Washer, plain, 5mm)

2 шт550 руб. 
1390754-ZW9-000

Штифт, 5x47 (Pin, 5x47)

3 шт660 руб. 
1491452-ZW9-000

Ограничительное кольцо (Ring, stopper)

3 шт300 руб. 

Время выполнения запроса 0.99940514564514 сек.

 
 

данный сайт носит информационный характер и не является публичной офертой

склад запчастей для водомоторной техники