вконтакте

Контактный телефон: +7 (981) 121-46-93, +7 (800) 200-90-76 , Email: parts-katalog@yandex.ru, где купить

 
 

  Логин:

Пароль:

Регистрация

www.partskatalog.ru Все каталоги Запчасти Mercury Запчасти Suzuki Запчасти Tohatsu Запчасти Honda Контакты

назад Раздел:   вперёд

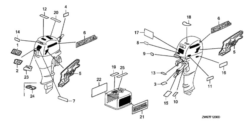
Модификация Вашего двигателя:   Honda BF10D2 LRE
Модели с серийным номером двигателя от BEABJ-1000001 до BEABJ-1999999
Модели с серийным номером рамы от BABJ-1100001 до BABJ-1199999

Вернуться к выбору узлов мотора

   Наклейки
Label      


ДЕТАЛИРОВКА ДЛЯ МОДЕЛИ: HONDA BF10D2

Подвесной 4x-тактный мотор Honda BF10D2 - Label / Наклейки
Номер на
рисунке
АртикулНаименованиеКол-во
на складе
Цена
287121-ZW9-S10

Маркировка - мощность двигателя. (10) (Mark, rr. (10))

под заказ1760 руб. 
587131-ZW9-S00

Маркировка сбоку (Mark, side)

2 шт1760 руб. 
687132-ZW9-S00

Маркировка - полоса сбоку (honda) (Mark, side stripe (honda))

2 шт1330 руб. 
887135-ZW5-000

Маркировка (e-spec) (Mark (e-spec))

2 шт400 руб. 
987227-ZV7-000

Маркировка - давление масла (Mark, oil pressure)

под заказ740 руб. 
1287516-VA9-B50

Маркировка - пользоваться осторожно (Mark, operator caution)

под заказ840 руб. 
1487531-ZW9-620

Наклейка, осторожно масло (Label, oil caution)

под заказ680 руб. 
1787538-ZW1-720

Этикетка - предупреждение пользователя (ec) (Label, warning operator (ec))

под заказ1980 руб. 
1787538-ZW1-721

(последний код) LABEL, WARNING OPERATOR (

под заказ1980 руб. 
1887546-ZW9-620

Маркировка - аварийный запуск (french) (Mark, emergency starter (french))

под заказ1110 руб. 
2387634-ZW4-D20

Маркировка - окружающая среда (epa 2006) (Mark, environment (epa 2006))

под заказ1870 руб. 
2387634-ZW4-H10

Маркировка - окружающая среда (2006 epa стандарт) (Mark, environment (2006 epa standard))

под заказ1870 руб. 
2487634-ZW4-H11

Маркировка - окружающая среда (ультра низкая эмиссия) (3-star) (Mark, environment (ultra low emission) (3-star))

под заказ1980 руб. 

Время выполнения запроса 0.55171585083008 сек.

 
 

данный сайт носит информационный характер и не является публичной офертой

склад запчастей для водомоторной техники