вконтакте

Контактный телефон: +7 (981) 121-46-93, +7 (800) 200-90-76 , Email: parts-katalog@yandex.ru, где купить

 
 

  Логин:

Пароль:

Регистрация

www.partskatalog.ru Все каталоги Запчасти Mercury Запчасти Suzuki Запчасти Tohatsu Запчасти Honda Контакты

назад Раздел:   вперёд

Модификация Вашего двигателя:   Honda BF15D3 SHSG
Модели с серийным номером двигателя от BEALJ-1000001 до BEALJ-9999999
Модели с серийным номером рамы от BALJ-1000001 до BALJ-1099999

Вернуться к выбору узлов мотора

   Карбюратор (авто)
Carburetor (auto)      


ДЕТАЛИРОВКА ДЛЯ МОДЕЛИ: HONDA BF15D3

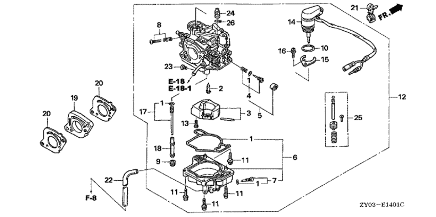
Подвесной четырёх-тактный лодочный мотор Хонда BF15D3 - Carburetor (auto) / Карбюратор (авто)
Номер на
рисунке
АртикулНаименованиеКол-во
на складе
Цена
116010-ZW9-003

Комплект прокладок (Gasket set)

3 шт1650 руб. 
216011-ZV4-005

Клапан поплавка, набор (Valve set, float)

1 шт6940 руб. 
316013-ZW9-003

Поплавок, набор (Float set)

под заказ4700 руб. 
416016-ZY1-721

Набор винтов (Screw set)

под заказ1820 руб. 
616023-ZY1-801

Поплавковая камера, набор (Chamber set, float)

под заказ10570 руб. 
716024-ZV4-650

Дренажный винт, комплект (Screw set, drain)

под заказ2400 руб. 
816028-ZV4-650

Набор винтов (Screw set)

под заказ1680 руб. 
916071-ZV4-005

Винт заглушки (Screw, plug)

3 шт970 руб. 
1016077-KG8-901

Уплотнительное кольцо стартера (O-ring, bystarter)

1 шт610 руб. 
1116081-ZV4-650

Винт с шайбой (Screw-washer)

под заказ380 руб. 
1216100-ZY0-821

Карбюратор в сборе. (bj12b a) (Carburetor assy. (bj12b a))

под заказ72030 руб. 
1216100-ZY0-823

Карбюратор в сборе. (bj12b a) (Carburetor assy. (bj12b a))

под заказпо запросу 
1316121-ZW9-003

Винт с чашечкой (Screw, pan)

под заказ170 руб. 
1416130-ZY1-801

ByСтартер в сборе., авто (Bystarter assy., auto)

под заказ10710 руб. 
1516131-ZW9-801

Установочная пластина (Plate, setting)

1 шт660 руб. 
1616132-ZW9-801

Винт с шайбой (Screw-washer)

1 шт270 руб. 
1716150-ZY0-003

Форсунка, #52 (Jet set, #52)

под заказ5360 руб. 
1816166-ZY0-003

Главная форсунка (Nozzle, main)

под заказ4390 руб. 
1916211-ZY1-000

Изолятор карбюратора (Insulator, carburetor)

под заказ1050 руб. 
2016221-ZY1-000

Прокладка карбюратора (Packing, carburetor)

9 шт830 руб. 
2191558-SM4-003

Зажим (Clip)

под заказ530 руб. 
2295003-070-203-1

Трубка (Tube)

под заказ110 руб. 
2399101-ZV5-1020

Главная форсунка, #102 (Jet, main, #102)

под заказ1080 руб. 
2416119-ZW9-013

Колпачок (Cap)

4 шт1400 руб. 
2516123-ZY0-013

Плунжер, акселератор помпы (комплект) (Plunger set, accelerator pump)

2 шт2910 руб. 
2616163-GHB-600

Зажим трубки (Clip, tube)

1 шт230 руб. 

Время выполнения запроса 1.033173084259 сек.

 
 

данный сайт носит информационный характер и не является публичной офертой

склад запчастей для водомоторной техники