Контактный телефон: +7 (981) 121-46-93, +7 (800) 200-90-76 , Email: parts-katalog@yandex.ru, где купить |
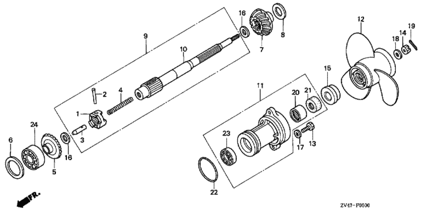
Модификация Вашего двигателя: Honda BF15B2 LGDS Вернуться к выбору узлов мотора Вал гребного винта / Гребной винт |
|||||||||||||||||||||||||||||||||||||||||||||||||||||||||||||||||||||||||||||||||||||||||||||||||||||||||||||||||||||||||||||||||||||||||||||||||||||||||||||||||||||||||||||||||||||||||||||||||||||
| Номер на рисунке | Артикул | Наименование | Кол-во на складе | Цена | |
| 1 | 24101-ZV4-300 | Переключатель сцепления (Shifter, clutch) | под заказ | 6090 руб. | |
| 2 | 24102-935-300 | Штифт переключателя, 4x35 (Pin, shifter, 4x35) | под заказ | 260 руб. | |
| 3 | 24122-ZV4-300 | Ползунок переключателя (Slider, shift) | под заказ | 960 руб. | |
| 4 | 24123-ZV1-300 | Пружина переключателя (Spring, shift) | 2 шт | 550 руб. | |
| 5 | 41145-ZV4-000 | Косая шестерня переднего хода (27t) (Gear comp., fr. bevel (27t)) | 1 шт | 28850 руб. | |
| 6 | 41146-ZV4-000 | Регулировочная шайба, 40 мм (a) (0.08 мм) (Shim, 40mm (a) (0.08mm)) | под заказ | 420 руб. | |
| 6 | 41147-ZV4-000 | Регулировочная шайба, 40 мм (b) (0.10 мм) (Shim, 40mm (b) (0.10mm)) | под заказ | 420 руб. | |
| 6 | 41148-ZV4-000 | Регулировочная шайба, 40 мм (c) (0.12 мм) (Shim, 40mm (c) (0.12mm)) | под заказ | 420 руб. | |
| 6 | 41149-ZV4-000 | Регулировочная шайба, 40 мм (d) (0.15 мм) (Shim, 40mm (d) (0.15mm)) | под заказ | 420 руб. | |
| 7 | 41151-ZV4-000 | Косая шестерня заднего хода (27t) (Gear, rr. bevel (27t)) | под заказ | 28850 руб. | |
| 8 | 41157-ZV4-000 | Регулировочная шайба A шестерни (0.10 мм) (Shim a, gear (0.10mm)) | под заказ | 520 руб. | |
| 8 | 41158-ZV4-000 | Регулировочная шайба B шестерни (0.15 мм) (Shim b, gear (0.15mm)) | под заказ | 350 руб. | |
| 9 | 41160-ZV4-000 | Вал гребного винта, комплект (Shaft comp., propeller) | под заказ | 44120 руб. | |
| 10 | 41161-ZV4-300 | Вал гребного винта (Shaft, propeller) | под заказ | 27490 руб. | |
| 11 | 41200-ZV4-040ZB | Обойма гребного винта, в сборе *nh282mu * (Holder assy., propeller shaft *nh282mu *) | под заказ | 23350 руб. | |
| 12 | 58130-ZV4-703ZB | Гребной винт, трёхлопастной (9-1 / 2x8-5 / 8) *nh283 * (Propeller comp., three blades (9-1/2x8-5/8) *nh283 *) | под заказ | 21250 руб. | |
| 13 | 90124-ZV4-000 | Болт под шестигранник., 6x20 (Bolt, hex., 6x20) | 2 шт | 400 руб. | |
| 14 | 90301-ZV4-000 | Гайка - башня, 10 мм (Nut, castle, 10mm) | 3 шт | 1270 руб. | |
| 15 | 90501-ZV4-000 | Упорная шайба гребного винта (Washer, propeller thrust) | под заказ | 2880 руб. | |
| 16 | 90503-921-020 | Шайба, 17 мм (Washer, 17mm) | под заказ | 590 руб. | |
| 17 | 90506-ZV4-000 | Плоская шайба, 6 мм (Washer, plain, 6mm) | 4 шт | 380 руб. | |
| 18 | 90513-921-000 | Шайба, 10 мм (Washer, 10mm) | 3 шт | 370 руб. | |
| 19 | 90758-ZV4-000 | Стопорный шплинт, 3 мм (Pin, split, 3mm) | под заказ | 140 руб. | |
| 20 | 91053-ZV4-003 | Подшипник, игольчатый, 17x23x12 (Bearing, needle, 17x23x12) | под заказ | 2320 руб. | |
| 21 | 91251-935-004 | Сальник, 17 мм (nok) (Seal, water, 17mm (nok)) | под заказ | 1470 руб. | |
| 22 | 91351-ZV4-003 | Уплотнительное кольцо, 58x3 (arai) (O-ring, 58x3 (arai)) | 1 шт | 520 руб. | |
| 23 | 96100-6005000 | Подшипник, радиальный шариковый, 6005 (Bearing, radial ball, 6005) | под заказ | 1820 руб. | |
| 23 | 6005NTN | (подбор по маркировке) Подшипник NTN 6005(25*47*12 мм) | 5 шт | 250 руб. | |
| 24 | 96100-6205000 | Подшипник, радиальный шариковый, 6205 (Bearing, radial ball, 6205) | 5 шт | 1570 руб. | |
| 24 | 6205NNTN | (подбор по маркировке) Подшипник NTN 6205N(25*52*15 мм) | под заказ | 0 | |
Время выполнения запроса 1.7082550525665 сек.
склад запчастей для водомоторной техники