Контактный телефон: +7 (981) 121-46-93, +7 (800) 200-90-76 , Email: parts-katalog@yandex.ru, где купить |
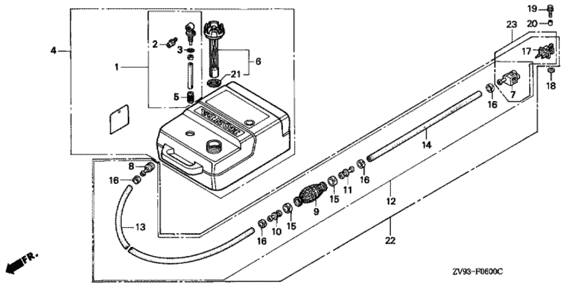
Модификация Вашего двигателя: Honda BF20AX SHD Вернуться к выбору узлов мотора Топливный бак |
||||||||||||||||||||||||||||||||||||||||||||||||||||||||||||||||||||||||||||||||||||||||||||||||||||||||||||||||||||||||||||||||||||||||||||||||||||||||||||||||||||||||||||||||||||||||||||||||||||||||||||||||||||||||||||||||||||||||||||||||||||||||||||||||||||||||
| Номер на рисунке | Артикул | Наименование | Кол-во на складе | Цена | |
| 1 | 16900-ZV5-901 | Соеденитель топливного бака, в сборе (Joint assy., fuel) | под заказ | 11420 руб. | |
| 1 | 16900-ZV5-902 | (последний код) JOINT ASSY., FUEL | под заказ | 11420 руб. | |
| 2 | 16977-ZV5-A00 | Фитинг для быстрого отключения (Fitting, quick disconnect) | 2 шт | 5520 руб. | |
| 3 | 16979-ZV5-900 | Уплотнительное кольцо (O-ring) | под заказ | 370 руб. | |
| 3 | 16979-ZV5-901 | (последний код) O-RING | под заказ | 380 руб. | |
| 4 | 17500-ZV5-901 | Топливный бак, в сборе (Tank assy., fuel) | под заказ | 21050 руб. | |
| 4 | 17500-ZV5-906 | (последний код) TANK ASSY., FUEL | под заказ | 33860 руб. | |
| 5 | 17583-ZV5-900 | Топливный фильтр (Filter, fuel) | под заказ | 1820 руб. | |
| 5 | 17583-ZV5-901 | (последний код) FILTER, FUEL | 1 шт | 1570 руб. | |
| 6 | 17620-ZV5-900 | Крышка топливного фильтра (Cap comp., fuel filler) | под заказ | 8470 руб. | |
| 6 | 17620-ZV5-903 | (последний код) CAP COMP., FUEL FILLER | под заказ | 10560 руб. | |
| 7 | 17650-ZV4-005 | Топливный коннектор, в сборе (a) (Connector assy., fuel (a)) | под заказ | 6730 руб. | |
| 7 | 04104-ZW9-010 | (последний код) CONNECTOR ASSY AS | под заказ | 8420 руб. | |
| 7 | 17650-ZW9-013 | Топливный коннектор, в сборе (a) (Connector assy., fuel (a)) | под заказ | 5330 руб. | |
| 7 | 17650-ZW9-023 | (последний код) CONNECTOR ASSY., FUEL (A) | 4 шт | 5330 руб. | |
| 7 | RTT-17650-ZW9-013 | (не оригинальный аналог) Топливный коннектор RTT-17650-ZW9-013 | под заказ | 950 руб. | |
| 8 | 17660-ZV5-A00 | Коннектор топливного бака (Connector comp., fuel) | под заказ | 8280 руб. | |
| 8 | 17660-ZW9-003 | (последний код) CONNECTOR COMP., FUEL | под заказ | 6730 руб. | |
| 9 | 17661-921-000 | Груша для подкачки топлива (Bulb, primer) | под заказ | 2990 руб. | |
| 9 | 17661-921-010 | (последний код) BULB, PRIMER | под заказ | 2990 руб. | |
| 10 | 17665-ZV5-000 | Внутренний клапан (Valve comp., in.) | под заказ | 3190 руб. | |
| 11 | 17680-ZV4-000 | Наружный клапан (Valve comp., outlet) | под заказ | 2800 руб. | |
| 12 | 17700-ZV5-010 | Трубка для подключения топливного бака, в сборе (Tube assy., fuel) | под заказ | 17970 руб. | |
| 12 | 04101-ZW9-010 | (последний код) CONNECTOR SET,FUE | под заказ | 14780 руб. | |
| 12 | 17700-ZW9-010 | Трубка для подключения топливного бака, в сборе (Tube assy., fuel) | под заказ | 12210 руб. | |
| 12 | 17700-ZW9-030 | (последний код) TUBE ASSY., FUEL | под заказ | 14840 руб. | |
| 13 | 17701-ZV5-000 | Длинная топливная трубка (7.3x2000) (Tube, fuel long (7.3x2000)) | под заказ | 4740 руб. | |
| 14 | 17702-ZV4-000 | Короткая топливная трубка (6.3x500) (Tube, fuel short (6.3x500)) | под заказ | 870 руб. | |
| 15 | 17703-921-000 | Зажимной ремешек трубки, 20 мм (Band, tube clip, 20mm) | под заказ | 580 руб. | |
| 15 | 17703-921-010 | (последний код) BAND, TUBE CLIP, 20MM | под заказ | 580 руб. | |
| 16 | 17704-ZV4-000 | Зажимной ремешек трубки, 12.5 мм (Band, tube clip, 12.5mm) | 5 шт | 320 руб. | |
| 16 | 17704-ZV4-010 | (последний код) BAND, TUBE CLIP, 12.5MM | под заказ | 320 руб. | |
| 17 | 17710-ZV4-005 | Топливный коннектор, в сборе (b) (Connector assy., fuel (b)) | под заказ | 6730 руб. | |
| 17 | 17710-ZW9-023 | Топливный коннектор, в сборе (b) (Connector assy., fuel (b)) | под заказ | 8320 руб. | |
| 17 | 17710-ZW9-033 | (последний код) CONNECTOR ASSY., FUEL (B) | под заказ | 6760 руб. | |
| 18 | 17936-921-000 | Опорная шайба (Washer, pivot) | 3 шт | 260 руб. | |
| 19 | 90013-ZV4-010 | Фланцевый болт, 6x20 (Bolt, flange, 6x20) | под заказ | 0 руб. | |
| 20 | 91551-ZV4-000 | Промежуточный воротник (6 мм) (Collar, distance (6mm)) | под заказ | 440 руб. | |
| 21 | 17624-ZV5-900 | Прокладка крышки бака (Packing, fuel cap) | под заказ | по запросу | |
| 22 | 04101-ZW9-000 | Коннектор set, Топливные трубки (Connector set, fuel tube) | под заказ | 14780 руб. | |
| 23 | 04104-ZW9-000 | Коннектор set, fuel (Connector set, fuel) | под заказ | 6730 руб. | |
Время выполнения запроса 0.76761388778687 сек.
склад запчастей для водомоторной техники