вконтакте

Контактный телефон: +7 (981) 121-46-93, +7 (800) 200-90-76 , Email: parts-katalog@yandex.ru, где купить

 
 

  Логин:

Пароль:

Регистрация

www.partskatalog.ru Все каталоги Запчасти Mercury Запчасти Suzuki Запчасти Tohatsu Запчасти Honda Контакты

назад Раздел:   вперёд

Модификация Вашего двигателя:   Honda BF20D3 SHD
Модели с серийным номером двигателя от BEAMJ-1000001 до BEAMJ-
Модели с серийным номером рамы от BAMJ-1000001 до BAMJ-

Вернуться к выбору узлов мотора

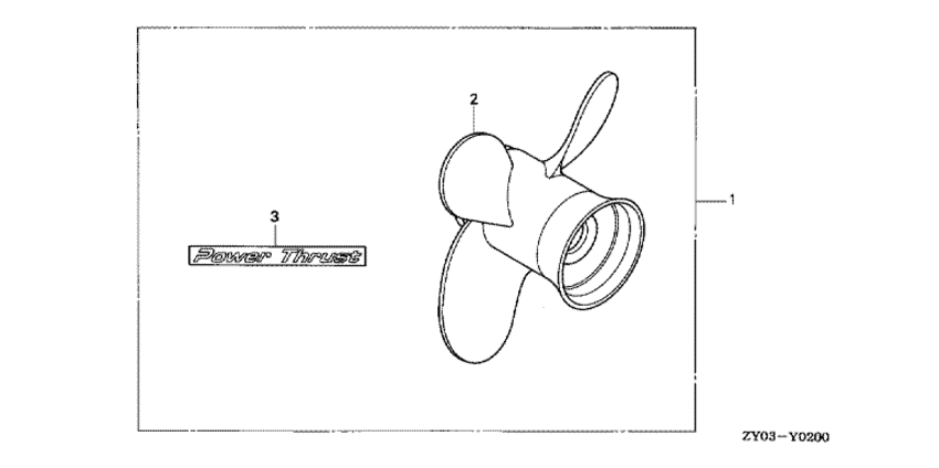
   Гребной винт
Propeller Kit      


ДЕТАЛИРОВКА ДЛЯ МОДЕЛИ: HONDA BF20D3

Подвесной 4x-тактный лодочный двигатель HONDA BF20D3 - Гребной винт
Номер на
рисунке
АртикулНаименованиеКол-во
на складе
Цена
106581-ZY0-S00ZA

Гребной винт, большое тяговое усилие *nh282mu * (Propeller kit, power thrust *nh282mu *)

под заказ36110 руб. 
106581-ZY0-S00ZB

(последний код) PROPELLER KIT, POWER THRU

2 шт36110 руб. 
258130-ZY0-B91ZA

Гребной винт, четырёхлопастной (10x7-5 / 8) *nh283 * (Propeller comp., four blades (10x7-5/8) *nh283 *)

под заказ28460 руб. 
258130-ZY0-B92ZA

(последний код) PROPELLER COMP., FOUR BLA

2 шт35470 руб. 
387133-ZW9-S00

Маркировка, большое тяговое усилие (Mark, power thrust)

под заказ1190 руб. 

Время выполнения запроса 0.55984115600586 сек.

 
 

данный сайт носит информационный характер и не является публичной офертой

склад запчастей для водомоторной техники