вконтакте

Контактный телефон: +7 (981) 121-46-93, +7 (800) 200-90-76 , Email: parts-katalog@yandex.ru, где купить

 
 

  Логин:

Пароль:

Регистрация

www.partskatalog.ru Все каталоги Запчасти Mercury Запчасти Suzuki Запчасти Tohatsu Запчасти Honda Контакты

назад Раздел:   вперёд

Модификация Вашего двигателя:   Honda BF25D4 SHGW
Модели с серийным номером двигателя от BEATJ-1000001 до BEATJ-
Модели с серийным номером рамы от BATJ-1000001 до BATJ-

Вернуться к выбору узлов мотора

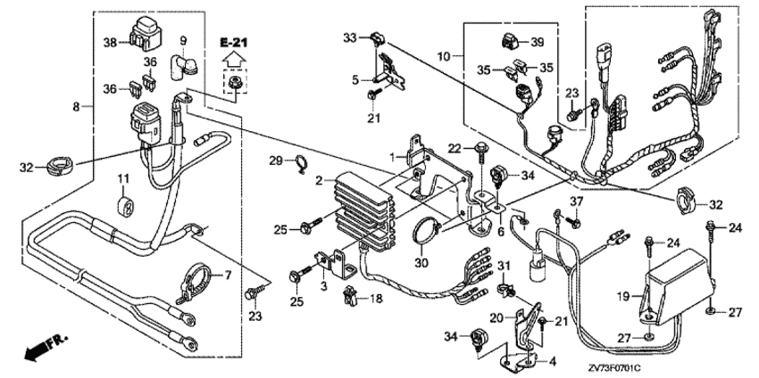
   Регулятор (2)
Regulator (2)      


ДЕТАЛИРОВКА ДЛЯ МОДЕЛИ: HONDA BF25D4

Лодочный четырёх тактный мотор BF25D4 - Регулятор (2) - Regulator (2)
Номер на
рисунке
АртикулНаименованиеКол-во
на складе
Цена
131604-ZV7-781

Кронштейн регулятора (Bracket, regulator)

под заказ3880 руб. 
131604-ZV7-782

(последний код) Bracket, regulator

под заказ0 руб. 
231750-ZW2-F92

Выпрямитель-регулятор, в сборе (12a) (Rectifier assy., regulator (12a))

под заказ32760 руб. 
231750-ZW2-F93

Выпрямитель-регулятор, в сборе (12a) (Rectifier assy., regulator (12a))

под заказ31620 руб. 
332108-ZV7-010

Кронштейн коннектора (Bracket, connector)

под заказ1530 руб. 
532112-ZW2-F00

Кронштейн корпуса предохранителя (Bracket, fuse case)

под заказ6380 руб. 
532112-ZW2-F01

(последний код) Bracket, fuse case

под заказ0 руб. 
732121-HA0-003

Ремешок шнура (Band, cord)

под заказ840 руб. 
832410-ZW2-F00

Кабель стартера, в сборе (Cable assy., starter)

под заказ38070 руб. 
932411-ZV7-751

Колпачок свечи зажигания (Cover, terminal)

под заказ1340 руб. 
1032520-ZW2-F01

Кабель для дистанционного управления (a) (Cable assy., remote control (a))

под заказпо запросу 
1032520-ZW2-F02

Кабель для дистанционного управления (a) (Cable assy., remote control (a))

под заказ20470 руб. 
1132903-701-000

Фиксатор высоковольтного провода (Clamper, high tension cord)

под заказ140 руб. 
1837304-PE1-661

Зажим b (Clip b)

под заказ630 руб. 
2190011-ZW9-000

Фланцевый болт, 6x14 (ct200) (Bolt, flange, 6x14 (ct200))

под заказ370 руб. 
2290013-ZV0-010

Фланцевый болт, 6x12 (Bolt, flange, 6x12)

под заказ350 руб. 
2390013-ZW4-000

Фланцевый болт, 6x12 (ct200) (Bolt, flange, 6x12 (ct200))

под заказ490 руб. 
2590018-ZW5-000

Фланцевый болт, 6x20 (Bolt, flange, 6x20)

под заказ290 руб. 
3090672-SA0-003

Хомут (Strap)

под заказ870 руб. 
3290683-KJ2-003

Зажим под жгут проводов (Clip, wire harness)

под заказ610 руб. 
3390688-ZV4-003

Зажим провода (Clip, cord)

под заказ300 руб. 
3598200-31000

Предохранитель (Fuse)

под заказ70 руб. 
3698200-31500

Предохранитель (Fuse)

под заказ70 руб. 
3838216-ZV5-003

Крышка предохранителя (15a) (Cover assy., fuse (15a))

под заказ960 руб. 
3938218-ZW5-004

Крышка предохранителя (10a) (Cover assy., fuse (10a))

под заказ1560 руб. 

Время выполнения запроса 2.4159350395203 сек.

 
 

данный сайт носит информационный характер и не является публичной офертой

склад запчастей для водомоторной техники