вконтакте

Контактный телефон: +7 (981) 121-46-93, +7 (800) 200-90-76 , Email: parts-katalog@yandex.ru, где купить

 
 

  Логин:

Пароль:

Регистрация

www.partskatalog.ru Все каталоги Запчасти Mercury Запчасти Suzuki Запчасти Tohatsu Запчасти Honda Контакты

назад Раздел:   вперёд

Модификация Вашего двигателя:   Honda BF25A2 LRSD
Модели с серийным номером двигателя от BAJE-1000001 до BAJE-1999999
Модели с серийным номером рамы от BAJL-3100001 до BAJL-3299999

Вернуться к выбору узлов мотора

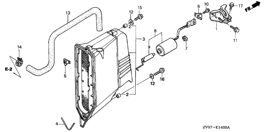
   Корпус глушителя
Silencer Cover      


ДЕТАЛИРОВКА ДЛЯ МОДЕЛИ: HONDA BF25A2

Подвесной лодочный  двигатель BF25A2 - Корпус глушителя / Silencer Cover
Номер на
рисунке
АртикулНаименованиеКол-во
на складе
Цена
116675-ZV7-780

Стопор соленоида (Stay comp., solenoid)

под заказпо запросу 
116675-ZV7-781

Стопор соленоида (Stay comp., solenoid)

под заказпо запросу 
217202-ZV4-300

Промежуточный воротник (Collar, distance)

под заказ610 руб. 
317390-ZV5-010

Кожух глушителя (Cover comp., silencer)

под заказ30640 руб. 
417394-ZV5-000

Прокладка крышки глушителя (Packing, silencer cover)

под заказ550 руб. 
517398-ZV5-000

Гайка корпуса глушителя (Nut, silencer cover)

под заказ1410 руб. 
517398-ZV5-010

Гайка корпуса глушителя (Nut, silencer cover)

под заказ1500 руб. 
517398-ZV5-020

(последний код) Nut, silencer cover

под заказ2110 руб. 
632109-ZV7-781

Кронштейн муфты (Bracket, coupler)

под заказпо запросу 
736103-ZE1-000

Держатель провода выключателя двигателя (Holder, stop switch cord)

под заказ350 руб. 
836310-ZV7-781

Соленоид дистанционного управления заслонкой (Solenoid assy., remote choke)

под заказпо запросу 
936311-ZV7-781

Плунжер соленоида (Plunger comp., solenoid)

под заказпо запросу 
1090013-ZV0-010

Фланцевый болт, 6x12 (Bolt, flange, 6x12)

под заказ350 руб. 
1090013-ZW4-000

Фланцевый болт, 6x12 (ct200) (Bolt, flange, 6x12 (ct200))

под заказ490 руб. 
1190013-ZV1-000

Фланцевый болт, 6x14 (Bolt, flange, 6x14)

под заказ520 руб. 
1190011-ZW9-000

Фланцевый болт, 6x14 (ct200) (Bolt, flange, 6x14 (ct200))

под заказ370 руб. 
1290545-323-700

Шайба, 6.5x18 (Washer, 6.5x18)

под заказ600 руб. 
1391401-ZV7-000

Трубка сапуна (Tube, breather)

под заказпо запросу 
1490601-ZV3-010

Струбцина трубки (d17) (Clamp, tube (d17))

под заказпо запросу 
1595701-0602502

Фланцевый болт, 6x25 (Bolt, flange, 6x25)

под заказ150 руб. 
1590019-ZW5-000

Фланцевый болт, 6x25 (Bolt, flange, 6x25)

под заказпо запросу 
1695701-060-400-2

Фланцевый болт, 6x40 (Bolt, flange, 6x40)

под заказ150 руб. 
1690145-ZW4-000

Фланцевый болт, 6x40 (Bolt, flange, 6x40)

под заказ290 руб. 
1796001-0601202

Фланцевый болт, 6x12 (Bolt, flange, 6x12)

под заказ150 руб. 
1790050-ZY3-000

Фланцевый болт, 6x12 (Bolt, flange, 6x12)

под заказ0 руб. 

Время выполнения запроса 0.72283697128296 сек.

 
 

данный сайт носит информационный характер и не является публичной офертой

склад запчастей для водомоторной техники