вконтакте

Контактный телефон: +7 (981) 121-46-93, +7 (800) 200-90-76 , Email: parts-katalog@yandex.ru, где купить

 
 

  Логин:

Пароль:

Регистрация

www.partskatalog.ru Все каталоги Запчасти Mercury Запчасти Suzuki Запчасти Tohatsu Запчасти Honda Контакты

назад Раздел:   вперёд

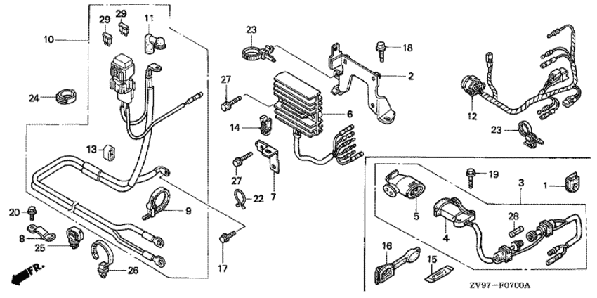
Модификация Вашего двигателя:   Honda BF30A2 LHC
Модели с серийным номером двигателя от BAWE-2000001 до BAWE-9999999
Модели с серийным номером рамы от BAWS-3220001 до BAWS-3299999

Вернуться к выбору узлов мотора

   Регулятор
Regulator      


ДЕТАЛИРОВКА ДЛЯ МОДЕЛИ: HONDA BF30A2

Подвесной fourstroke лодочный двигатель HONDA BF30A2 - Регулятор - Regulator
Номер на
рисунке
АртикулНаименованиеКол-во
на складе
Цена
130564-ZA5-000

Пыльник, cord (Grommet, cord)

под заказ610 руб. 
231604-ZV7-000

Кронштейн регулятора (Bracket, regulator)

под заказпо запросу 
331650-ZV7-003

Зарядная розетка, в сборе (Receptacle assy., charge)

под заказ9660 руб. 
331650-ZV7-013

(последний код) RECEPTACLE ASSY., CHARGE

под заказ9660 руб. 
431651-ZV7-003

Согласующее устройство (Consent)

под заказ5770 руб. 
531652-881-014

Заглушка согласующего устройства (Plug, consent)

под заказ3290 руб. 
531652-881-024

(последний код) PLUG, CONSENT

3 шт3140 руб. 
631750-ZV7-003

Выпрямитель-регулятор, в сборе (Rectifier assy., regulator)

под заказ32760 руб. 
1538207-ZV4-000

Запасной предохранитель (15a) (Fuse, spare (15a))

под заказ450 руб. 
1640107-ZV7-000

Пыльник под корпусом (c) (Grommet, under case (c))

под заказпо запросу 
1890013-ZV0-010

Фланцевый болт, 6x12 (Bolt, flange, 6x12)

под заказ350 руб. 
1990014-ZV1-000

Фланцевый болт, 5x22 (Bolt, flange, 5x22)

под заказпо запросу 
1990014-ZV1-010

Фланцевый болт, 5x22 (Bolt, flange, 5x22)

под заказ230 руб. 
2390672-SA0-003

Хомут (Strap)

под заказ870 руб. 
2790018-ZW5-000

Фланцевый болт, 6x20 (Bolt, flange, 6x20)

под заказ290 руб. 
2898200-11500

Предохранитель (15a) (Fuse (15a))

под заказ120 руб. 

Время выполнения запроса 0.81620097160339 сек.

 
 

данный сайт носит информационный характер и не является публичной офертой

склад запчастей для водомоторной техники