Контактный телефон: +7 (981) 121-46-93, +7 (800) 200-90-76 , Email: parts-katalog@yandex.ru, где купить |
Модификация Вашего двигателя: Honda BF40D EFI; LHTD Вернуться к выбору узлов мотора Поворотный корпус |
|||||||||||||||||||||||||||||||||||||||||||||||||||||||||||||||||||||||||||||||||||||||||||||||||||||||||||||||||||||||||||||||||||||||||||||||||||||||||||||||||||||||||||||||||||||||||||||||||||||||||||||||||||
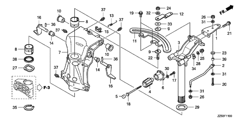
| Номер на рисунке | Артикул | Наименование | Кол-во на складе | Цена | |
| 3 | 50100-ZW4-H01 | Монтажная рама (Frame comp., mounting) | под заказ | 62450 руб. | |
| 4 | 50151-ZV5-000 | Резинка, смонтированная сверху (Rubber comp., upper mounting) | под заказ | 12230 руб. | |
| 5 | 50153-ZV5-000 | Резинка, смонтированная сверху (b) (Rubber, upper mounting (b)) | под заказ | 730 руб. | |
| 6 | 50167-ZZ5-000 | Держатель, смонтированный сверху (Holder, upper mounting) | под заказ | 5250 руб. | |
| 7 | 50201-ZZ5-000ZA | Поворотный корпус *nh282mu* (Case, swivel *nh282mu*) | под заказ | 52690 руб. | |
| 8 | 50211-ZZ5-000 | Гильза поворотного корпуса (Liner, swivel case) | 6 шт | 1530 руб. | |
| 9 | 50212-ZW9-003 | Фрикционный блок (Block comp., friction) | 1 шт | 2070 руб. | |
| 10 | 50214-ZV5-003 | Втулка поворотного корпуса (Bush, swivel case) | 3 шт | 1210 руб. | |
| 11 | 50218-ZW4-H00 | Пластина трения (Plate, friction) | под заказ | 8680 руб. | |
| 12 | 50219-ZW4-H00 | Фрикционный рычаг (Lever, friction) | под заказ | 1810 руб. | |
| 13 | 50515-ZV5-000 | Пружина рычага наклона (Spring, tilt lever) | под заказ | 800 руб. | |
| 14 | 50522-ZV5-000 | Втулка рукоятки наклона (Bush, tilt arm) | под заказ | 840 руб. | |
| 15 | 50527-ZV5-000 | Кронштейн наклона (Bracket, tilting) | под заказ | 1280 руб. | |
| 16 | 50529-ZW4-H00 | Ограничитель наклона (Stopper, tilt) | под заказ | 13930 руб. | |
| 17 | 90101-ZV1-000 | Болт под шестигранник., 6x18 (Bolt, hex., 6x18) | 6 шт | 420 руб. | |
| 18 | 90101-ZV5-003 | Специальный болт, 10x130 (Bolt, special, 10x130) | под заказ | 6670 руб. | |
| 19 | 90102-ZW9-000 | Фланцевый болт, 6x12 (Bolt, flange, 6x12) | 5 шт | 460 руб. | |
| 22 | 90162-ZW9-000 | Болт под шпильку, 8x26 (Bolt, stud, 8x26) | под заказ | 1010 руб. | |
| 24 | 90305-ZW9-000 | Гайка с замком, 8 мм (Nut, self-lock, 8mm) | под заказ | 920 руб. | |
| 25 | 90306-ZW4-003 | Гайка с фланцем, 10 мм (Nut, flange, 10mm) | под заказ | 1580 руб. | |
| 27 | 90501-ZV5-000 | Волнистая шайба, 40 мм (Washer, wave, 40mm) | 2 шт | 1560 руб. | |
| 28 | 90501-ZW4-000 | Плоская шайба, 10 мм (Washer, plain, 10mm) | под заказ | 510 руб. | |
| 29 | 90504-ZV5-000 | Упорная шайба, 34 мм (Washer, thrust, 34mm) | 1 шт | 1560 руб. | |
| 30 | 90506-ZV4-000 | Плоская шайба, 6 мм (Washer, plain, 6mm) | 4 шт | 380 руб. | |
| 32 | 90514-921-000 | Шайба, 8 мм (Washer, 8mm) | 2 шт | 320 руб. | |
| 33 | 90517-ZW9-000 | Нейлоновая шайба, 8 мм (Washer, nylon, 8mm) | под заказ | 280 руб. | |
| 34 | 90544-ZV5-010 | Специальная шайба (Washer, special) | под заказ | 0 руб. | |
| 35 | 90651-ZW4-000 | Внешнее стопорное кольцо, 39 мм (Circlip, external, 39mm) | под заказ | 920 руб. | |
| 36 | 90752-ZW6-000 | Стопор пружины, 2.5x20 (Pin, spring, 2.5x20) | под заказ | 220 руб. | |
| 37 | 90951-ZV7-010 | Ниппель смазки (Nipple, grease) | 5 шт | 460 руб. | |
| 38 | 91256-ZV5-003 | Сальник, 39.5x52x6 (arai) (Oil seal, 39.5x52x6 (arai)) | 4 шт | 950 руб. | |
| 3 | 50100-ZW4-H02 | Монтажная рама (Frame comp., mounting) | под заказ | 53410 руб. | |
Время выполнения запроса 0.74924302101135 сек.
склад запчастей для водомоторной техники