Контактный телефон: +7 (981) 121-46-93, +7 (800) 200-90-76 , Email: parts-katalog@yandex.ru, где купить |
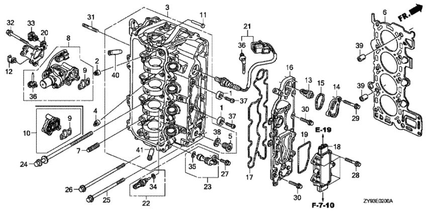
Модификация Вашего двигателя: Honda BF75DK0 EFI; LHGD Вернуться к выбору узлов мотора Головка блока цилиндра |
|||||||||||||||||||||||||||||||||||||||||||||||||||||||||||||||||||||||||||||||||||||||||||||||||||||||||||||||||||||||||||||||||||||||||||||||||||||||||||||||||||||||||||||||||||||||||||||||||||||||||||||||||||||||||||||||||||||||||||||||||||||||||||||||||||||||||||||||
| Номер на рисунке | Артикул | Наименование | Кол-во на складе | Цена | |
| 1 | 12155-ZV5-000 | Металлический анод (Metal, anode) | 1 шт | 1370 руб. | |
| 2 | 12210-PZ1-004 | Сальник a (Seal a) | под заказ | 1120 руб. | |
| 3 | 12210-ZY9-000ZA | Головка цилиндра, комплект *nh8 * (Head comp., cylinder *nh8 *) | под заказ | 324030 руб. | |
| 4 | 12211-PZ1-004 | Сальник b (Seal b) | 14 шт | 790 руб. | |
| 5 | 12217-ZW1-010 | Болт уплотнения, 20 мм (Bolt, sealing, 20mm) | под заказ | 590 руб. | |
| 6 | 12251-ZY9-013 | Прокладка головки цилиндра (Gasket comp., cylinder head) | 6 шт | 30090 руб. | |
| 9 | 15815-RAA-A02 | Фильтр в сборе (Filter assy) | под заказ | 1380 руб. | |
| 10 | 15815-ZY9-000 | Крышка масляного контура (Cover assy., oil path) | под заказ | 0 руб. | |
| 11 | 16717-ZY9-000 | Лифтер топливного насоса (Lifter, fuel pump) | под заказ | 2140 руб. | |
| 12 | 16896-ZY9-003 | Струбцина B (Clamp b) | под заказ | 580 руб. | |
| 13 | 19300-ZY6-003 | Термостат в сборе. (Thermostat assy.) | 1 шт | 7840 руб. | |
| 14 | 19315-ZW9-000 | Крышка термостата (Cover, thermostat) | 1 шт | 2550 руб. | |
| 15 | 19317-ZW9-000 | Уплотнительное кольцо крышки термостата (O-ring, thermostat cover) | 3 шт | 940 руб. | |
| 16 | 19361-ZY9-000ZA | Крышка водяной рубашки *nh8 * (Cover, water jacket *nh8 *) | под заказ | по запросу | |
| 17 | 19371-ZY9-000 | Прокладка наружной крышки водяной рубашки (Packing, ex. water jacket cover) | 1 шт | 2710 руб. | |
| 18 | 31750-ZY9-003 | Выпрямитель-регулятор, в сборе (Rectifier assy., regulator) | под заказ | 33600 руб. | |
| 19 | 31754-ZY9-000 | Прокладка регулятора (Packing, regulator) | под заказ | 1190 руб. | |
| 20 | 32114-ZY9-000 | Кронштейн D зажима проводов (Bracket d, harness clip) | под заказ | 1650 руб. | |
| 20 | 32114-ZY9-010 | (последний код) BRACKET D, HARNESS CLIP | под заказ | 2320 руб. | |
| 21 | 35655-ZY9-003 | Кислородный датчик (Sensor, oxygen) | под заказ | 71720 руб. | |
| 22 | 35673-ZY3-003 | Датчик температуры воды, в сборе (Sensor assy., water temperature) | под заказ | 3700 руб. | |
| 23 | 35695-ZY9-003 | Датчик в сборе., tdc (Sensor assy., tdc) | под заказ | 20360 руб. | |
| 24 | 90008-PWA-003 | Болт с шайбой (Bolt-washer) | под заказ | 1240 руб. | |
| 25 | 90011-ZY9-000 | Фланцевый болт, 8x95 (Bolt, flange, 8x95) | под заказ | 1220 руб. | |
| 26 | 90016-ZY9-000 | Фланцевый болт, 8x110 (Bolt, flange, 8x110) | под заказ | 1520 руб. | |
| 26 | 90016-ZY9-M00 | (последний код) BOLT, FLANGE, 8X110 | под заказ | 800 руб. | |
| 27 | 90017-ZY3-000 | Фланцевый болт, 6x16 (Bolt, flange, 6x16) | под заказ | 220 руб. | |
| 28 | 90018-ZW5-000 | Фланцевый болт, 6x20 (Bolt, flange, 6x20) | под заказ | 290 руб. | |
| 29 | 90019-ZW9-000 | Фланцевый болт, 6x35 (Bolt, flange, 6x35) | под заказ | 530 руб. | |
| 30 | 90030-ZY3-000 | Фланцевый болт, 6x22 (Bolt, flange, 6x22) | под заказ | 220 руб. | |
| 31 | 90047-ZY6-000 | Болт под шпильку, 8x32 (Bolt, stud, 8x32) | под заказ | 420 руб. | |
| 32 | 90147-ZW4-000 | Фланцевый болт, 6x55 (Bolt, flange, 6x55) | под заказ | 250 руб. | |
| 33 | 90691-ZB7-003 | Зажим под жгут проводов (Clip, harness) | под заказ | 340 руб. | |
| 34 | 91307-PNA-003 | Уплотнительное кольцо (O-ring) | под заказ | 260 руб. | |
| 35 | 91333-PNA-003 | Уплотнительное кольцо (O-ring) | под заказ | 300 руб. | |
| 36 | 91541-S0A-003 | Зажим (Clip) | под заказ | 380 руб. | |
| 37 | 93500-060184J | Винт с чашечкой, 6x18 (Screw, pan, 6x18) | под заказ | 240 руб. | |
| 38 | 94109-20000 | Шайба (Washer) | под заказ | 160 руб. | |
| 39 | 94301-14200 | Шпонка (Dowel pin) | под заказ | 220 руб. | |
| 40 | 12204-PJ7-305 | Направляющая (Guide) | под заказ | 2090 руб. | |
| 41 | 12205-PJ7-305 | Направляющая (Guide) | под заказ | 2470 руб. | |
| 16 | 19361-ZY9-010 | Крышка водяной рубашки (Cover, water jacket) | под заказ | 28350 руб. | |
Время выполнения запроса 0.71157217025757 сек.
склад запчастей для водомоторной техники