вконтакте

Контактный телефон: +7 (981) 121-46-93, +7 (800) 200-90-76 , Email: parts-katalog@yandex.ru, где купить

 
 

  Логин:

Пароль:

Регистрация

www.partskatalog.ru Все каталоги Запчасти Mercury Запчасти Suzuki Запчасти Tohatsu Запчасти Honda Контакты

назад Раздел:   вперёд

Модификация Вашего двигателя:   Honda B75K2 LA
Модели с серийным номером двигателя от B75-3000001 до B75-3015360
Модели с серийным номером рамы от B75-3000001 до B75-3015360

Вернуться к выбору узлов мотора

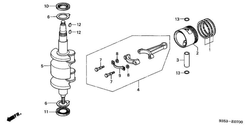
   Коленвал / Поршень
Crankshaft / Piston      


ДЕТАЛИРОВКА ДЛЯ МОДЕЛИ: HONDA B75K2

Лодочный  мотор HONDA B75K2 - Crankshaft / Piston - Коленвал / Поршень
Номер на
рисунке
АртикулНаименованиеКол-во
на складе
Цена
113010-028-025

Комплект поршневых колец (std.) (teikoku) (Ring set, piston (std.) (teikoku))

под заказ3440 руб. 
113011-121-762

Комплект поршневых колец (Ring set, piston)

под заказпо запросу 
213101-921-020

Поршень (std.) (Piston (std.))

под заказ3590 руб. 
313111-921-000

Поршневой палец (Pin, piston)

под заказпо запросу 
413200-921-305

Шатун в сборе (Rod set, connecting)

под заказпо запросу 
513310-935-000

Коленвал (Crankshaft)

под заказ44380 руб. 
613316-921-013

Подшипник коленвала thrust (Bearing, crankshaft thrust)

под заказпо запросу 
790011-921-010

Болт шатуна (Bolt, connecting rod)

под заказпо запросу 
890402-921-000

Шайба, 6 мм (Washer, 6mm)

под заказ210 руб. 
990452-921-020

Шайба с блокировкой (Washer, lock)

под заказпо запросу 
1091201-921-005

Сальник a, 25x38x7 (Oil seal a, 25x38x7)

под заказпо запросу 
1191202-921-005

Сальник b, 25x38x7 (Oil seal b, 25x38x7)

под заказпо запросу 
1294401-16150

Ключ, woodruff, 16x15 (Key, woodruff, 16x15)

2 шт210 руб. 
13 9460113000

Зажим поршневого пальца, 13 мм (Clip, piston pin, 13mm)

под заказ40 руб. 

Время выполнения запроса 0.34596586227417 сек.

 
 

данный сайт носит информационный характер и не является публичной офертой

склад запчастей для водомоторной техники