Контактный телефон: +7 (981) 121-46-93, +7 (800) 200-90-76 , Email: parts-katalog@yandex.ru, где купить |
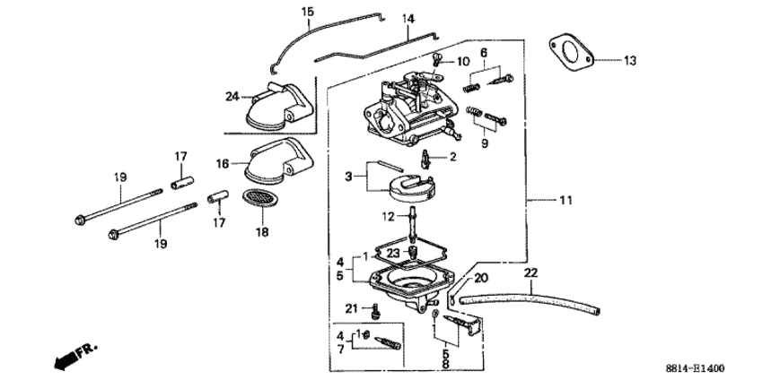
Модификация Вашего двигателя: Honda BF75F LD Вернуться к выбору узлов мотора Карбюратор / Воздуховод |
|||||||||||||||||||||||||||||||||||||||||||||||||||||||||||||||||||||||||||||||||||||||||||||||||||||||||||||||||||||||||||||||||||||||||||||||||||||||||||||||||||||||||||||||||||||||||||||||||
| Номер на рисунке | Артикул | Наименование | Кол-во на складе | Цена | |
| 1 | 16010-881-003 | Прокладка set (Packing set) | под заказ | 950 руб. | |
| 2 | 16011-143-620 | Клапан поплавка, набор (Valve set, float) | под заказ | 1610 руб. | |
| 2 | 16011-147-305 | Клапан,set Поплавок (Valve,set float) | под заказ | 1620 руб. | |
| 2 | 16011-881-741 | (последний код) VALVE SET, FLOAT | под заказ | 7030 руб. | |
| 3 | 16013-881-003 | Поплавок, набор (Float set) | под заказ | 5010 руб. | |
| 3 | 16013-881-741 | Поплавок, набор (Float set) | под заказ | по запросу | |
| 5 | 16015-881-003 | Поплавковая камера, набор (Chamber set, float) | под заказ | по запросу | |
| 6 | 16016-881-003 | Набор винтов a (Screw set a) | под заказ | по запросу | |
| 8 | 16024-881-003 | Дренажный винт, комплект (Screw set, drain) | под заказ | по запросу | |
| 9 | 16028-881-003 | Набор винтов b (Screw set b) | под заказ | по запросу | |
| 10 | 16071-881-741 | Винт заглушки (Screw, plug) | под заказ | по запросу | |
| 11 | 16100-881-741 | Карбюратор в сборе. (bc01d a / b / c) (Carburetor assy. (bc01d a/b/c)) | под заказ | по запросу | |
| 12 | 16166-881-003 | Главная форсунка (Nozzle, main) | под заказ | по запросу | |
| 13 | 16201-881-000 | Прокладка карбюратора (Packing, carburetor) | под заказ | 170 руб. | |
| 14 | 16593-881-010 | Тяга дросселя (Rod, throttle) | под заказ | по запросу | |
| 15 | 16622-881-000 | Тяга дросселя (Rod, choke) | под заказ | по запросу | |
| 16 | 17201-881-020 | Направляющая воздуховода (Guide, air) | под заказ | по запросу | |
| 17 | 17202-921-000 | Промежуточный воротник (Collar, distance) | под заказ | по запросу | |
| 18 | 17203-881-000 | Пламегаситель (Trap, flame) | под заказ | по запросу | |
| 19 | 90012-882-000 | Фланцевый болт, 6x97 (Bolt, flange, 6x97) | под заказ | по запросу | |
| 20 | 90605-921-000 | Зажим B7 трубки (Clip b7, tube) | под заказ | по запросу | |
| 21 | 93892-040-120-8 | Винт с шайбой (Screw-washer) | под заказ | 90 руб. | |
| 22 | 95001-351-404-0 | Топливный шланг, 3.5x140 (95001-35001-60m) (Tube, fuel, 3.5x140 (95001-35001-60m)) | под заказ | по запросу | |
| 23 | 99101-124-0720 | Главная форсунка, #72 (Jet, main, #72) | под заказ | 1110 руб. | |
| 23 | 99101-124-0780 | Главная форсунка, #78 (Jet, main, #78) | под заказ | по запросу | |
| 23 | 99101-124-0800 | Главная форсунка, #80 (Jet, main, #80) | под заказ | 1110 руб. | |
| 23 | 99101-124-0820 | Главная форсунка, #82 (Jet, main, #82) | под заказ | по запросу | |
| 23 | 99101-124-0850 | Главная форсунка, #85 (Jet, main, #85) | под заказ | по запросу | |
| 23 | 99101-124-0880 | Главная форсунка, #88 (Jet, main, #88) | под заказ | по запросу | |
Время выполнения запроса 0.97320914268494 сек.
склад запчастей для водомоторной техники