| |
 |
|
 |
Вернуться к выбору узлов мотора
ДЕТАЛИРОВКА ДЛЯ МОДЕЛИ: SUZUKI DF2.5SK8(P1) K8
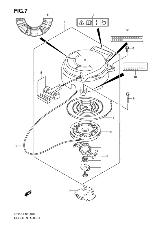
Барабанный стартер
Код модели двигателя: DF2.5S
Год выпуска двигателя: 2008
Регион: General Export No.1 ,Код региона: P01
Цвет: Shadow Black Metallic
Номер на рисунке | Артикул | Наименование | QTY | Кол-во на складе | Цена |
| 1 | 18100-97J00-000 | Барабанный стартер в сборе - Starter Assy, Recoil | | под заказ | 7830 руб. |
| 1 | 18100-97JM0-000 | (актуальный код замены) Барабанный стартер в сборе - Starter Assy, Recoil | | 1 шт | 7830 руб. |
| 1 | 18100-97J10-000 | Барабанный стартер в сборе - Starter Assy, Recoil (Model:10 # ) | | под заказ | 7830 руб. |
| 1 | 18100-97JM0-000 | (актуальный код замены) Барабанный стартер в сборе - Starter Assy, Recoil | | 1 шт | 7830 руб. |
| 1 | 18100-97JL0-000 | Барабанный стартер в сборе - Starter Assy, Recoil (Df2.5:110001~ # ) | | под заказ | 7830 руб. |
| 1 | 18100-97JM0-000 | (актуальный код замены) Барабанный стартер в сборе - Starter Assy, Recoil | | 1 шт | 7830 руб. |
| 2 | 18120-97J00-000 | Барабан - Reel (Reel) | | 10 шт | 1800 руб. |
| 3 | 18130-97J00-000 | Храповик, установочный комплект - Ratchet Set (Комплект колес) | | 15 шт | 1110 руб. |
| 4 | 18142-04410-000 | Спиральная пружина - Spring, Spiral (Пружина) | | 3 шт | 2030 руб. |
| 5 | 18210-97J00-000 | Рукоятка Set - Grip Set (Набор зажимов) | | 2 шт | 1150 руб. |
| 6 | 99000-81157-50M | Шнур стартера 4 ммdia, 50m Role - Starter Rope 4mmdia, 50m Role (Opt l:50000->200 # ) (Канат) | | 1 шт | 17520 руб. |
| 7 | 18211-97J00-000 | Шкив стартера - Pulley, Starter (Pulley, starter) | | под заказ | 1380 руб. |
| 7 | 18211-97JL0-000 | Шкив стартера - Pulley, Starter (Df2.5:110001~ # ) (Pulley, starter) | | под заказ | 1380 руб. |
| 7 | 18211-97J00-000 | (актуальный код замены) Шкив стартера - Pulley, Starter | | под заказ | 1380 руб. |
| 8 | 01550-06207-000 | Болт - Bolt (Bolt # ) (Bolt (chrome)) | | 17 шт | 220 руб. |
| 9 | 01550-06357-000 | Болт - Bolt (Bolt, throttle lever no.2 # ) (Bolt) | | 9 шт | 210 руб. |
| 10 | 69711-93E10-000 | Наклейки, S.i.g.p. - Label, Sigp (Label, caution # Label, s.i.g.p; # ) (Наклейка предупреждающая) | | под заказ | 500 руб. |
| 10 | 69711-93E11-000 | (актуальный код замены) Наклейки (s.i.g.p.) - Label (s.i.g.p.) | | под заказ | 500 руб. |
| 11 | 61472-94J00-000 | Наклейки, Recoil, Стартер - Label, Recoil, Starter (Label, recoil starter) | | под заказ | 240 руб. |
| 11 | 61472-94J10-000 | Наклейки, Recoil, Стартер - Label, Recoil, Starter (Df2.5:012465~ # ) (Label, recoil starter) | | под заказ | 320 руб. |
| 11 | 61472-94J11-000 | (актуальный код замены) Наклейки, Recoil, Стартер - Label, Recoil, Starter | | под заказ | 320 руб. |
| 12 | 61493-97J00-000 | Наклейка - очистка - Label, Clearance (Model:09~ # ) (Label, clearance) | | под заказ | 210 руб. |
| 13 | 61494-97J00-000 | Наклейка - масло - Label, Oil (Model:09~ # ) (Label, oil) | | под заказ | 210 руб. |
Время выполнения запроса 0.72611498832703 сек. |
|