| |
 |
|
 |
Вернуться к выбору узлов мотора
ДЕТАЛИРОВКА ДЛЯ МОДЕЛИ: SUZUKI DF2.5S FROM 00252F-210001~
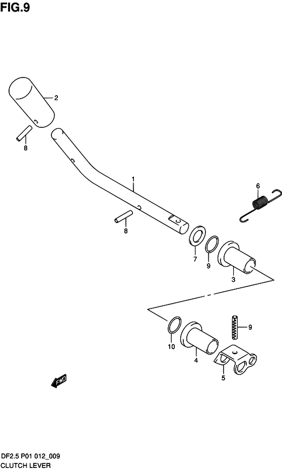
Рычаг сцепления
Код модели двигателя: DF2.5S
Год выпуска двигателя: 2012
Регион: General Export No.1/Indonesia ,Код региона: P01/P012
Цвет: Shadow Black Metallic
Номер на рисунке | Артикул | Наименование | QTY | Кол-во на складе | Цена |
| 1 | 21111-97J01-000 | Рычаг сцепления - Lever, Clutch (Рукоятка муфты) | | 1 шт | 1010 руб. |
| 2 | 21112-97J00-000 | Рукоятка рычага сцепления - Knob, Clutch Lever (Рукоятка муфты) | | под заказ | 300 руб. |
| 3 | 21221-97J00-000 | Втулка вала сцепления - Bush, Clutch Shaft (Втулка сцепления) | | 17 шт | 280 руб. |
| 4 | 21222-97J00-000 | Втулка вала сцепления №2 - Bush, Clutch Shaft No2 (Втулка вала муфты №2) | | 34 шт | 270 руб. |
| 5 | 23211-97J10-000 | Рукоятка тяги сцепления - Arm, Clutch Rod (Arm, clutch rod) | | под заказ | 280 руб. |
| 6 | 23213-97J00-000 | Пружина в паз сцепления - Spring, Clutch Notch (Пружина муфты) | | 7 шт | 190 руб. |
| 7 | 09160-08145-000 | Шайба (8x14x1.5) - Washer (8x14x15) (Washer (8x14x1.5) # ) (Шайба) | | под заказ | 210 руб. |
| 8 | 09205-03012-000 | Стопор пружины (3x16) - Pin, Spring (3x16) (Pin, gear # ) (Штифт L:16) | | 12 шт | 190 руб. |
| 9 | 09205-04002-000 | Стопор пружины (4x20) - Pin, Spring (4x20) (Pin, clutch lever # ) (Пружина) | | 48 шт | 150 руб. |
| 10 | 09280-08005-000 | Уплотнительное кольцо (d: 1.7, Id: 7.7) - O Ring (d:17, Id:77) (O ring (d:1.8, id:7.6) # ) (O ring) | | 45 шт | 160 руб. |
Время выполнения запроса 0.75110197067261 сек. |
|