| |
 |
|
 |
Вернуться к выбору узлов мотора
ДЕТАЛИРОВКА ДЛЯ МОДЕЛИ: SUZUKI DF2.5S FROM 00252F-310001~
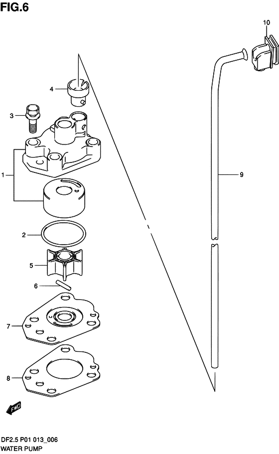
Водяной насос
Код модели двигателя: DF2.5S
Год выпуска двигателя: 2013
Регион: General Export No.1/General South East Asia ,Код региона: P01/P013
Цвет: Shadow Black Metallic
Номер на рисунке | Артикул | Наименование | QTY | Кол-во на складе | Цена |
| 1 | 17410-97JL0-000 | Корпус водяного насоса - Case, Water Pump | | под заказ | 1160 руб. |
| 1 | 17410-97JL1-000 | (актуальный код замены) Корпус водяного насоса - Case, Water Pump | | 13 шт | 1300 руб. |
| 1 | 17410-97JL1-000 | Корпус водяного насоса - Case, Water Pump (Case comp, water pump) | | 13 шт | 1300 руб. |
| 2 | 09280-33005-000 | Уплотнительное кольцо (d: 1.9, Id: 32.7) - O Ring (d:19, Id:327) (Seal, water pump case # ) (O ring) | | 55 шт | 270 руб. |
| 3 | 09116-06207-000 | Болт (6x30) - Bolt (6x30) | | под заказ | 210 руб. |
| 3 | 09116-06232-000 | (актуальный код замены) Болт (6x30) - Bolt (6x30) | | 6 шт | 270 руб. |
| 3 | 09116-06232-000 | Болт (6x30) - Bolt (6x30) (Bolt (6x30)) | | 6 шт | 270 руб. |
| 4 | 17415-97J00-000 | Пыльник корпуса водяного насоса - Grommet, Water Pump Case (Втулка водного насоса) | | 65 шт | 300 руб. |
| 5 | 17461-97JM0-000 | Крыльчатка водяного насоса - Impeller, Water Pump (Impeller, water pump) | | 43 шт | 2270 руб. |
| 6 | 09202-02006-000 | Штифт (2.9x14) - Pin (29x14) (Pin, pump case impeller # ) (Pin (2.9x14)) | | 22 шт | 190 руб. |
| 7 | 17471-97JL0-000 | Панель в нижней части корпуса помпы - Panel, Pump Case Under (Panel, pump case under) | | 17 шт | 690 руб. |
| 8 | 17472-97JL0-000 | Прокладка панели корпуса помпы - Gasket, Pump Case Panel (Gasket, pump case panel) | | 40 шт | 300 руб. |
| 9 | 17561-97JM0-000 | Водяная трубка (s) - Tube, Water (s) (Tube, water (s)) | | под заказ | 670 руб. |
| 10 | 17563-97J10-000 | Верхний пыльник водяной трубки - Grommet, Water Tube Upr (Grommet, water tube upper) | | 23 шт | 320 руб. |
Время выполнения запроса 1.1619880199432 сек. |
|