Купить комплектующие на двигатель SUZUKI DF4S/L - Water pump
вконтакте

Контактный телефон: +7 (981) 121-46-93, +7 (800) 200-90-76 , Email: parts-katalog@yandex.ru, где купить

 
 

  Логин:

Пароль:

Регистрация

www.partskatalog.ru Все каталоги Запчасти Mercury Запчасти Suzuki Запчасти Tohatsu Запчасти Honda Контакты

назад Раздел:   вперёд

Вернуться к выбору узлов мотора


ДЕТАЛИРОВКА ДЛЯ МОДЕЛИ: SUZUKI DF4L K2

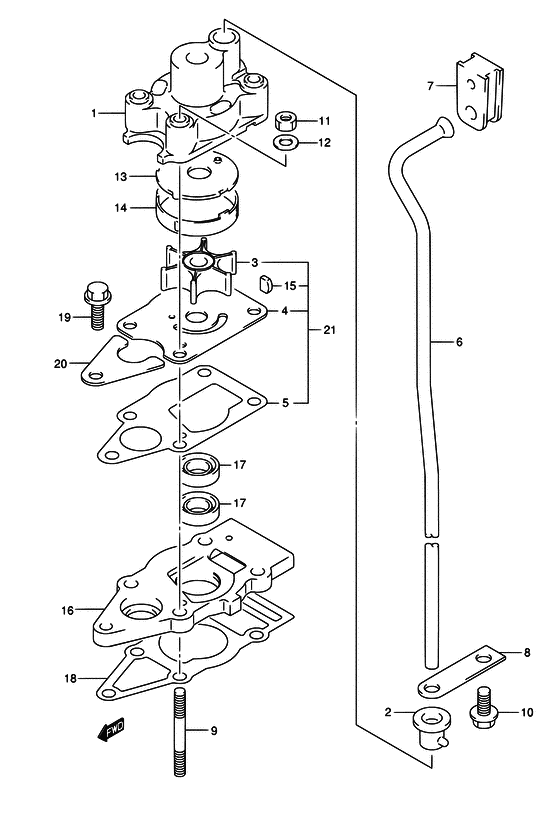
Водяной насос


Код модели двигателя: DF4S/L

Год выпуска двигателя: 2002

Цвет: Shadow Black Metallic

Номер на
рисунке
АртикулНаименованиеQTYКол-во
на складе
Цена
117410-91J00-000

Корпус водяного насоса - Case, Water Pump

под заказ2690 руб.
117410-91JL0-000

   (актуальный код замены) Корпус водяного насоса - Case, Water Pump

11 шт3290 руб.
117410-91JL0-000

Корпус водяного насоса - Case, Water Pump (Case, water pump)

11 шт3290 руб.
217415-98501-000

Пыльник корпуса водяного насоса - Grommet, Water Pump Case (Grommet, water pump # ) (Втулка)

24 шт260 руб.
317461-98503-000

Крыльчатка водяного насоса - Impeller, Water Pump

под заказ2030 руб.
317461-985M0-000

   (актуальный код замены) Крыльчатка водяного насоса - Impeller, Water Pump

39 шт2220 руб.
3SC-WT093

   (не оригинальный аналог) Крыльчатка помпы охлаждения двигателя Suzuki SC-WT093

под заказ950 руб.
317461-985M0-000

Крыльчатка водяного насоса - Impeller, Water Pump (Impeller, water pump)

39 шт2220 руб.
317461-985L0-000

Крыльчатка водяного насоса - Impeller, Water Pump (DF4:110001~ DF5:110001~ DF6:110001~ # )

под заказ2030 руб.
317461-985M0-000

   (актуальный код замены) Крыльчатка водяного насоса - Impeller, Water Pump

39 шт2220 руб.
317461-985M0-000

Крыльчатка водяного насоса - Impeller, Water Pump (Impeller, water pump)

39 шт2220 руб.
417471-98610-000

Панель в нижней части корпуса помпы - Panel, Pump Case Under (Пластина помпы, верхняя)

17 шт370 руб.
517472-91J00-000

Прокладка панели корпуса помпы - Gasket, Pump Case Panel (Прокладка панели)

23 шт300 руб.
617561-91J00-000

Водяная трубка (s) - Tube, Water (s)

под заказ850 руб.
617561-91JN0-000

   (актуальный код замены) Водяная трубка (s) - Tube, Water (s)

2 шт1030 руб.
617561-91JL0-000

Водяная трубка (s) - Tube, Water (s) (Tube, water (s))

под заказ850 руб.
617561-91JN0-000

   (актуальный код замены) Водяная трубка (s) - Tube, Water (s)

2 шт1030 руб.
617561-91J10-000

Водяная трубка (l) - Tube, Water (l)

под заказ1030 руб.
617561-91JP0-000

   (актуальный код замены) Водяная трубка (l) - Tube, Water (l)

под заказ1030 руб.
617561-91JM0-000

Водяная трубка (l) - Tube, Water (l) (Tube, water (l))

под заказ1030 руб.
617561-91JP0-000

   (актуальный код замены) Водяная трубка (l) - Tube, Water (l)

под заказ1030 руб.
717563-91J01-000

Верхний пыльник водяной трубки - Grommet, Water Tube Upr (Втулка водной трубы, верхняя)

14 шт450 руб.
817564-98600-000

Направляющая трубки водяного насоса - Guide, Water Tube (Направляющая водной трубы)

5 шт370 руб.
909108-06146-000

Болт под шпильку - Bolt, Stud (Болт)

12 шт540 руб.
1009116-06094-000

Болт (6x15) - Bolt (6x15) (Bolt (6x15) # ) (Болт 6X15)

20 шт270 руб.
1129141-93J00-000

Гайка - Nut (<-09140-06020 # ) (Гайка)

18 шт480 руб.
1209160-06082-000

Шайба (6.5x13x1.0) - Washer (65x13x10) (Washer # ) (Шайба)

6 шт150 руб.
1317412-91J00-000

Панель корпуса водяного насоса вышеr - Panel, Water Pump Case Upr

под заказ280 руб.
1317412-91JL0-000

   (актуальный код замены) Панель корпуса водяного насоса вышеr - Panel, Water Pump Case Upr

26 шт360 руб.
1317412-91JL0-000

Панель корпуса водяного насоса вышеr - Panel, Water Pump Case Upr (Panel, water pump case upper)

26 шт360 руб.
1417413-91J00-000

Рукав корпуса водяной помпы - Sleeve, Water Pump Case

под заказ430 руб.
1417413-91JL0-000

   (актуальный код замены) Рукав корпуса водяной помпы - Sleeve, Water Pump Case

34 шт480 руб.
1417413-91JL0-000

Рукав корпуса водяной помпы - Sleeve, Water Pump Case (Sleeve, water pump case)

34 шт480 руб.
1509420-03002-000

Ключ - Key (Ключ)

22 шт290 руб.
15SK09420-03002

   (не оригинальный аналог) Шпонка помпы охлаждения Skipper для Suzuki DF4-6, DF4A-6A

0 шт99 руб.
1656130-91J00-000

Корпус подшипника приводного вала - Housing, Drive Shaft Brg

под заказ3480 руб.
1656130-91J20-000

   (актуальный код замены) Корпус подшипника приводного вала - Housing, Drive Shaft Brg

под заказ3480 руб.
1656130-91J20-000

Корпус подшипника приводного вала - Housing, Drive Shaft Brg (Housing comp, drive sft brg)

под заказ3480 руб.
1656130-91J20-000

Корпус подшипника приводного вала - Housing, Drive Shaft Brg (MODEL:10~ # ) (Housing comp, drive sft brg)

под заказ3480 руб.
1709282-10008-000

Сальник (10x21x4.5) - Seal, Oil (10x21x45) (Seal, prop sft oil # ) (Валик)

710 шт430 руб.
17SC-OL038

   (не оригинальный аналог) Сальник редуктора Suzuki SC-OL038

под заказ220 руб.
1856132-91J00-000

Прокладка корпуса вала передачи - Gasket, Drive Shaft Housing (Прокладка вала)

26 шт280 руб.
18SM-56132-91J00-000

   (не оригинальный аналог) Прокладка SM-56132-91J00-000 корпуса вала передачи на Suzuki DF4 / DF5 / DF6

5 шт120 руб.
18SM-56132-91J00-000

  (аналог) Прокладка SM-56132-91J00-000 корпуса вала передачи на Suzuki DF4 / DF5 / DF6 - код 56132-91J00-000

 5 шт шт120 руб.
1909116-06121-000

Болт (6x25) - Bolt (6x25) (Bolt (6x25) # ) (Bolt)

19 шт260 руб.
2025215-98601-000

Стопор переключателя направляющей тяги - Stopper, Shift Rod Guide (Стопор направляющей)

3 шт280 руб.
2117400-98661-000

Ремкомплект водяного насоса - Kit, Water Pump Repair (Kit, water pump repaier # OPT # ) (Комплект водной помпы)

под заказ0 руб.
2117400-986L0-000

Ремкомплект водяного насоса - Kit, Water Pump Repair (DF4:110001~ DF5:110001~ DF6:110001~ # ) (Kit, water pump repair)

под заказ0 руб.
2117400-98661-000

   (актуальный код замены) Запчасть снята с производства - The Spare Part Is Laid Off

под заказ0 руб.


Время выполнения запроса 1.2116038799286 сек.

 
 

данный сайт носит информационный характер и не является публичной офертой

склад запчастей для водомоторной техники